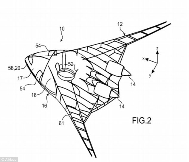
空客为一种不寻常的概念飞机申请专利,这种飞机被称为“飞行甜甜圈”。而飞机的外形看起来更像UFO或者《星际迷航》里的企业号。
乘客可以节约在空桥上排队等候进入飞机的时间,取而代之的是通过电梯和舱口登机。

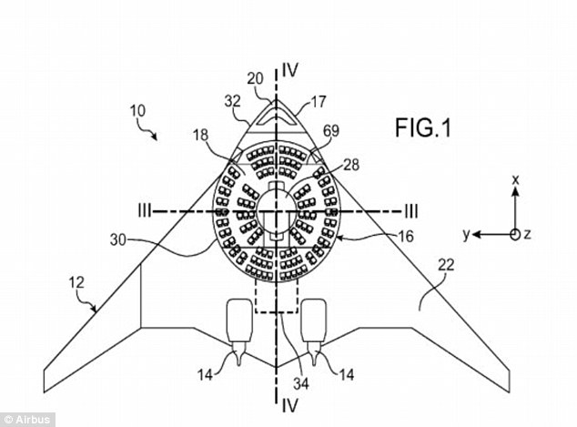
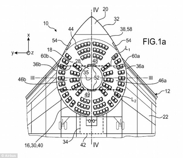
这款充满未来主义的飞机由圆形的座舱与环形的过道组成,座舱中间是空心的。这样的造型让飞机看起来像一个甜甜圈。
外环的座位属于经济型,内环座位则是商务型。


这款非传统型的、形状像隐形轰炸机的飞行器,非常的轻巧。但却为旅客创造出了更大的活动空间,这就解决了长期以来存在的座舱压力问题。再加上,圆形更容易缓解压力。这就意味着这种设计更加的经济和有效。
空客认为这种排布座位的方式还有其它好处:让乘客呈甜甜圈式的方式落座,能营造出轻松和谐的氛围,而不是跟以往一样乘客互相不打照面。

空客发言人Justin Dubon说,这种设计不会马上成为一种产品,还可能永远不会。每年空客公司都会申请超过600项专利,其中一些会激发其它创新的火花。
Dubon说:“反正公司里聪明的人很多,他们爱想就让他们想去吧!”
