网红糕点“鲍师傅”走出北京在上海人民广场开店后一夜爆红,然而,爆红后的“鲍师傅”创始人鲍才胜却从此陷入无尽的烦恼之中。
原来,早在2013年就申请注册了30类糕点商标的鲍师傅,其实全国正宗门店仅26家,其中北京仅13家(原有14家,地安门店支持市容改造已闭店)。
然而,一夜走红的鲍师傅引来了全国上千家“李鬼”店。近日,鲍师傅召开媒体见面会表示,北京易尚餐饮管理有限公司(下称“易尚餐饮”)打着“鲍师傅原创者”的旗号在全国到处招商加盟,有的区域收取加盟费甚至高达78万元。为了保护消费者、投资者以及鲍师傅自身的合法权益,鲍师傅全面启动维权打假,首当其冲就是在北京、南京、杭州三地起诉易尚餐饮,并且已经立案。
1、真正网红“鲍师傅”来自江西面包之乡
今年48岁的鲍才胜以前根本不愿意接受媒体采访,他说他更愿意将心思放在产品研发上,而如今实属无奈。他说,除了企业严重被侵权外,更重要的是,消费者被误导,合法权益被侵害;更多投资者也被骗。

鲍才胜向胡说有理介绍自己说:他本人来自江西有中国面包之乡称谓的江西资溪县。80年代就在江苏、河南、安徽等地开过面包坊。2004年和妻子彭艳丽到北京发展,在朝阳区传媒大学附近开了一家面包房,取名本人姓氏“鲍”字,创立了“鲍师傅”商标品牌,并首创了“肉松小贝”这一品类。在店面门头装潢上,自2004年开始时起就使用黄底红字的装潢形式装饰门店,黄底与红字相配颜色鲜艳夺目,能够引起消费者注意,“鲍师傅糕点”等名称用红字书写,寓意生意红红火火,店头招牌及店内商品展示、场地装潢、以及商品的包装为我们一直使用所特有,明显区别与其他同类商品商家。我们通过精良的烘培工艺、热情周到的服务,加上醒目的商品包装、门店装潢,使得“鲍师傅”糕点生意火爆,门店顾客络绎不绝。
“2008年我们把这家店盘出去了,我也是在这一年开始转型做窗口型的特色糕点店,当年在阜成门、雍和宫、长椿街三个地方开了‘鲍师傅’,并陆续研发出不同口味的肉松小贝、提子酥、枣糕、蛋黄酥等20多个品种。我们一直希望能将鲍师傅打造成百年老店。”
“鲍师傅糕点发展的第一个转折点是2013年初,北京电视台的美食地图节目对雍和宫店做了报道,更多的人认识了鲍师傅品牌”,鲍才胜说,从那时起,公司就逐步增加门店,但也是非常慢,主要是要对质量严格把控,到2014年在北京开出了12家门店后,开始走出北京到天津开店,没想到也非常火爆。于是在2017年鲍师傅开到上海人民广场,由于这个地理位置的特殊性,排队到地铁口,一夜之间“鲍师傅”成为“网红”。

据介绍,2013年4月,鲍才胜妻子彭艳丽在30类糕点类申请注册了“鲍师傅”商标,2014年9月获准注册;2015年5月,鲍才胜成立鲍才胜餐饮管理有限公司,第30类“鲍师傅”商标转让至鲍才胜公司名下。


2、全国正宗鲍师傅仅26家,可大众点评北京就能搜到269家
“一夜之间‘鲍师傅’被网红,我们也是喜忧参半”,鲍才胜说,仅仅一年时间,据公司法务方面初步统计,全国最少有1000家侵权店,“而鲍师傅在全国仅开了26家直营门店,其中北京目前只有13家是正宗的”。
胡说有理在大众点评搜索“鲍师傅”,结果有269家鲍师傅。孰真孰假,根本分不清。

“这些假冒‘鲍师傅’门店中,还有很多打出的招牌、字体和我们的一模一样,卖的产品品类也和我们差不多”,鲍才胜说,这样的门店在北京最起码有100多家,要说如何判断,消费者只能吃了后才能辨别出口味与真正的鲍师傅不同。

“其实,我们天津店火了之后,天津也出现了假冒鲍师傅,我们去年状告法庭,结果我们胜诉”,鲍才胜说,这次,公司将对北京易尚餐饮三地起诉,目前已经立案。
3、北京易尚被指盗取正宗门店照片,为其假冒店宣传招商
为何选择北京易尚作为维权打假的主要目标?
鲍师傅方面的律师周益霞说:随着各种打着“鲍师傅”名号的山寨店面不断涌现,其中以北京易尚侵权行为最为恶劣和彻底。该公司以制作人像、文字变体及非糕点类商品恶意抢注“鲍师傅”商标,盗取鲍师傅直营店图片等资料为自己宣传,并通过加盟模式迅速扩张,目前北京已有200余家假冒加盟店,对市场造成恶劣影响。
鲍才胜说:“为保证产品品质,我们从未开展加盟业务,但是北京易尚这家企业在全国大面积开展加盟,其在官网自我宣称是“北京、天津、上海的网红美食”,同时还号称自己是“鲍师傅原创者,速食糕点领先品牌”。

(上面截图来自北京易尚官网)
“更有甚者,北京易尚招商时用的就是鲍师傅上海人广店的图片,在其官网、微信公众号“鲍师傅总部”、微博里的店面排队宣传照片大量盗用我们鲍才胜公司‘鲍师傅’糕点北京西单店、上海人广店、天津鞍山西道等店面照片等”,鲍才胜说,鲍师傅上海店开业时,自己特地打了个条幅,条幅上留有咨询电话,这个电话也是自己公司员工的电话,没想到北京易尚在其官网微信公号“鲍师傅总部”发出的加盟招商信息直接盗用了上海门店的图片,连电话都是一模一样。这些欺骗投资人和消费者行为,在市场上对鲍才胜公司真正的“鲍师傅”已经造成极其不良的影响。

(上图为鲍才胜提供的鲍师傅进入上海人广店照片)

(上图为北京易尚微信公号“鲍师傅总部”发出的全国加盟招商信息中的宣传图,鲍才胜指其盗用了真正鲍师傅上海人广店图片)
4、北京易尚“鲍师傅”注册的到底是什么商标?
有意思的是,胡说有理拨打北京易尚餐饮官网公布的热线电话,其彩铃声直接这样说:欢迎致电全国鲍师傅运营总部,总部未设其他分布,其他均为假冒,请广大投资商认准正宗品牌,以防上当。
被鲍师傅真正创始人鲍才胜指称是假冒鲍师傅的北京易尚,却反过来称除了自己的“鲍师傅”外,其他都是假冒的鲍师傅。
那么这到底是不是“贼喊捉贼”呢?
在北京易尚官网上,其公布了注册号为“17899060”的商标注册证书,该商标为一个人物头像+“鲍师傅”三个字一起的组合商标。

对于这个注册商标,周益霞说:“北京易尚仅公布商标注册证一部分,并未公布商标注册 的品类,这完全是欺骗投资人”!
发布会现场,周益霞当着媒体记者的面通过国家商标局官网搜索显示,北京易尚上述17899060注册商标的品类为“啤酒、矿泉水、奶茶等”。

“北京易尚还在43类注册了‘鲍师傅’商标”,周益霞说,不过该品类为‘日间托儿所(看孩子)茶馆旅馆预订酒吧服务咖啡馆流动饮食供应养老院会议室出租餐馆餐厅’。

周益霞说,易尚在30类糕点类也注册了商标,不过根本就没有“鲍师傅”三个字,仅为图形而已。

周益霞同时展示鲍才胜餐饮公司于2013年申请注册的商标,胡说有理注意到,其注册的商标为30类糕点类的“鲍师傅”商标。

“《商标法》规定,注册商标的专用权以核准注册的商标和核定使用的商品为限。明确表明,北京易尚上述商标不能应用于糕点领域”,周益霞还向媒体表示,上述北京易尚拥有的三个商标,其实并非北京易尚注册,而是由一个名为“鲍海兵”的个人于2015年申请注册,直到2017年底,该商标转让给北京易尚。


胡说有理查询工商信息显示,北京易尚公司由个人孙修朝100%持股。目前尚不清楚孙修朝与鲍海兵有什么关系。
5、北京易尚工作人员承认鲍才胜是正宗鲍师傅
胡说有理拨打北京易尚官网公布的热线电话时,对于鲍才胜公司指北京易尚假冒侵权正宗鲍师傅门店的说法,一位女性工作人员一开始表示:他们(鲍才胜公司)是正宗的,但是他也不是唯一一家正宗的,我们也有(鲍师傅)商标注册,有30类、32类、43类的注册。
胡说有理询问,北京易尚的30类糕点注册并没有“鲍师傅”三个字,只是图形而已。该工作人员又表示,自己是招商部的,对商标不了解。胡说有理再询问:招商部对自己的商标都不了解,又如何跟投资加盟者说清楚真相呢?
该工作人员称,这得询问公司项目经理。胡说有理追问:能否提供项目经理联系方式。该工作人员直接挂了电话。
6、鲍才胜再爆料:北京易尚还恶意抢注“鲍才胜”、“金拱门”等
周益霞表示,北京易尚以上述32、43类商标开展糕点店招商加盟市场经营活动,在北京、山西等全国各地出现200多家所谓的“鲍师傅糕点店”,非常严重侵犯了北京鲍才胜餐饮管理有限公司“鲍师傅”注册商标专用权,导致鲍师傅在其他地方开店造成极大困扰,有消费者甚至认为李逵是李鬼了。
“更恶劣的是,北京易尚还在2017年恶意申请注册‘鲍才胜’、‘鲍师傅糕点’、‘鲍师傅小贝’等商标”,周益霞说,北京易尚的行为已经是恶意侵犯‘鲍师傅’注册商标专用权及鲍师傅创始人的姓名权。
胡说有理注意到,北京易尚于2017年3月申请注册“鲍才胜(繁体字)”加图形商标,但该申请已被国家商标局驳回。

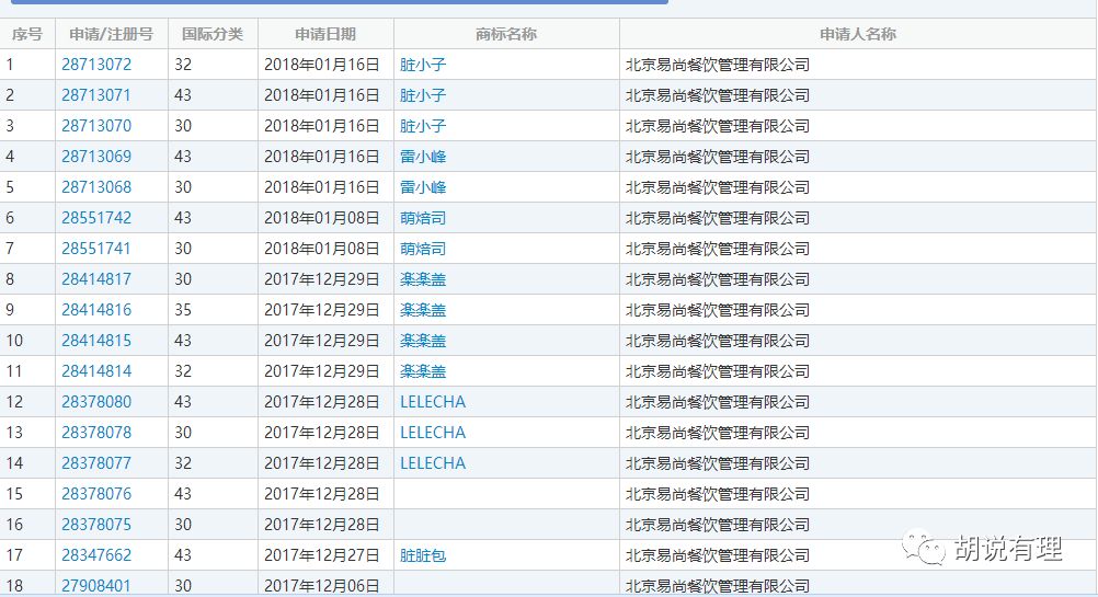
周益霞还向媒体展示了他们已公正的其他证据说:除了“鲍师傅”、“鲍才胜”商标外,北京易尚还大量恶意抄袭、摹仿、抢注其他知名餐饮企业商标、知名商品名称或美食剧名称,向商标局大规模恶意申请注册“沙县轻食”、“原麦丰秋”、“金拱门”、“GOLDEN ARCH”、“脏脏包”、“花间提壶方大厨”、“栗记”、“栗记仙豆糕”、“粤腊粤卤”、“萌焙司”等商标。



据了解,麦当劳中国更名为“金拱门中国”的消息于2017年10月份曝光,而胡说有理查询商标网信息发现,北京易尚于2017年11月3日就在29、30、32、35、43等类别都进行了“金拱门”申请注册。

“这一系列的事实进一步证实北京易尚主观恶意明显,不具备注册商标应有的正当性,属长期恶意注册、大量注册囤积商标、不正当占用公共资源、扰乱商标注册秩序的行为,其行径极其恶劣,依法应予以制止”。周益霞如此表示。
7、鲍师傅创始人公布正宗门店地址,全面启动维权
“北京易尚在全国范围内开展特许加盟店,合同约定特许经营加盟费人民币38~78万元不等,不明真实情况的消费者以及所谓加盟者,信以为真,纷纷被易尚餐饮公司挂羊头卖狗肉的行为所欺骗,目前已经有加盟商起诉其欺骗行为。”鲍才胜表示,鲍才胜公司也开始启动维权举措。
首先,鲍才胜餐饮管理公司也于今年正式上线了自己的官方微信公号“鲍师傅糕点”,公布了自己在全国真正26家门店的地址,其中北京13家,天津2家、上海5家,浙江1家,江苏2家,安徽1家,湖北、四川各1家店正在筹备中。


(上图为北京门店具体地点和联系电话)
“另外,对北京易尚恶意抢注鲍师傅相关商标,鲍师傅已经向中国国家工商行政管理总局商标局、商标评审委员会提出异议和和无效宣告申请”;鲍才胜表示,鲍师傅还已经向北京工商部门提出申请,联合对假冒鲍师傅糕点店进行执法,打击鲍师傅商标侵权行为。
而在法律诉讼方面,在天津已经赢得对假冒鲍师傅起诉官司的鲍师傅,已经向北京丰台法院提起诉讼,要求北京易尚餐饮管理有限公司立即停止涉案侵害鲍师傅商标权及不正当竞争行为,并做出相关赔偿;另外,在杭州、南京也有同类诉讼,并且均已受理立案。



