汇源通信(000586)未来的控制权,在农历新年后一下子充满了变数。
早前,上市公司控股股东广州蕙富骐骥投资合伙企业(有限合伙)(下称蕙富骐骥)的普通合伙人及其执行事务管理人,广州汇垠澳丰股权投资基金管理有限公司(下称汇垠澳丰)与北京鸿晓投资管理有限公司(下称北京鸿晓)之间的财产份额转让,因“内杠”尚未落地。此时二股东上海乐铮网络科技有限公司(下称乐铮网络)突然发声,“闪电”表态打算要约收购不少于总股本的15%,由此可能涉及公司控制权的变更。
界面新闻记者注意到,乐铮网络截至2017年三季度末持股6.63%,要约收购一旦成行,总持股比例将攀升至21.63%,届时将超越蕙富骐骥,确实将引起控制权的变数。
不过,乐铮网络表态后迟迟未有新进展,一度引起了监管层的留意。2018年2月11日深交所公司管理部对乐铮网络未及时编制并公告要约收购报告书摘要表示关注,并对乐铮网络收购能力提出了疑问(上市公司公告显示乐铮网络之前曾表示收购资金来源于自有资金,但后来又表示正在洽谈资金安排)。
为此,乐铮网络做了相应回复,称自己及一致行动人正在积极准备要约收购相关事项,尚在与部分相关方协商洽谈签署《上海乐铮网络科技有限公司及其一致行动人之关于四川汇源光通信股份有限公司的预受要约协议书》,协议约定拟预受要约向乐铮网络及一致行动人转让标的股份的条件均与届时本次要约收购之要约收购报告书中的收购条件一致。至于洽谈资金的说法,乐铮网络表示系与一致行动人进行洽谈的是本次要约收购的整体资金安排、比例。
在公告中,乐铮网络一直强调正与自己的一致行动人在商议中,但其一致行动人的身份始终没有言明,直到2018年2月22日。

2018年2月22日,汇源通信发布了节后第一份公告,当中显示,乐铮网络一致行动人已与相关预受要约方签署88份预受要约协议书,涉及预受股份共计2508.3713万股,相关协商洽谈还在继续进行中(按照15%的比例计算,要约收购股份数量应不低于2901.6万股)。
与此同时,乐铮网络还称在2018年2月15日与安徽鸿旭新能源汽车有限公司(下称安徽鸿旭)签署《一致行动协议》,约定乐铮网络作为安徽鸿旭的一致行动人进行汇源通信控股权收购,双方同意在收购过程中及获得汇源通信控股权后在汇源通信决策性事务上保持积极合作,在做出对汇源通信相关的决策时事先进行协商并保持一致意见。如双方在事先共同协商的过程中不能达成一致意见,以安徽鸿旭的意见为准行使提案权及表决权。也就是说,本次要约收购的收购人为安徽鸿旭及乐铮网络,收购主体为安徽鸿旭,拟要约收购的股份占汇源通信全部股本比例不少于15%,要约收购价格为不超过21.5元/股。
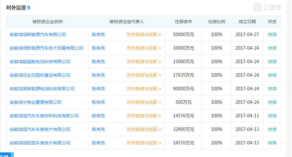
从最新情况看起来,这个安徽鸿旭将会是左右汇源通信要约收购,乃至左右新东家的重要因素。那么这是一家什么样的公司呢?界面新闻记者通过企查查看到,实际上安徽鸿旭成立于2017年4月27日,成立时间还不足1年,注册资本5亿元,由无锡市鸿旭投资管理有限公司(下称无锡鸿旭)100%持股,无锡鸿旭又是由张兢持股99%,朱骏秋持股1%。无锡鸿旭则成立于2015年12月22日,注册资本2亿元。无锡鸿旭旗下除了安徽鸿旭之外,尚还有其他投资,涉足汽车、电池、物业、园林等领域。


安徽鸿旭相关工商资料:

无锡鸿旭相关工商材料:


另一方面,除了要约收购结论待定之外,据汇源通信2018年2月7日公告称,北京鸿晓将继续与珠海泓沛全体有限合伙人协商,争取达成一致意见。
北京鸿晓将在回复签署之日起10个工作日内再次提请召开珠海泓沛合伙人会议对受让事项进行表决,并按表决结果进行披露(珠海泓沛系珠海横琴泓沛股权投资基金(有限合伙)简称,为蕙富骐骥出资方之一(LP),出资份额为2.035亿元,之前提到的“内杠”就是因为珠海泓沛全体合伙人大会上,与会各方未能达成一致意见所致)。而如果上述会议重新召开并有了结果之后,蕙富骐骥是否会眼睁睁看着自己的持股地位被二股东反超,仍然是谜。
汇源通信2月22日涨停收盘,收报16.76元,全天成交3299万元。值得注意的是,该股分时图走势断裂不流畅,与庄股相似。

