文 | 赵阳戈
编辑 | 张云
华测检测(300012)与持股51%的子公司杭州华测瑞欧科技有限公司(下称华测瑞欧)之间的矛盾甚嚣尘上。
从去年3月华测检测对华测瑞欧各种经营数据的失控开始,两家公司的矛盾点主要集中在三个方面,其中最重要的一条就是“损害公司利益”。界面新闻记者了解到,在已然无法相融下,双方就问题及解决方式各有说法。
华测检测副总裁兼董秘陈砚告诉界面新闻记者,一切都按流程来,法律诉讼需要时间。
而华测瑞欧创始人、目前持股25%的丁勇则认为,“不管怎么讲,(大家)股东的身份是没有改变的,互相对峙下去对双方都不利,也对员工不利。事情发生也一年了,还是需要坐下来以谈来解决问题,解决的思路就是在双方都接受的相同条件下做股权交易,一方进一方退。”
双方互怼损害子公司利益

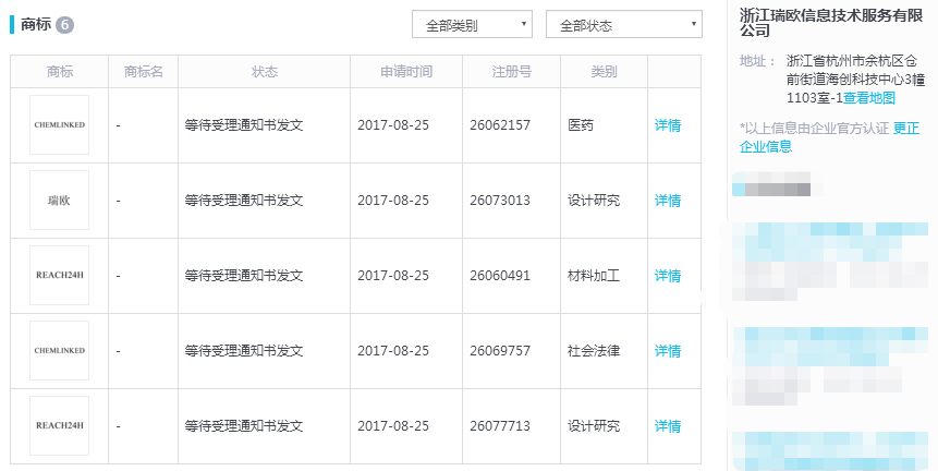
华测检测多次在公告中痛斥华测瑞欧损害上市公司利益。这其中最主要的焦点集中在一家新成立的名为“浙江瑞欧信息技术服务有限公司”(下称浙江瑞欧)的身上,该公司与华测瑞欧有诸多信息上的交错。
界面新闻记者通过企查查看到,浙江瑞欧成立于2017年6月14日,注册资本1000万元,法定代表人杨帅,注册地址为浙江省杭州市余杭区仓前街道海创科技中心3幢1103室-1;股东方面杨帅持股39.6%,李炀持股31%,吴汝旭持股29.4%。


华测检测认为,华测瑞欧的注册办公地址为浙江省杭州市余杭区仓前街道文一西路1288号海创科技中心3号楼14层,浙江瑞欧非常“巧合”地与华测瑞欧相距不远。华测检测自身也做了调查,按照其说法,经向政府相关部门询问,对于此类重名的企业名称预核准,除非是经过原公司的认可,否则是不予通过的。所以华测检测对这家浙江瑞欧的出现产生了怀疑。
2017年8月25日,浙江瑞欧提交了“CHEMLINKED”(医药类,商标注册号26062157)、“瑞欧”(设计研究类,商标注册号26073013)、“REACH24H”(材料加工类,商标注册号26060491)、“CHEMLINKED”(社会法律类,商标注册号26069757)、“REACH24H”(设计研究类,商标注册号26077713)、“CHEMLINKED”(科学仪器类,商标注册号26070605)六个商标的注册申请。界面新闻记者在启信宝中确实看到浙江瑞欧有上述六个商标类知识产权,商标申请的当前状态目前均为“等待受理通知书发文(2017年9月26日)”。


界面新闻记者也查了华测瑞欧的知识产权,该公司只有一个注册商标“REACH24H”,商标名“REACH 24H GROUP CONSULTING”,状态为“驳回复审评审实审裁文发文”,申请时间为“2014年4月24日”,类别为“广告销售”。虽然英文字母组成上,颇为雷同,但两家公司商标申请的类别却并不重复。

据华测检测描述,上市公司曾派人与华测瑞欧总经理陈建进行工作交接,在交接过程中,从陈建使用的办公电脑里面发现了其详细的将华测瑞欧业务资源、资产、人力资源通过分批分项的方式转移到自己等其他自然人持有,并由他人名义代持浙江瑞欧,意图通过设备更换、发票报销、周年庆活动、合同外包、办公场地装饰等形式,甚至计划故意签署有漏洞的合同,用不到三年的时间,逐步进行资产(包括无形资产)、资金以及员工转移、迁移,甚至办公场地转换,以达到转移公司资产的目的。
对此,华测检测的董秘陈砚告诉界面新闻记者,浙江瑞欧疑点很多,第一名字太过相似,尤其在同一辖区;第二注册商标与华测瑞欧使用最多客户最熟识的商标很相似;第三注册地非常近;第四此前从陈建电脑中看到有转移资产的相关计划,涉及方式方法,其中提到了浙江瑞欧作为新平台,以及股份代持的相关协会。“这些情况自然会有相关部门去查证核实,资料目前不方便透露和公开,但确实我们是有线索的才会有此疑问的。”陈砚表示。
面对华测检测的指责公告,华测瑞欧一方也并不示弱。
界面新闻记者拿到了一份据称为华测瑞欧除华测检测之外的股东联名所作,内容直指华测检测发布不实公告等情况,并向证监会提交的举报材料,签字人系陈建、丁勇、魏文峰等华测瑞欧的股东。
材料当中提到:“深圳华测公司董秘兼瑞欧公司董事陈砚、副总裁周璐、投资与法务部经理魏红多次唆使瑞欧员工,以员工入股为条件,教唆瑞欧公司总经理及中层管理人员以及业务骨干带着瑞欧公司项目,和深圳华测公司共同成立由深圳华测公司控股2/3以上的公司,开展独立运营。”
对此浙江瑞欧方的签字人丁勇告诉记者:“陈建告诉我说不知道这事,他的电脑被抢走,我们也向华测检测要过相关线索,但他们没有出示过证据。”丁勇表示,作为股东最关心的是华测瑞欧的资产到底有没有被转移,以及被转移到哪里,然后才有必要探究和谁相关。华测瑞欧做的是B2B业务,是要同客户单位一对一谈的,单一个商标不会影响业务,更重要的知识产权是专利,是华测瑞欧的核心资产。
而说起转移资产,丁勇告诉记者称,华测检测的人曾在华测瑞欧推行创新制度,即要瑞欧的员工拿着业务去华测检测持股比例2/3的新设公司去开展业务,此举无疑有损股东利益。“这事是周璐在华测瑞欧中高层内部会议里面提的,这之后的董事会我曾质问过他。”丁勇表示。
暴露公司治理问题
除了在损害利益的说辞上互不相让之外,双方交锋中所暴露出的公司治理问题,也不禁令投资者担忧。
先是华测检测。据该公司2017年12月19日披露的公告称,华测瑞欧总经理陈建有将公司委派的财务负责人以强制休假的理由,强缴电脑、财务章、银行U‐KEY等物;由此陈建可独揽公司的营业执照、公章、财务章、银行支付工具等,并拒绝向上市公司提供财务数据。
这之后,华测检测还提请过召开华测瑞欧董事会要求罢免陈建总经理职务,但陈建拒绝执行董事会决议。另外,华测检测称,陈建还存在篡改股东会决议等文件的行为,将公司章程修正案中公司经营范围变更内容擅自更改为董事会成员选举办法的变更。
关于上述情形,界面新闻记者在2017年12月20日华测瑞欧的“郑重声明”中,则看到了另一个版本。该声明描述,之所以惩戒财务经理王燕(上述上市公司委派的财务负责人),系因王燕长期旷工。至于提供财务数据的问题,声明描述,截至2017年12月20日,华测检测从未向华测瑞欧公司索要过2017年财务数据,因此也不存在拒绝提供一说。声明顺带还“捅了一下娄子”表示华测检测2017年半年报中,出现的华测瑞欧公司的营业收入、净利润等数据,其真实性和可靠性成疑。关于罢免一事,华测瑞欧董事会成员丁勇、魏文峰明确表示了反对,按照公司章程未达有效票数,所以相关决议是无效的,这也无从谈及陈建不执行董事会决议的行为。
按照声明的说法,2017年以来华测检测多次带领不明身份人员冲击华测瑞欧公司,抢夺证章、殴打员工、破坏财物等。2017年12月13日,华测检测副总裁兼董秘陈砚、副总裁周璐、副总裁兼财务负责人王皓及华测检测上海总经理陈骞带领数十名不明身份人员强行进入华测瑞欧公司,殴打陈建并限制多人的人身自由,蓄意破坏公司监控记录设施设备系统,连续数日滞留公司,干扰了公司正常经营。该事件公安机关已立案调查。
而另一厢,华测检测也曾早于2017年4月27日就向杭州市余杭区人民法院进行过相关起诉,根据华测检测的公告也看到,上市公司方面在积极收集更多的相关证据,已配合当地警方。
针对上述情况,陈砚并不认可类似暴力治理的说法。他称,2017年上半年华测检测曾召开股东会董事会罢免陈建总经理一职,也选了新的董事会,但陈建拒绝交接,华测检测的人去也是给自己维权。“我们确实先开了董事会要求罢免陈建,但有两位董事没有投票,那一次是没有通过的。后来我们重新召开了股东大会,改选了董事会,新的董事会也形成了决议,把陈建罢免了,目前陈建方面就此事向法院提起诉讼,案件在审理当中。”陈砚表示。
丁勇进一步表示:“罢免陈建不成之后,他们自己开股东会重选董事,且5个都是华测检测的人,把5个席位都要拿走。”华测检测51%股权有董事会的3席,自己和另一位股东魏文峰持股比例也不算低,分别为25%和20%,也该有席位,但华测检测想把董事会席位都拿走,侵害了股东的权益。
一方说有效一方表示无效,目前此事已经交由法院来判断裁决。而12月13日那次所谓“交接”,华测检测带了三四十人,过程中限制了陈建的人身自由,还带了手套拿东西,机房监控的硬盘也被带走,不过华测瑞欧表示监控有录多几份,目前相关证据也都交给了公安局。
至于王燕,丁勇称,王燕脱岗一个来月,一直在华测检测的华安子公司做事,叫她回公司也不回,所以当时给她的处置是停职留薪。丁勇表示,王燕之前是苏州华测上班,辞掉后到了华测瑞欧,但是王燕至始至终都没有拿到董事会批准的财务负责人一职,“她并没有(财务负责人)这个身份,不然总经理不能对她进行直接处置,是要报董事会的,同时当时也没有对其开除,我认为这个处置合情合理”。



华测检测陷财务数据疑云
神仙打架,凡人遭殃。华测检测与子公司之间的缠斗,最直接的影响就是投资者们难以窥见最真实的数据。
由于华测检测对华测瑞欧的管理失控,如今该公司几份定期报告经过并表的财务数据,可靠性也成疑。
陈砚告诉界面新闻记者,华测瑞欧一直以来都使用的是华测检测的财务系统,所以在系统里能看到2017年1月和2月的数据,但华测瑞欧后来换了财务系统,后续数据就看不到了,这个在定期报告中也做了说明,“年报的话,如果我们还是没有办法进行正常的审计,那么审计师该怎么调整就怎么调整,做相应的计提”。
华测检测2017年半年报中描述:“由于公司与持股51%的控股子公司杭州华测瑞欧科技有限公司的小股东在公司发展理念和规范化管理上存在分岐并产生了纠纷,个别经营管理者拒不执行两会(董事会及股东会)关于更替经营管理者的决议,公司目前暂无法取得瑞欧公司的报表。”
在2017年半年报里,华测检测披露的华测瑞欧的营业收入和净利润分别为1807.09万元和380.59万元,2016年上半年的两个数据分别为3281.48万元和60.57万元。2016年年报中,华测瑞欧的营业收入和净利润分别为7845.81万元和514.4万元,年报中针对两者的特殊关系,也有一句提醒即“本公司与持股51%的控股子公司杭州华测瑞欧科技有限公司的小股东在公司发展战略及经营管理理念上存在分岐并产生了纠纷,本公司正在采取法律诉讼途径解决”。
丁勇表示,自从和华测检测关系紧张之后,华测瑞欧方面需要华测检测出公函以申要数据,“口头要没用,我们要认公函,但事实上华测检测方面只以公函的形式要过2016年的数据,2017年就没有了。”丁勇称在华测瑞欧系统里有相关的经营数据,但现在也都是没法审计的状态,因为有大量原始凭证被华测检测拿走,无法进行正常审计。
如果是因为子公司和母公司之间的内斗而导致财务数据失准,还算是在情理之中,但在华测瑞欧陈建、丁勇等股东看来,却不是这么回事。这些股东称,“在处理瑞欧公司员工王燕违反劳动纪律事宜时,在王燕的工作电脑中发现深圳华测公司全资子公司杭州华安公司存在可能大量假账的线索。”
公开资料显示,上述的杭州华安公司全称杭州华安无损检测技术有限公司,于2015年初被华测检测全资收购,以试水工程技术领域。华安公司当时还带着业绩承诺,即2014年至2016年的扣非净利润不低于1920万元、2304万元、2650万元。
但实际情况是,2014年,华安检测实现扣非归母净利润1947.28万,顺利完成;2015年,扣非净利润为2038万元,存在差距,业绩完成率88.45%;2016年,华安检测亏损246万元,与承诺的2650万元扣非净利相距甚远。
当然,华测检测与华测瑞欧一再地缠斗,对各方来说都是不利的,事件如何解决才是关键。
丁勇告诉界面新闻记者,目前双方沟通还是有进展的。“反正双方已难相处,最好在相同条件下做股权交易,谁出价高谁拿下股权,另一方就清清爽爽退出。”丁勇说。
