12月15日下午,数字资产服务商OKEX确认了之前的传闻,宣布完成新一轮数千万美元融资,投资方来自史玉柱创立的巨人网络集团、王亚伟创立的千合资本、艺龙旅行网创始人唐越、美图公司董事长蔡文胜创立的隆岭资本,早期投资方策源创投等进行了跟投。
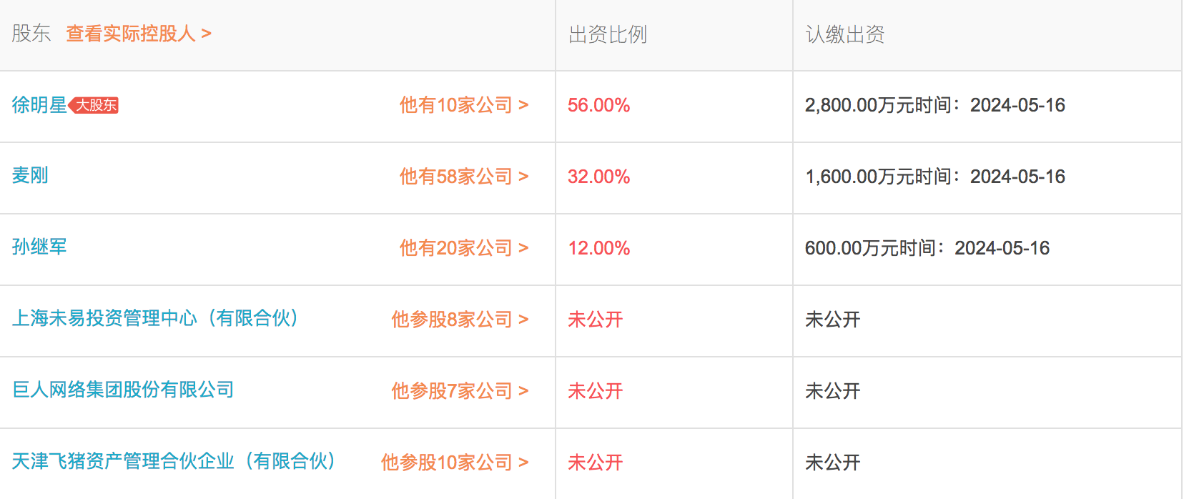
通过工商信息查询发现,北京欧凯联创网络科技有限公司在2017年10月31日发生股权变更,新增三位法人股东,其中之一即为巨人网络集团股份有限公司,但无法看出其目前的股权占比。
新融资后,OKEX将加大产品、技术、服务的投入,推出创新产品,预计在未来3个月内,OKEX将完成平台技术架构的重大升级,同时OKEX透露,在全球各国申请数字资产交易牌照方面已取得实质性进展。
根据OKEX官网(www.okex.com)的介绍,OKEx是全球数字资产交易平台之一,主要面向全球用户提供比特币、莱特币、以太币等数字资产的现货和衍生品交易服务,隶属于OKEx Technology Company Limited。
实际上,OKEX是基于国内知名虚拟货币交易平台OKCoin国际站(www.okcoin.com)基础上打造的数字资产合约服务交易平台,可进行虚拟货币的币币交易和加杠杆的期货交易。OKEx在杠杆交易和套期保值两项功能中,实现了数字资产之间自由转换,用户可以直接用比特币兑换同等金额的莱特币、ETH。
OKCoin国际站曾在今年5月发布公告表示,启用OKEX作为全新的虚拟资产合约交易品牌。

为了给您提供更好的产品和服务,同时出于OKCoin美元站申请多国牌照需要,OKCoin国际将于2017年5月30日14:00-17:00进行合约交易品牌升级。
升级后,我们将启用OKEX作为全新的虚拟资产合约交易品牌,请各位用户访问www.okex.com交易虚拟合约。
OKCoin国际站专注于美元、日元、韩元、欧元等交易数字资产的服务型产品,但并没有人民币。
OKEX表示,OKCion币行(www.okcoin.cn)曾经是中国最大的人民币对比特币交易平台之一,与OKEX是完全独立的两家公司和团队,今年10月应中国内地监管要求,OKCion币行已经完成客户资产的清退,并且转型为一家区块链技术研发的公司。
OKEX,和OKCoin国际站,OKCion币行,三个网站从设计上都是类似的。不过OKEX,和OKCoin国际站,团队介绍完全一致,CEO均为李书沸。而OKCion币行则完全是不同的团队,CEO显示为徐明星。
OKEX,和OKCoin国际站,注册地址不同,但联系地址一致,都在香港,而OKCion币行则在北京。
此前界面新闻曾报道,OKCoin旗下交易所现大量账户被盗,用户称损失已过千万。OKEX客服对该客户的回复是:黑客所为,被盗案件与平台无关,受害人可自行报警。
之后对华尔街见闻回应表示,“OKCoin中国站币行,国际站以及OKEx分别是不同运营公司负责运营的三个独立主体,没有从属关系,只有合作关系。”
OKEX,和OKCoin国际站,OKCion币行三个官网均介绍,“OKCoin已获得策源创投、曼图资本、创业工场、Tim Draper、 蔡文胜、蒋涛等风险投资基金和个人1000万美金的A轮投资。”
Tim Draper曾是Hotmail、百度、特斯拉的投资人,是一位坚定的比特币信仰者和支持者,创业工场是其参与共同发起成立的中国孵化器。
而史玉柱投资OKEX也并不意外,他也是一位看好比特币前景的投资人。
今年9月4日,中国监管层下达禁止ICO(首次代币发行)和比特币交易的监管通知。
9月9日,史玉柱曾在微博上发文力挺比特币表示:“不该过分妖魔化比特币,大家看不懂的东西不一定都是坏东西。比特币交易环节如果存在违法,就该猛烈打击非法交易,不该取缔比特币交易。即使不准中国人拥有比特币,外国人仍会继续持有的,甚至将来有些国家政府的外汇储备可能会配置比特币。比特币基于的区块链技术,将来会深刻改变金融等领域,进入每个人的生活。”
OKEX在官网上写道,“我们信仰比特币和区块链的核心思想,认为分布式账本和智能合约技术将构建人类的信任基础,消除交易壁垒,提升交易效率,对人类的实体经济产生重大的影响。”
继中国之后,各国监管层也在逐步出台数字货币相应监管政策。近日,韩国政府召集相关部门官员研讨规范韩国虚拟货币交易问题。
今年10月初到11月末,比特币交易价从4300美元左右涨破1万美元,翻了两倍多,本月还曾升破1.7万美元。
