文 | 唐学菲
继去年1年完成3轮融资后,合肥零次方机器人有限公司(以下简称“零次方机器人”)再获最新融资。
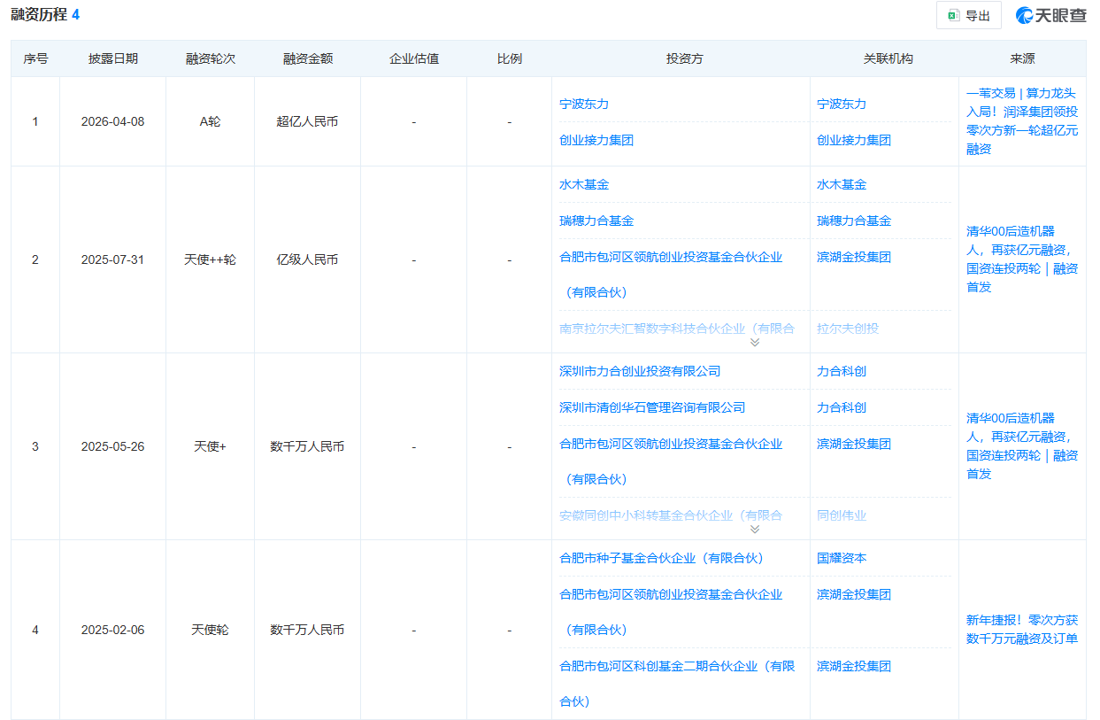
4月9日,零次方机器人官微宣布,近日,公司完成最新一轮超亿元融资,算力头部企业润泽集团领投,宁波东力、接力天使、平湖泽新跟投。
“国资+基金+企业” 创立1年多融资4次
根据公司官网信息,零次方机器人,成立于2025年1月,由清华大学AI&Robot实验室核心成员闵宇恒、程颐等00后极客共同创办。
截至目前,零次方机器人官微公开信息显示,公司已实现具身操作基础模型突破,机器人单月稳定量产百台,并与华润万家、润泽集团、商汤集团等多家头部企业达成战略合作。

与此同时,公司自成立以来频获资本“青睐”。根据天眼查App,截至目前,零次方机器人已完成4轮融资,合肥国资+基金+行业龙头企业纷纷“押注”。
2025年2月,公司完成数千万元天使轮融资,投资方包括:合肥市种子基金合伙企业(有限合伙)、合肥市包河区领航创业投资基金合伙企业(有限合伙)、合肥市包河区科创基金二期合伙企业(有限合伙)等。
2025年5月,公司完成数千万元天使+投资,投资方包括:深圳市力合创业投资有限公司、深圳市清创华石管理咨询有限公司、合肥市包河区领航创业投资基金合伙企业(有限合伙)、安徽同创中小科转基金合伙企业(有限合伙)等。
2025年7月,公司完成数亿元天使++投资,投资方包括:水木基金、瑞穗力合基金、合肥市包河区领航创业投资基金合伙企业(有限合伙)、南京拉尔夫汇智数字科技合伙企业(有限合伙)、合肥市包河区科创基金二期合伙企业(有限合伙)等。
2026年4月,公司完成超亿元融资,投资方包括:润泽集团、宁波东力、接力天使、平湖泽新等。
具身智能赛道融资火爆 机遇与风险并存
开年以来,国内具身智能赛道融资持续火热。
据数智前线从天眼查App、企查查等渠道不完全统计,2026年Q1,具身智能领域融资保守估计总额超300亿元,披露的融资事件至少210起,涉及大脑算法、小脑控制、机器人本体、灵巧手、训练数据、垂直落地场景等全产业链细分赛道的193家企业。
而赛道融资火爆的同时,产能内卷、同质化竞争、技术落地故障率高等问题也逐渐浮出水面。2025年11月27日,国家发展改革委政策研究室副主任李超在新闻发布会上首次就人形机器人行业提示风险,直言需防范“重复度高的产品‘扎堆’上市、研发空间被压缩”等问题。
此次零次方机器人获得最新融资,值得探讨的是,一方面,不同于此前几次融资多为单纯资金层面的财务投资,这一轮正式引入了相关行业头部企业,实现从“找钱”到“找合作”的资本逻辑转变。
润泽集团,公开官网显示,是国内AIDC上市企业,为字节跳动核心算力供应商。宁波东力,公司官网显示,是国内减速机行业龙头企业之一,近年来正向机器人精密减速器领域延伸。
另一方面,算力与减速器的产业链加持,固然为具身智能的商业化提供了双轮驱动,但跨行业协同的复杂度较高,算力供给与硬件制造之间的节奏匹配、技术路线的兼容性,以及实际商业场景中的运维成本控制,同样面临不容忽视的现实挑战。
