文|迈点
据迈点不完全统计,2026年1月,共有77家酒店拍卖,其中拍卖价格在亿元以上酒店28家,拍卖价格在5000万元-1亿元酒店11家,拍卖价格5000万元以下38家。截至发稿,有8家酒店项目成交。
拍卖价格亿元以上酒店
01海棠湾稀缺地块+五星酒店
拍卖价格 28.5亿元
酒店地点 海南省 三亚市 海棠区
拍卖状态 已流拍
据阿里法拍网显示,标的物位于三亚市海棠区海棠北路(距免税城5公里/机场40分钟车程),一线临海地块,占地19万㎡,容积率极低,具重建升值潜力,同时拥有总长度500米私人海滩、500间客房+100套别墅、园林16万㎡。酒店于2022-2023年投入超4000万元升级(已完工),翻新后入住率/房价倍增,其最佳年净利润为2018年/5000万元,翻新后,年净利润2000万元。
02四川世纪百合置业世纪百合一期A区地上部分资产
拍卖价格 5.64亿元
酒店地点 四川省 成都市 武侯区
拍卖状态 已流拍
据阿里法拍网显示,本次拍卖标的物为四川世纪百合置业发展有限责任公司名下世纪百合一期A区地上部分,建成于2015年,其中地上部分已办理不动产权证书,部分资产处于出租状态,本次拍卖为带租拍卖。资产整体已抵押给攀枝花银行成都支行,且债权已转让给四川发展资产管理有限公司。
03铂翠湾世茂希尔顿酒店
拍卖价格 4.83亿元
酒店地点 湖南省 长沙市 岳麓区
拍卖状态 已流拍
据阿里法拍网显示,拍品名称为位于湖南省长沙市岳麓区潇湘北路三段1100号铂翠湾世茂希尔顿酒店101的房地产,建筑面积为44439.46㎡,精装修后作为世茂希尔顿酒店经营使用中,标的有查封有抵押。
04泉岭名邸酒店
拍卖价格 4.54亿元
酒店地点 浙江省 温州市 瑞安市
拍卖状态 已流拍
据阿里法拍网显示,标的名称为浙江恒晟文旅发展有限公司名下的“泉岭名邸”住宅项目、“泉岭名邸酒店”项目的土地使用权及其在建工程,土地使用经营权及小部分通用设备。03-02地块的泉岭名邸酒店项目,已结顶,仅完成土建部分建设,内部为毛坯未装修状态。酒店4幢,总建筑面积43,487.88㎡,地上部分面积合计29,896.38㎡。标的有抵押有查封,项目中存在局部山体滑坡的风险。
05武汉富力万达嘉华酒店
拍卖价格 4.24亿元
酒店地点 湖北省 武汉市 武昌区
拍卖状态 已流拍
据阿里法拍网显示,标的物名称为武汉市武昌区水果湖街东湖路105号武汉中央文化旅游区K3-2地块5栋/单元1-21层商1号,标的物所有人为武汉万富酒店管理有限公司。房屋规划用途为商业服务(酒店),土地使用年限至2052年10月18日止,总层数21层,所在层数1-21层。
06中南海景花园南区66栋(G区酒店)建筑物
拍卖价格 3.51亿元
酒店地点 海南省 文昌市 清澜开发区
拍卖状态 已流拍
据阿里法拍网显示,拍卖标的为拍卖标的为海南省文昌中南房地产开发有限公司名下琼(2022)文昌市不动产权第0015574号、琼(2020)文昌市不动产权第0009252号不动产及地上附着物一宗。起拍价351651213.44元,保证金30000000元,增价幅度2000000元及其整倍数。
07万达广场二期酒店
拍卖价格 3.42亿元
酒店地点 内蒙古呼和浩特 赛罕区
拍卖状态 已流拍
据京东法拍网显示,标的物所在建筑名称为富力万达文华酒店,处置参考价489206490元,起拍价342444543元,保证金34244454元,加价幅度1712222元及其倍数。土地使用年限至2049年4月26日止,查册记载总层数21层,所在层-2至19层。
08龙门富力希尔顿度假酒店
拍卖价格 2.84亿元
酒店地点 广东省 惠州市 龙门县
拍卖状态 已流拍
据京东法拍网显示,标的物名称为龙门县永汉镇龙门富力南昆山温泉养生谷S区希尔顿酒店的不动产及地上建(构)筑物和地上苗木,宗地面积56314.67平方米,有查封有抵押。经核查,龙门富力房地产开发有限公司名下位于龙门县永汉镇龙门富力南昆山温泉养生谷S区希尔顿酒店欠缴城镇土地使用税70243.8元,房产税2777126.4元。
09世茂成都茂御酒店
拍卖价格 2.63亿元
酒店地点 四川省 成都市 成华区
拍卖状态 已流拍
据京东法拍网显示,标的名称为成都市成华区猛追湾横街99号1栋4层1号房屋(酒店4至6,32至43层)及用于酒店经营的动产,规划用途为酒店,建筑面积为33310.01㎡。拍卖标的第5层已出租给成都市骏宁健身有限公司使用,租期自2024年2月1日至2027年1月31日,其余楼层均自用。
10惠东富力希尔顿逸林度假酒店
拍卖价格 2.58亿元
酒店地点 广东省 惠州市 惠东县
拍卖状态 已流拍
据京东法拍网显示,标的物名称为惠东县稔山镇大埔屯富茂海滨城酒店土地使用权、地上建筑物及可移动设施设备,土地用途为住宿餐饮用地,宗地面积55037.59平方米,有查封有抵押。该宗土地地上有建筑物,原先作为惠东富力希尔顿逸林度假酒店使用,目前停业状态,精装修,有室内财产。
11靖西环球大酒店
拍卖价格 2.51亿元
酒店地点 广西壮族自治区 百色市 右江区
拍卖状态 已流拍
据阿里法拍网显示,标的物名称为爱国环球集团有限公司及其22家关联公司名下位于百色市右江区、靖西市德保县、田林县合计154992.04平方米不动产,包括百色市城中核心区的高端酒店、商业资产。本次拍卖只拍卖不动产,房屋内家具家电、装修、装修饰品、生活用品不在拍卖范围内。
12珠水国际大酒店
拍卖价格 2.5亿元
酒店地点 山西省 运城市 盐湖区
拍卖状态 已流拍
据阿里法拍网显示,标的名称为运城市珠水国际大酒店有限公司名下的实物资产及无形资产等,标的所有人是运城市珠水国际大酒店有限公司。在建的珠水国际大酒店主楼,建筑面积61154.72平方米。
13天豪大酒店
拍卖价格 2.48亿元
酒店地点 贵州省 仁怀市
拍卖状态 已流拍
据阿里法拍网显示,拍品名称为贵州省仁怀市中枢街道办事处杨堡坝(天豪大酒店)1幢、4幢、5幢合计三幢房产、装饰装修及其附属设施,建筑面积合计18901.18㎡,本次拍卖不包含特色经营权,拍卖包含室内装饰装修及附属设施(其中租赁给食悦堂·中餐厅装修不包含可移动部分)。
14瑞昌市赛湖路西侧、杨林湖大街北侧不动产
拍卖价格 2.05亿元
酒店地点 江西省 九江市 瑞昌市
拍卖状态 拍卖中
据阿里法拍网显示,变卖标为瑞昌市立信酒店管理有限公司名下坐落于瑞昌市赛湖路西侧、杨林湖大街北侧不动产。房屋规划用途为酒店,建筑面积54006.74㎡,房屋所有权人为瑞昌市立信酒店管理有限公司,特别说明标的存在占有情况,租户已向本院出具书面承诺,承诺在占有房产拍卖成交后15日内与新的产权人达成租赁合同。
15上饶信州滨江东路66号酒店2-1等共18处不动产
拍卖价格 2.03亿元
酒店地点 江西省 上饶市 信州区
拍卖状态 已流拍
据阿里法拍网显示,标的名称为上饶市天昊酒店管理有限公司名下位于江西省上饶市信州滨江东路66号酒店2-1等共18处不动产及该18处不动产所占用的土地使用权,此为二次拍卖。关于本案拍卖标的物,因该项目未按合同要求开工建设及如期开业等相关原因,可能存在土地出让方及其他主管部门追究受让方即本案被执行人违约金及罚金问题。
16银星大酒店
拍卖价格 1.9亿元
酒店地点 新疆维吾尔自治区 乌鲁木齐市
拍卖状态 已流拍
据阿里法拍网显示,本次拍卖标的为银星大酒店资产及其配套资产,目前酒店装修豪华、功能齐全,与酒店大楼配套的机械设备使用完好,主体楼高24层,拥有客房226间,写字间、宴会厅、西餐厅、清餐厅、酒吧、食街等餐饮设施一应俱全。
17江西世贸大饭店
拍卖价格 1.74亿元
酒店地点 江西省 九江市 湖口县
拍卖状态 已流拍
据阿里法拍网显示,标的物位于江西省九江市湖口县台山新城区学士路北侧,现挂名江西世贸大饭店,建筑面积共计45048.5平方米,土地使用年限至2049年10月10日止。
18南方明珠国际大酒店
拍卖价格 1.72亿元
酒店地点 广西壮族自治区 南宁市 武鸣区
拍卖状态 已流拍
据阿里法拍网显示,标的物名称:南宁市武鸣区城厢镇定罗路12-1号的南方明珠国际大酒店1号楼、副楼1、3号-6号接待楼及土地使用权。该标的物交易过户所涉及的一切税费(包括买卖双方承担的所有税费)应当依照相关法律、行政法规的规定,由相应主体各自承担。其他税、费没有规定或者规定不明的,由买受人承担。竞买人在竞买前应向所涉税务部门确认成交后应缴纳的税费标准。
19邦辉大酒店
拍卖价格 1.64亿元
酒店地点 福建省 福州市 鼓楼区
拍卖状态 已流拍
据阿里法拍网显示,标的名称为福州市鼓楼区温泉支路过洋垱8号邦辉大酒店整座,建成日期约1998年,楼宇总层数为12层(地下1层,地上11层),土地使用权类型为出让,使用期限至2045年7月27日。由福清市人民法院查封,有抵押。
20万达广场B区A座酒店
拍卖价格 1.55亿元
酒店地点 河北省 廊坊市 广阳区
拍卖状态 已流拍
据京东法拍网显示,标的物名称为河北省廊坊市新华路50号万达广场B区A座酒店,该标的物的土地面积为7836.02平方米,建筑面积37302.11平方米,土地规划用途为住宿餐饮用地,房屋规划用途为商业、金融、信息,实际用途为酒店。总楼层19层,所在层1-19层,土地使用年限至2050年6月19日止。
21万建希尔顿酒店项目
拍卖价格 1.54亿元
酒店地点 湖南省 常德市 武陵区
拍卖状态 拍卖中
据阿里法拍网显示,标的名称为常德市“万建·紫庭”项目地块7号楼(含附属设施)及其范围内的土地使用权(万建希尔顿酒店项目),土地使用权性质为出让,土地使用权终止日为2053年11月4日(商服用地),开发程度为宗地红线外“六通”(通路、给水、排水、通电、通讯、通气),宗地上建筑物层数为地上20层(其中4至5层间设有独立设备层,该设备层不计入地上建筑标准楼层数),地下1层。
22嘉利得大酒店及商业广场
拍卖价格 1.51亿元
酒店地点 福建省 厦门市 翔安区
拍卖状态 已流拍
据阿里法拍网显示,标的物名称为厦门嘉利得置业有限公司持有的“嘉利得大酒店及商业广场”项目在建工程及土地使用权,此次为二次拍卖。项目主体结构尚未完工,目前处于停工状态。由于项目停工多年,项目有关行政审批许可等文件可能已经超过期限,须由买受人自行重新办理或者变更办理项目立项备案、国有土地使用证、建设用地规划许可证、建筑工程规划许可证、建筑工程施工许可证等手续或证件,费用也均由买受人承担。
23中央城大酒店
拍卖价格 1.48亿元
酒店地点 安徽省 芜湖市 弋江区
拍卖状态 已流拍
据阿里法拍网显示,标的名称安徽省芜湖市弋江区中央城大酒店01房、(1#楼及连廊)01室商业用房,已被芜湖市镜湖区人民法院查封。建筑总面积为34146.43平方米,存在租赁情况。中央城大酒店自身没有附属车位。地下负一层的人防车位以及大楼地面部分所有停车位均为租赁,车位使用需另行签订租赁协议并支付租赁费用。
24中银酒店
拍卖价格 1.3亿元
酒店地点 内蒙古自治区 呼和浩特市 赛罕区
拍卖状态 已流拍
据阿里法拍网显示,拍品名称内蒙古中银房地产集团股份有限公司所有的位于呼和浩特市赛罕区新华东街496号中银城市广场内、坐落于权证号为呼国用(2008)第00137号土地上的酒店建筑物(地下2层,地上24层)及所对应的分摊土地使用权。中银酒店部分存在抵押,该土地上建有中银城市广场,包括:酒店、住宅、商场等,本次仅处置酒店部分,酒店部分的分摊土地使用权面积最终以政府部门认定为准。
25南华大酒店
拍卖价格 1.28亿元
酒店地点 湖南省 永州市 冷水滩区
拍卖状态 已流拍
据阿里法拍网显示,拍卖标的为湖南南华大酒店有限公司100%股权及对应的土地使用权及建、构筑物等资产(不含公司债权、债务)。本次拍卖过户以湖南南华大酒店有限公司100%股份转让方式进行,部分不动产未办理产权登记,特别提醒本次拍卖成交价不包含资产维护费300万元。
26文悦酒店
拍卖价格 1.26亿元
酒店地点 湖北省 襄阳市 襄城区
拍卖状态 已流拍
据京东法拍网显示,拍卖标的为位于襄城区卧龙镇谭庄村一宗国有出让住宿餐饮用地(文悦酒店)土地使用权及宗地上附着物,该宗土地宗地面积62771.90平方米,宗地坐落于襄城区卧龙镇谭庄村,宗地用途为住宿餐饮用地。
27金鑫宾馆
拍卖价格 1.15亿元
酒店地点 浙江省 杭州市 桐庐县
拍卖状态 已流拍
据阿里法拍网显示,拍品名称桐庐金鑫宾馆有限公司名下位于桐庐县富春路528号房地产,有查封有抵押,合计建筑面积25,119.01平方米,主楼为地上层数21层及地下1层,钢混结构,建成于1997年,设计用途为非住宅,结构基本完好。主楼用于经营酒店,部分楼层处于装修停工状态,其他楼层整体精装修,维护状况较好。
28银桦半岛酒店
拍卖价格 1.02亿元
酒店地点 四川省 内江市 威远县
拍卖状态 拍卖中
据阿里法拍网显示,标的名称为四川省威远县严陵镇平山村8组21处不动产(整体拍卖),有查封有抵押,拍卖标的位于威远县“银桦半岛酒店”,建筑面积34546㎡,该项目是标准生态园林式酒店,拍卖时间于2026年1月26日10时起60天内。
拍卖价格5000万元-1亿元酒店
01芳达商务酒店
拍卖价格 8840万元
酒店地点 河南省 洛阳市 涧西区
拍卖状态 已流拍
据阿里法拍网显示,拍品名称为河南省洛阳市涧西区西苑路付6号芳达商务酒店的房屋所有权及对应土地使用权,于2023年4月7日续行查封,抵押权人中国中信金融资产管理股份有限公司海南省分公司。
02奥山雅阁酒店
拍卖价格 8780万元
酒店地点 湖北省 恩施市
拍卖状态 已成交
据阿里法拍网显示,拍品名称为位于湖北省恩施市舞阳街道办事处枫香坪村(奥山世纪城)2幢1单元共269套房地产及2幢1单元负一层、负二层附属的酒店专用地下室部分(酒店设备用房),作为奥山雅阁酒店使用的265套房地产,因未向法院提交相应的使用合同,依法不能对抗法院执行,对该部分为除去租赁后变卖。
03桂林帝苑酒店
拍卖价格 7600万元
酒店地点 广西省 桂林市 七星区
拍卖状态 已流拍
据阿里法拍网显示,标的名称为桂林帝苑酒店有限公司名下不动产、闲置设备及注册商标。桂林帝苑酒店于2017年1月停业,供电、供水以及维护酒店正常运营所需的设施、设备均已关停,维护保养状况较差,机器设备无法启动,厨房设备一直未使用,部分设施、设备处于报废状态,已无法正常使用;车道下密封油罐、油罐底座防护及相关配套设施,均存放于桂林帝苑酒店停车场地面以下,油罐及其配套设施已无法正常使用。
04御庄园温泉
拍卖价格 7539万元
酒店地点 福建省 莆田市 城厢区
拍卖状态 已成交
据阿里法拍网显示,拍卖标的为坐落莆田市城厢区霞林街道荔华东大道2398号3、4、6、7、8、9、10、11、12、13、14、15、16、17、18、19、20、21、22幢的房地产,房屋规划用途为酒店客房、酒店餐饮;土地使用权类型为出让。现该房地产由被执行人占有经营使用,未发现存在租赁情况。
05舟山市定海区白泉镇兴泉路299号(酒店)
拍卖价格 6925万元
酒店地点 浙江省 舟山市
拍卖状态 已流拍
据京东法拍网显示,拍品名称为舟山市定海区白泉镇兴泉路299号(酒店);兴泉路299-1号、299-2号、299-3号;兴泉路299-4号、299-5号的房地产,位于白泉镇中心区位,基础设施较为齐全,公共服务设施较为完备,商业氛围一般。所在宗地东临兴泉路,南临玉兰路,西临舟山商贸城,北临宝岛大道,距舟山定海城区约6公里。
06铂悦华庭项目四期2栋酒店
拍卖价格 6378万元
酒店地点 四川省 成都市 双流区
拍卖状态 已流拍
据阿里法拍网显示,4期2栋已取得工程规划许可证、施工许可证,并已修建至封顶。项目四期2栋酒店位于2栋3-16层,本次变价将按照其完工后的现房状态及价值进行拍卖,拍卖成交款可覆盖后续修建资金需求,并将专项用于2栋修建,拍卖成交后管理人将继续修建2栋并在竣工验收完成后向买受人交付拍卖标的。
07世纪青城大酒店
拍卖价格 6212万元
酒店地点 四川省 成都市 都江堰市
拍卖状态 已流拍
据阿里法拍网显示,标的物为都江堰市幸福镇迎宾路金桥喜悦酒店108号1栋1-12楼1号商业房屋及所有搭建建筑物,实勘地址为都江堰市幸福镇迎宾路110号,招牌名称为“世纪青城大酒店”整栋,保证金6300000元,加价幅度100000元。拍卖成交后,由法院负责交付该房屋,现房屋已空置。
08光雾山温泉旅游酒店
拍卖价格 5763万元
酒店地点 四川省 巴中市 南江县
拍卖状态 已流拍
据阿里法拍网显示,拍卖标的物为南江光雾山温泉旅游酒店有限公司所属实物资产、土地使用权以及矿业权等资产,特别说明:本次拍卖标的存在承包情况,管理人已与承包人签订不定期承包合同,买受人竞得标的物后,管理人将依据不定期承包合同《光雾山温泉旅游酒店承包合同(二)》要求原承包人在买受人全部款项支付完毕之日起45日内完成腾退,腾退后将标的交付给买受人。标的有抵押有查封。
09王府酒店
拍卖价格 5576万元
酒店地点 江苏省 镇江市 丹阳市
拍卖状态 已流拍
据阿里法拍网显示,拍品名称王府酒店一期、二期、三期房地产、构筑物及其附属设施、机器设备、电子办公用品等资产,本次拍卖需交纳的保证金:2,788,134元,加价幅度:20万元及其整数倍。
10皇冠大酒店
拍卖价格 5196万元
酒店地点 江苏省 泰州市 泰兴市
拍卖状态 拍卖中
据阿里法拍网显示,标的物名称江苏省泰州市泰兴市江平路东国庆路北交叉口镇混合住宅用地及非住宅用房的房产(含配套设备设施、酒店内部装璜、可移动的酒店设备及家具),房屋建筑面积18939.86㎡,土地使用权面积1733.2平方米。标的物可能存在的物业费、水、电、煤、物业维修基金、房屋维修基金等欠费。拍卖时间于2026年1月4日10时起60日内止(延时除外)。
11雄森国际假日酒店
拍卖价格 5098万元
酒店地点 湖南省 株洲市 炎陵县
拍卖状态 已流拍
据阿里法拍网显示,标的坐落位置为炎陵县霞阳镇神农大道雄森国际假日酒店,拍卖起拍价为58608188元;保证金5000000元,增价幅度20000元(以及其整倍数)。拍卖成交后,买受人的保证金自动转为部分成交价款,如买受人悔拍,保证金不予退还。
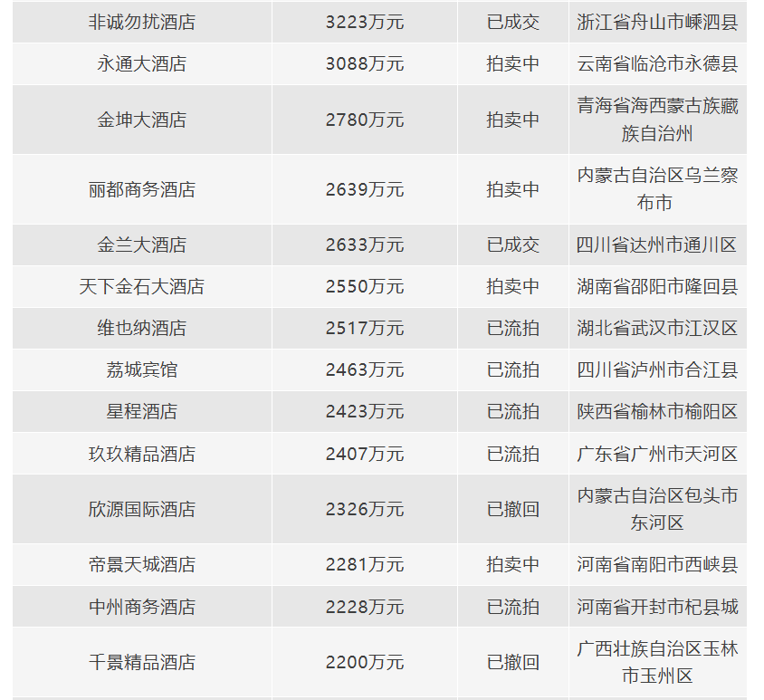
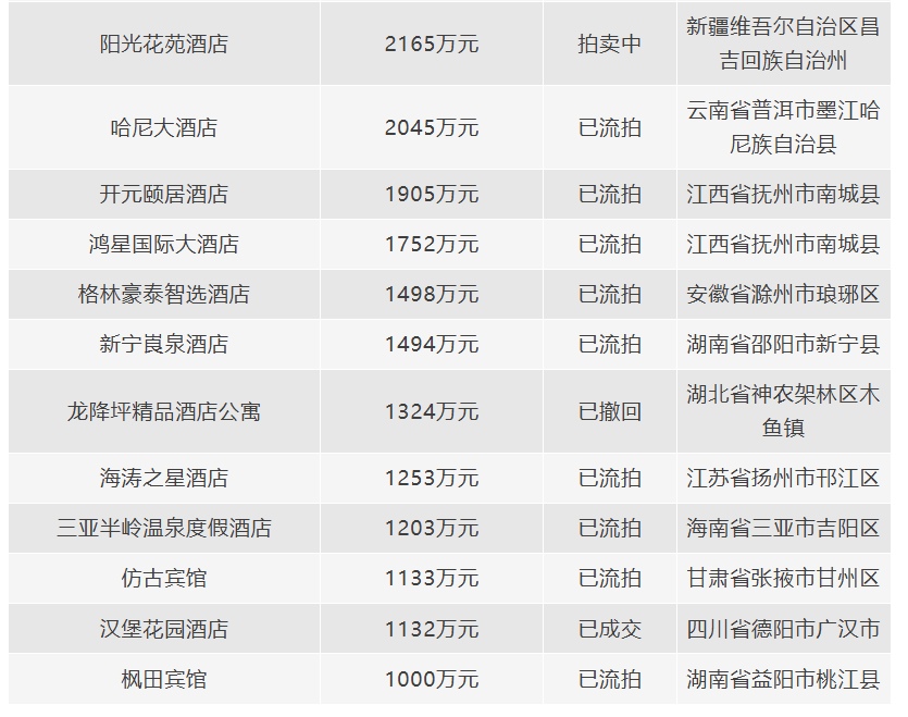
拍卖价格5000万元以下酒店



整理&排版/Moira
图片来自阿里法拍网、京东资产交易平台
