文 | 创业最前线 胡芳洁
编辑 | 蛋总
花知晓正用一场“少女心革命”,在全球美妆市场撕开一道口子。
据媒体报道,2025年底,国货少女潮流彩妆品牌花知晓正式入驻美国最大的高端美妆连锁零售店ULTA Beauty(下称“ULTA”)。首批上架超过60个SKU,价格区间为8至45美元。
这是继2024年入驻美国零售渠道Urban Outfitters后,花知晓在美国深入本土化的又一关键落子。
实际上,花知晓在海外的布局早已开始。早在2019年就入驻亚马逊日本站,2021年入驻Shopee。2022年,花知晓欧美独立站(企业或个人自建的独立电商网站)上线仅4个月,就卖出了1000万元。
对于国货美妆而言,在海外市场,欧美是最难啃的一块骨头。花知晓却凭借独特的极致少女心美学,俘获了一大批粉丝。目前,花知晓在海外主流社媒平台粉丝总量已有360万。

2025年9月,花知晓宣布完成由珀莱雅独家投资的B轮融资。天眼查显示,珀莱雅(海南)投资有限公司已于2025年8月29日成为深圳花知晓电子商务有限公司第二大股东,持股38.45%。
这也意味着花知晓正式进入国货美妆龙头的业务生态系统。
以少女心美学抢占市场的花知晓,能给国货美妆提供一个出海与差异化发展的新样本吗?在外观设计和品牌美学之外,花知晓产品力及供应链能力,又能否支撑起一个长远的未来?
01 以“强风格”进军海外高溢价市场
近日,据媒体报道,花知晓眼影盘在美国卖到40美元,定价接近香奈儿同类产品。关于花知晓海外定价,在小红书上也引发诸多讨论。
「创业最前线」发现,在小红书上,不少在世界各地的网友分享了当地花知晓产品的价格。“在日本,口红卖200元”,“在马来西亚的屈臣氏也是有,但是好贵!”“我想进口flower knows(花知晓品牌的英文名)到越南,但是价格太高,有人可以告诉我哪里便宜吗?”……
对此,有不少网友持支持态度,“支持出海,为啥国货就是要贱卖,这个定价挺好。”
正如一位在美国的网友分享的ULTA截图,一款在天猫售价109元的花知晓小天使九色眼影盘,ULTA上标价45美元(约313元人民币)。而国内很多时候作为赠品的手持化妆镜,标价则是25美元(约174元人民币)。

图 / 小红书
可以看到,新一代国货美妆品牌在全球化布局上,不再局限于性价比竞争,而是通过独特的视觉语言和审美价值,来争夺品牌溢价权。


图 / 小天使九色眼影(图源:小红书、天猫,花知晓)
作为一个以“少女心美学”为核心卖点的品牌,花知晓在出海路径上,选择了在二次元文化和“童话美学”上高度同源的日本作为出海第一站,来降低市场教育成本。
2019年,花知晓通过当地代理商进入Cosme、Loft等日本美妆集合店,也同步上线了亚马逊日本站在内的电商。此外,花知晓还请日本爱豆宫脇咲良担任品牌亚洲大使,来打响知名度。
到了2020年,花知晓在日本市场的总销售额超2000万元。
聚焦美妆出海业务的Mold Breaking摩柯创始人兼CEO郭兮若曾对媒体表示,“日本的消费者很理性,并不会看到网红带货就立刻购买,购买路径或多或少都会既涉及线下体验,又有线上搜索动作”。
花知晓在日本通过线下门店提供产品体验和品牌背书,又通过亚马逊等电商平台实现交易闭环。双重验证,为其后来进军欧美市场积累了信心。
2021年,有财经记者工作经历的房宫一柳加入了花知晓,担任首席营销官。在她的主导下,2022年,花知晓以独立站方式布局欧美市场。
但花知晓在欧美的推广,相较于日本市场,进行了诸多调整。首先其并未硬推“少女心”的品牌概念,而是以更具普世意义的“Live Your Fairytales”(守护内心的童话世界)来定义本土化的少女心叙事。
与此同时,房宫一柳通过对美国市场的调研意识到,花知晓要真正进入美国市场,不适合沿用在日本市场以代理为主的销售模式,而需要团队亲自下场推进,以更深度的本土化运营方式打开市场。
在这个过程中,花知晓以社媒进行品牌价值和文化传递,完成内容种草和情感链接。其风格鲜明的产品在Instagram、TikTok等社交平台上自带传播力,迅速引发Coquette(指偏好粉色系穿搭,喜欢蝴蝶结、蕾丝和泡泡裙元素的女生)等亚文化圈层的狂热。
同时,在交易转化上,花知晓用独立站沉淀高忠诚度的核心用户,依托亚马逊承接尝新型用户,实现人群破圈和交易场景扩容。
2024年,花知晓海外营收已超过1亿元,且美国市场首次超越日本,成为品牌最大的海外单一市场。
02 建立差异化壁垒
“和花知晓外观类似的彩妆品牌很少见。”北京一家WOW BEAUTY工作人员对「创业最前线」表示。
在这家美妆集合店的大门口正中间,就摆放着花知晓甜心小熊系列的装置和产品展台。在现场看,花知晓产品系列十分丰富,包括唇釉、遮瑕、腮红、眼影、高光、染眉笔等诸多彩妆类型,定价普遍在百元左右。
其中,甜心小熊六色眼影、四色遮瑕膏售价相对偏高,分别为129元、139元。
花知晓产品设计是极致少女风,以粉、蓝、白、黄等颜色居多,外观设计更是十分繁杂。尽管如此,从现场看产品设计比较精致,并不显廉价。
很多产品仅从外观来看都类似于一个漂亮的玩具或手办,这恐怕也是其获得众多年轻人青睐的原因所在。


图 / 花知晓唇泥、唇冻
花知晓独特的美学风格,与创始人杨子枫和周天成的个人理念与创意追求密不可分。
据媒体报道,杨子枫和周天成作为角色扮演者,是重度彩妆用户,深谙二次元文化及其衍生圈层的喜好。因为经常到世界各地参展,积累了丰富的化妆经验和对不同美妆品牌审美的理解。
受到韩国彩妆博主Pony创办自有彩妆品牌的启发,再加上2016年左右国内彩妆市场在审美表达上的空白,杨子枫和周天成决定,以外观设计作为突破口,做一个兼具“视觉辨识度+实用价值”的彩妆品牌。
2016年,两人在杭州创立花知晓,以少女心为出发点,切入高性价比、高颜值彩妆赛道。
创立之初,花知晓集中主要资源,首先在外观设计上下大功夫。
在彩妆行业,很多品牌都是依赖代工厂进行生产。但代工生产有一个明显的弊端就是同质化。尤其对于平价彩妆而言,大多会采用代工厂的公模(即代工厂的固定模板,可以免费使用)进行生产,但公模做出来的产品,几乎长得一模一样。
要实现产品差异化,品牌需要自己开发私模。但开发一套私模成本较高,多则需要上百万元,这对初创品牌是不小的压力。
花知晓为此投入了不少成本。即便在首期启动资金有限的条件下,花知晓在“小天使”系列中,依然为单一系列开发了3–4套独家模具。
不过,独特的外观设计虽然吸引消费者,但也很容易被后来者抄袭,仅凭外观无法形成护城河。在这方面,花知晓借鉴了服装领域的快时尚模式,通过“高频上新”来形成防御。
据蓝海亿观数据,花知晓年均上新超100个SKU,形成“研、改、选、测”的爆品孵化机制,令抄袭者疲于跟进,从而实现优势领先。
在国内,花知晓主要通过线上渠道以及入驻线下美妆集合店进行销售。2025年获珀莱雅投资后,9月,花知晓冲上天猫彩妆香水销售榜单第六,同比增幅高达40%。

图 / 化妆品观察
03 长期性风险
“随着品牌的增长,我们肯定还要做越来越大众的市场的。”房宫一柳曾在接受媒体访谈时表示。
但强烈的风格是一把双刃剑。花知晓极具辨识度的梦幻少女风,虽然能短时间内迅速吸引特定受众,但也可能无形中限定了受众的广度,品牌难以拓展至更成熟、简约或中性风格的消费群体,使得品牌增长天花板较早显现。
这也导致花知晓在市场认知层面,仍集中于风格鲜明的小众品牌形象。一旦品牌增速开始放缓,如何打破圈层、走向更广泛的大众市场,将会变得棘手。
更为关键的是,自诞生至今,花知晓的运营和突破,主要围绕产品风格设计、审美、价值传播等展开,尚未聚焦到产品成分、研发、供应链能力等更深层次的能力构建上。
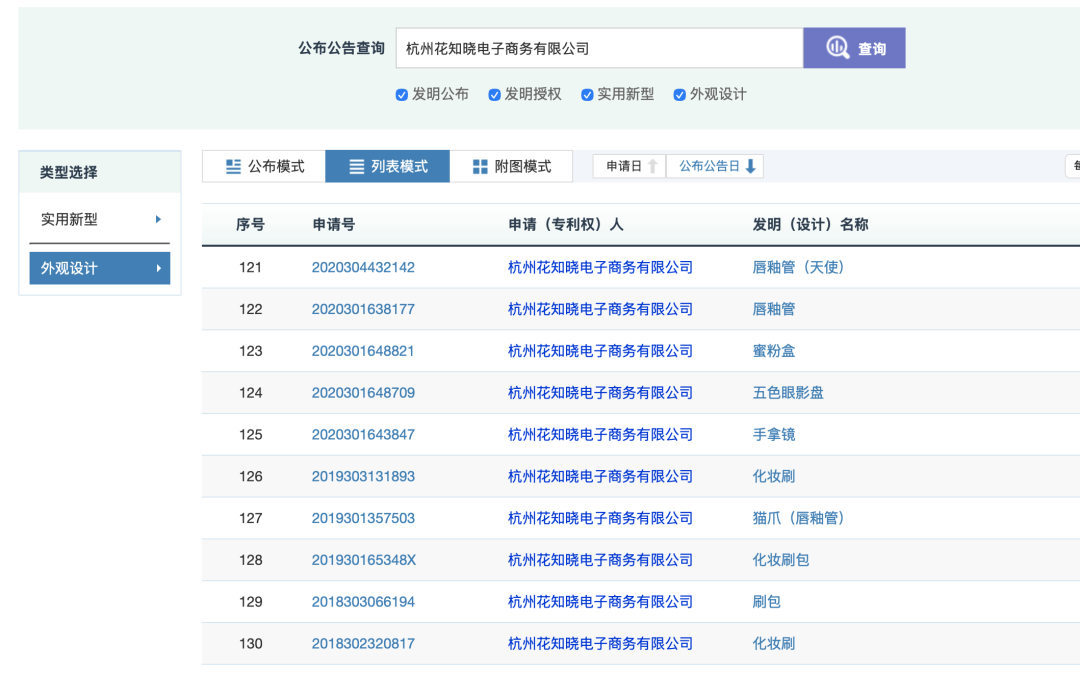
「创业最前线」查询国家知识产权局官网发现,花知晓母公司杭州花知晓电子商务有限公司共有131项专利,其中130项为外观设计专利,1项为实用新型专利。在化妆品成分研发、制备技术等方面,均无相关专利技术。


图 /国家知识产权局官网
重颜值、快上新模式对供应链与品控构成持续压力,长期看,若核心产品力与品牌溢价不匹配,将难以支撑可持续性发展。
以花知晓腮红为例,有不少用户在社交平台吐槽,用到最后腮红盘上的粉会变硬、结块,取不上粉。



图 / 小红书
唇釉香味太重、口红导致唇炎、腮红有异物等问题,也被不少用户提及,还有唇釉外壳底部藏铁块物理加重等十分小众的投诉。此外,由于花知晓产品外观设计十分复杂,且依靠代工生产,这也使得品控压力增大。
从成分来看,其核心单品的成分远没有产品外观那样出彩。
以花知晓畅销单品“独角兽系列浮雕腮红”为例,排在备案成分表第一位就是滑石粉。作为一种广泛使用在化妆品中的成分,滑石粉因在开采过程中存在与1类致癌物石棉交叉污染的风险,近年引发诸多关注。
不少新锐美妆品牌和高端美妆品牌,也在配方中,逐渐将滑石粉成分剔除。

图 / 美丽修行App
实际上,花知晓也在逐渐改良产品成分,其新推出的“甜心小熊系列腮红”中,就已经不再含滑石粉。
随着品类扩张和销量提升,花知晓供应链管理的难度也在增加。若产品品控不稳定,或出现成分安全争议,可能迅速反噬品牌声誉。
2025年9月,花知晓宣布完成由珀莱雅独家投资的B轮融资。珀莱雅(海南)投资有限公司借此成为深圳花知晓电子商务有限公司第二大股东,持股 38.45%。花知晓的此次融资,将用于品牌全球化扩张、供应链整合与内容创新等方向。
针对投资花知晓一事,珀莱雅方面接受媒体采访时曾表示,投资原因是看好花知晓在年轻人群中的影响力、扎实的产品力以及海外市场的潜力,珀莱雅希望通过投资打造珀莱雅业务生态体系。
在获得珀莱雅投资后,如何在借助巨头资源的同时,保持品牌独立的调性、创作自由与增长节奏,也是花知晓需要考虑的长期议题。
总体来看,花知晓虽然初步验证了“审美红利”出海的可能性,但其长期价值依然有待于回归到研发、供应链与组织能力的系统性提升上,从被一部分年轻人喜爱的“潮流玩具”,走向被大众真正认可的“专业美妆品牌”。
