文 | 壹览商业 蒙嘉怡
编辑 | 薛向
茶颜悦色要去上海和广东开店了?
近日,BOSS直聘信息显示,茶颜悦色正在上海、深圳开启岗位招聘。在上海,茶颜悦色以4.5万~7.5万元的月薪招聘Marketing(市场)负责人,4.5万~7.5万元的月薪招聘品牌内容高级经理;在深圳,茶颜悦色以2万~3万元的月薪招聘仓库主管与经理、2万~2.8万的月薪招聘仓库负责人。

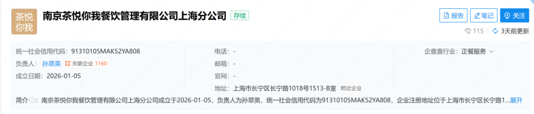
另据天眼查,1月5日,南京茶悦你我餐饮管理有限公司(下称“南京茶悦”)在上海成立分公司,经营范围涉及餐饮服务、食品互联网销售、食品销售、餐饮管理、企业总部管理等。南京茶悦成立于2022年,由茶颜悦色母公司——湖南茶悦文化产业发展集团有限公司全资持股,同年,茶颜悦色在南京开出门店,首次进入江浙沪市场。

图源/企查查
对于此动作,上海设立分公司、异地招聘等动作,茶颜悦色相关负责人对茶咖观察称,是因为品牌计划在上海设立创意工作室,希望能吸纳专业人才、汲取创作灵感,目前暂无在上海开设门店的具体计划。
另外一位接近茶颜悦色的人士表示,茶颜悦色长期关注并研究华南市场,包括深圳在内的重点城市都是其持续评估的潜在方向。
另有行业观察者告诉茶咖观察,这些动作传递出两层意图:一是加强华东地区运营,可能会在江浙沪加速开店;二是为进入华南市场做准备——仓储岗位的招聘,往往是供应链基建先行的信号,对方预计茶颜悦色将在年后有相关动作。
成立于2013年的茶颜悦色,曾凭借首创的“新中式鲜茶”概念、国风品牌形象迅速走红,2018年至2021年,茶颜悦色接连收获来自天图投资、顺为资本、元生资本、源码资本等机构的四轮融资。

图源/天眼查
然而,与同期许多茶饮品牌通过加盟快速扩张不同,茶颜悦色始终坚持以直营模式深耕湖南及周边市场,自2022年起,茶颜悦色开始培育四个子品牌,分别为主打青柠茶的古德墨柠、主打中式咖啡的鸳央咖啡、主打手冲纯茶的小神闲茶馆,以及小酒馆昼夜诗酒茶。
纵观其发展历程与行业环境,茶颜悦色此时尝试外拓或许有以下几点原因。
一是区域市场逐渐饱和,全国化是规模增长的必然选择。据茶咖观察统计,截至2025年12月9日,茶颜悦色共开设了914家门店,门店仅覆盖湖南省、江苏省、湖北省、重庆市四个区域。其中,湖南省门店数量550家,江苏、湖北、重庆的门店数量分别为177家、117家、81家。

相比同期霸王茶姬超7000家、茉莉奶白超2100家、爷爷不泡茶超2500家的全国门店网络,茶颜悦色的布局仍显集中且数量较少。
而茶咖观察监测的30个连锁茶饮品牌,合计现有门店总量13.44万家,其中超6500家位于湖南省、近1.06万家位于江苏省,在省内市场增长空间逐步收窄的背景下,向外开拓新市场成为茶颜悦色拉动增长的重要路径。
二是行业竞争全国化加剧,需进入高能级市场保持品牌影响力。茶饮行业已进入全国性竞争阶段,同类品牌在全国范围内快速拓店,抢占消费者心智。若长期缺席上海、深圳等一线城市,茶颜悦色品牌影响力受限。因此,进入一线城市,不仅是营收增长的需要,更是品牌长期价值的维系。
三是资本化进程可能提速,外拓有助于提升估值预期。2024年4月,原天图资本VC基金管理合伙人潘攀加入茶颜悦色,担任茶颜悦色战略负责人。在天图时期,潘攀参与了对百果园、奈雪的茶等品牌的投资,这两家企业均成功上市,因此潘攀此次任职被业内认为是茶颜悦色计划在资本运作上发力。
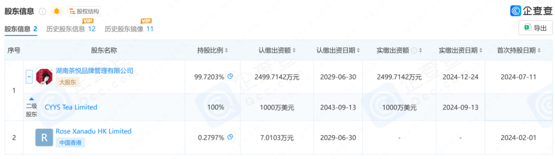
同年6月,茶颜悦色母公司湖南茶悦文化产业发展集团有限公司(下称“湖南茶悦文化”)的股权发生变更,顺为资本、五源资本、源码资本、元生资本、天图投资等7家投资机构均退出。

图源/企查查
同年7月,湖南茶悦文化新增湖南茶悦品牌管理有限公司为股东,该公司法定代表人为茶颜悦色创始人吕良,注册资本1000万美元,由注册于香港的CYYS Tea Limited全资持股。

图源/企查查
股权结构变更、引入拥有上市经验的高管,这一系列动作被解读为搭建VIE架构、筹备境外上市的前期步骤。据姚兰报道,原本计划赴美上市的茶颜悦色,目前正筹划将上市地点改为香港。在此之前,拓展新市场、打开成长空间,能够向资本市场讲述更具吸引力的增长故事,为后续融资或上市铺路。
总体看,茶颜悦色的外拓并非突然转向,而是在区域深耕达到一定阶段后,面对市场环境变化与自身发展需求所做出的战略选择。而且,其步伐仍显谨慎,此次招聘强调供应链与组织能力前置,反映出其在规模扩张与品质把控之间寻求平衡的思路。
然而,外拓之路并非坦途。无论是上海还是深圳,茶饮市场竞争都已白热化。茶咖观察数据显示,截至2025年12月9日,30个连锁茶饮品牌在华南市场布局超1.87万家门店,占全国门店的近14%。仅广东一省,这些品牌的门店总量已超过1.28万家,其中,霸王茶姬、茉莉奶白与爷爷不泡茶的门店数量就分别高达728家、257家与162家,此外,深圳还是喜茶、奈雪的茶和茉莉奶白等茶饮品牌的大本营。
截至目前,茶颜悦色仍不支持线上点单后到店取餐的模式,消费者仅能通过小程序进行线上预点单,但仍需到店核销后产品才能进入制作流程,在追求效率与便捷的一线城市,能否快速适应本地消费习惯,仍待观察。
