文 | 趣解商业 张语格
编辑 | 趣解商业TMT组
近两年,随着人工智能已成为全球科技竞争的制高点,AI已成为资本市场“偏爱”的行业之一。
从芯片、大模型到智能硬件乃至机器人,凡是沾上AI叙事的企业估值几乎都水涨船高;在这股热潮下,不少AI企业启动IPO计划以实现进一步发展,也有部分传统行业公司试图跨界布局甚至转型All in AI,AI赛道投资热度高涨。
近期,就在智元机器人完成收购上纬新材的同期,又一家AI独角兽企业筹划“买入”一家上市公司。
01.探迹18亿拿下“毯王”
11月11日,纺织制造企业真爱美家(003041.SZ)发布的公告显示,AI科技企业“探迹科技”将通过旗下主体“探迹远擎”,以约18亿元的价格收购真爱美家44.99%的股权。

图源:真爱美家公告截图
探迹科技此番控股真爱美家采用了“协议转让+部分要约”的组合方式,是近年来科技公司入主A股上市公司的典型路径。
公告显示,探迹科技通过专为此次收购设立的特殊目的载体(SPV)“探迹远擎”,以每股27.74元的价格,收购真爱集团所持的真爱美家29.99%股权,此后探迹远擎还将通过部分要约收购再获15%股份,两笔交易合计斥资约17.97亿元。交易完成后,探迹远擎将持有真爱美家44.99%股权成为控股股东,真爱美家实际控制人也将变更为探迹科技创始人兼CEO黎展。
公告发出后,真爱美家股价连续多日上涨,半月之内涨幅近100%,股价从30元出头涨到最高64.92元/股;截至12月15日,真爱美家报收42.6元/股,市值61.34亿元。

图源:百度股市通截图
成立于2016年的广州独角兽企业“探迹科技”,是国内智能销售SaaS领域的头部企业,其“80后”创始人黎展的愿景是“让天下没有难做的销售”。
探迹科技成立之初一直致力于提升客户企业的销售效率,利用人工智能与大数据,为企业提供从“找客户”到“成单”的全流程销售赋能服务,客户不乏阿里巴巴、字节跳动、DHL、格力电器等互联网、制造业巨头。
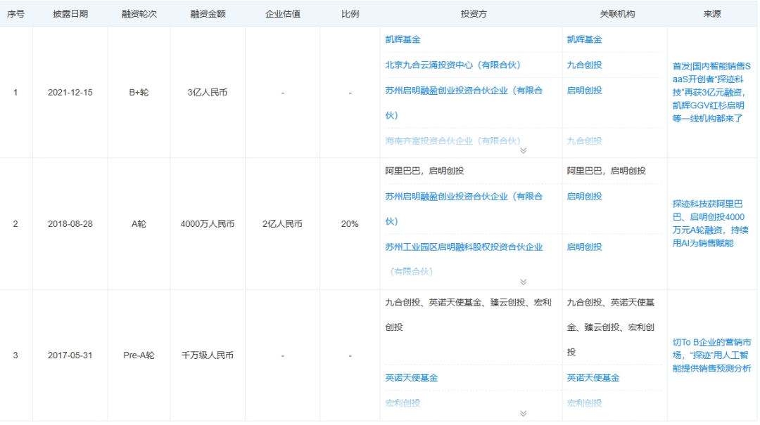
天眼查显示,探迹科技成立之后曾有过3次公开融资,累计融资约5亿元,其资方包含阿里巴巴、红杉中国、九合创投、启明创投等明星机构的身影。

图源:天眼查截图
探迹科技的最近一轮3亿人民币的B+轮融资停留在了2021年,此后再没有公开的融资信息。考虑到人民币基金的存续周期,投资机构面临的退出压力也越来越大;在此背景下,探迹科技与真爱美家的合作,也被业内猜测是试图去二级市场寻求突破。
在并购之前,真爱美家市值不足30亿元、股权集中,且主营业务单一,毛毯的生产销售收入占据了总营收88%以上,对探迹科技而言是理想的“壳资源”。在交易过程中,探迹科技选择了“29.99%协议转让+15%部分要约”的方式,实现控制的同时避免了触发全面要约收购的条件,被外界猜测其是否要“借壳上市”。
面对股价异动,真爱美家很快发布公告称,目前经营一切正常。“截至目前,公司主营业务未发生重大变化,收购方不存在未来36个月内通过上市公司借壳上市的计划或安排。”
中国企业资本联盟中国区首席经济学家柏文喜认为,探迹科技的并购方式不触发强制要约,也不构成《重组办法》第十三条“控制权变更+ 100%资产总额”双重指标,从条文上看不算重组上市;公告明确真爱美家12个月内不改变主营业务、不注入资产,若36个月后探迹再注入核心AI资产,只需走普通重大资产重组程序,无需按照IPO标准审核;不过,在此期间,探迹科技不能有任何“抽屉协议”或资金占用,否则监管可启动回溯。

图源:真爱美家公告截图
无论并购目的如何,这笔交易对于探迹科技和真爱美家似乎是个双赢的结果。公告发布后,真爱美家股价连续多日上涨;虽然近日股价有所回落,但若按披露的转让价格计算,探迹科技此次交易账面浮盈已超7.45亿元。
对真爱美家创始人郑期中而言,这场交易或许也是一次“完美退场”。身为真爱集团的实际控制人,郑期中持有65%的股份;以股权转让及要约收购合计18亿元价格计算,郑期中在此次控制权变更交易中很可能拿到约11亿元的股权转让价款。
02.为什么是真爱美家?
真爱美家一直深耕在家居纺织品赛道,在拉舍尔时尚毛毯的设计与制造极具竞争力,致力于成为“世界毯王”;中国纺织工业联合会组织的中国纺织服装行业企业竞争力排名显示,真爱美家毛毯类产品均位列同行业第一位。
然而,由于主要销售阵地在海外,这些年真爱美家的业绩出现了不小的波动。2023、2024年,真爱美家营业收入分别为9.53亿元、8.79亿元,分别同比下降2.64%、7.77%。对厚重型毛毯有巨大需求的中东和非洲,是真爱美家的主要市场;真爱美家曾在财报中表示,在地缘政治等背景下,全球供应链调整,“部分纺织产能继续向东南亚(越南、印度、孟加拉)和北非(埃及、摩洛哥)转移,国内企业面临东南亚低成本竞争及贸易壁垒压力。”
面对外部环境的震荡,真爱美家一方面切入毛利更高的威尔顿色织地毯等毛毯产品,一方面也尝试通过智能化、数字化改造提升生产效率;今年前三季度,真爱美家的营收重新回到增长轨道。在半年报中,真爱美家表示,在智能制造降本增效赋能下,公司传统毛毯产品的市场占有率有望进一步提升。

图源:真爱美家公告截图
此时,探迹科技的入主无疑能给真爱美家的智能制造带来更大的想象空间,其数据驱动能力或可帮助真爱美家重构海外客户洞察体系。
在柏文喜看来,探迹科技选择与真爱美家合作,很可能就是瞄准了毛毯业务的场景。真爱美家近80% 的收入来自海外毛毯订单,拥有从纺纱、织造、印染到跨境仓库的全链路数据;探迹的AI销售云、智能客服、贸易风控模型正好缺一条可复制的“出海+制造业”标杆场景。
值得注意的是,今年来A股市场已经有多起科技企业控股传统制造业上市公司的事件。
7月份,智元机器人收购主营树脂材料的上纬新材63.62%的股份;8月份,AI芯片设计公司中昊芯英收购汽车热管理系统零部件厂商天普股份。二者都是通过“协议转让+部分要约”的方式拿到控制权。

图源:微博截图
2024年9月,证监会发布《关于深化上市公司并购重组市场改革的意见》,支持上市公司围绕战略性新兴产业、未来产业(如AI、半导体、商业航天、生物制造等)开展并购;2025年8月,国务院印发了《关于深入实施"人工智能+"行动的意见》,提出推动人工智能与各行业深度融合;随后出台的系列政策,进一步明确了加快智能技术在制造业领域应用的方向。
柏文喜表示,“并购六条”颁布后,硬科技并购列为快速审核通道,监管对跨行业并购持包容态度,只要不构成重组上市,可先行取得平台再做产业整合;接下来,像探迹科技与真爱美家这样的跨界并购,很可能在政策窗口期持续涌现。
03.探迹的现实挑战
除了以12亿元的代价收购真爱集团持有真爱美家的29.99%股权外,探迹科技还将通过部分要约以每股27.74元的价格收购真爱美家15%股份;在部分要约启动前,探迹科技需要将约6亿元的收购价款全额存入指定银行的监管账户,作为履约保证金。
有不少投资者都十分关心双方股份过户登记的进展,并担心探迹科技是否具有完成这笔收购的资金实力。而如何解决18亿元的交易资金,也是制约探迹科技能否成功控股真爱美家的核心因素。
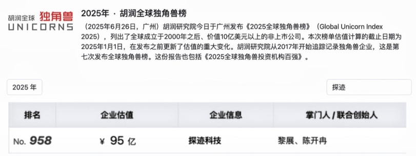
在公告中,探迹科技对于资金来源仅表示自有或自筹资金,不过探迹科技成立以来并未直接披露过财务和盈利状况。2025年11月胡润研究院发布的《2025全球独角兽榜》显示,探迹科技估值为95亿元。
参考此前智元机器人收购上纬新材股权,主要是与上海浦东发展银行、招商银行等签署银团贷款合同,获得不超过13.9亿元的并购贷款,用于支付收购对价。

图源:胡润研究院截图
盛景嘉成创投创始合伙人彭志强曾公开表示,中国大部分SaaS及数字化企业始终处于亏损状态,是风险投资的“黑洞”。探迹科技发展初期是数据驱动型SaaS,也同样要面临客户续费难、价格战利润低等行业难题。
不过,探迹科技如今已经不再强调自身的SaaS属性,而是转型成智能体平台,企业愿景也从“让天下没有难做的销售”变为“致力于让每个企业都拥有自己的AI数字员工”;今年11月,探迹科技推出了B2B Agent、B2C Agent以及帮助外贸企业拓客的海外版Futern,主打像人一样具备业务理解、自主决策与持续进化能力。
像探迹一样拥抱AI的SaaS厂商不在少数,然而,Agent在现实企业应用中的表现却并不如想象中出色。华夏基石管理咨询集团董事长彭剑锋曾将数字员工解释为未来“一个团队的效率+零个错误的精准+24小时不休息的耐力”,目前的Agent还远达不到这一水平,各行业对数字员工探索仍处于初期。
曾有自动化软从业者表示,大模型会改变SaaS,但目前的大模型还做不到。比如在探迹科技业务覆盖的B2C智能客服领域,“客服重复问题太多,看起来容易被替代,但是现在大模型幻觉仍然很严重,做不到人工客服最基本的准确。”
由此来看,探迹科技的业务前景和盈利状况仍存在不确定性。另外值得注意的是,作为依赖海量企业数据驱动的拓客平台,探迹科技还面临着数据合规与安全风险。
拓展客户资源需要收集大量个人信息。曾有从业者对“21世纪经济报道”表示,探迹曾因爬取招聘网站脉脉的用户数据被告上法庭。2024年广州南沙区人民法院的一份判决书显示,“某迹”公司未经许可,抓取并存储“某脉”平台的用户数据;法院判决其立即停止不正当竞争行为,并赔偿合理费用共计250万元。
探迹科技此次入股真爱美家,或许会产生1+1>2的效果,然而,二者能否真正实现“AI+制造”的深度融合,真正帮真爱美家提升海外订单转化、优化供应链决策,仍有待市场和时间的检验。
