文丨猎云网 王非
十年耕耘,一飞冲天。
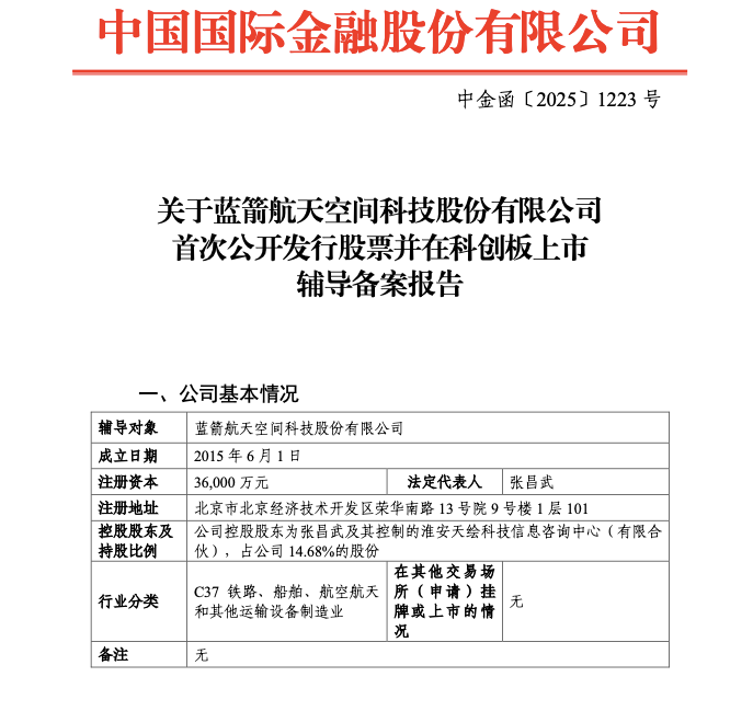
7月29日,商业航天运载火箭研发商蓝箭航天空间科技股份有限公司(下称:蓝箭航天)在北京证监局办理辅导备案登记,拟首次公开发行股票并在科创板上市,辅导机构为中金公司。

来源:证监会官网截图
据胡润研究院6月26日发布的2025全球独角兽榜榜单显示,蓝箭航天估值200亿元排名418位,位列商业航天领域第一名;另据7月7日发布的《2025年CNPP民营火箭行业十大品牌榜中榜名录》显示,蓝箭航天同样位列榜首。
需要注意的是,今年6月18日,中国证监会主席吴清在2025陆家嘴论坛上表示,科创板将重启未盈利企业适用科创板第五套标准上市,并将扩大第五套标准适用范围,支持人工智能、商业航天、低空经济等更多前沿科技领域企业适用。

蓝箭航天,正是把握这一时机,向着“科创板商业航天第一股”迈进。
累计融资超35亿,红杉、经纬都来了
2015年10月,国家发展改革委等多部门联合颁布《国家民用空间基础设施中长期发展规划(2015—2025年)》。这一年,被业内称为“中国商业航天元年”,商业航天发展迎来战略机遇期。
稍早前的2015年6月,蓝箭航天曾用名北京蓝箭空间科技有限公司,正式注册成立。创始人兼CEO张昌武,清华大学经济管理学院2011级硕士,曾就职汇丰银行、西班牙桑坦德银行;创始人兼CTO吴树范,南京航空航天大学博士,洪堡学者,曾在欧洲航天局工作近15年,宇航系统高级工程师。
自创立伊始获得创想天使基金千万元天使投资后,除2023年没有融资纪录外,蓝箭航天基本保持着一年一轮甚至多轮的融资进程,基本俘获了中国创投界的明星机构,包括红杉中国、经纬创投、中航信托、基石资本、华创资本、明势资本等,公开融资累计超35亿元。

来源:烯牛数据
2024年12月,蓝箭航天获国家制造业转型升级基金9亿元投资,成为蓝箭航天历次融资中单笔投资金额最大的投资机构,这笔融资也是该公司迄今最近的一轮公开融资。
值得一提的是,今年4月,曾在2019年12月斥资5亿元入股的C轮投资方碧桂园创投,以13.05亿元价格出售蓝箭航天11.063%股份,创下民营航天领域单笔股权交易新纪录。每股48.74元的交易定价,也为市场提供了非上市状态下蓝箭航天股权价值的重要参照系。据此测算,该公司估值约117.96亿元。
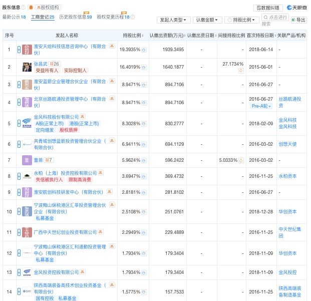
辅导备案报告显示,蓝箭航天控股股东为张昌武及其控制的淮安天绘科技信息咨询中心(有限合伙)(下称:淮安天绘),占公司14.68%股份。
另据天眼查App信息显示,淮安天绘持有蓝箭航天19.3935%股份;张昌武持股16.4019%(间接持股27.1734%);淮安蓝箭企业管理合伙企业(有限合伙)持股8.9471%。
外部持股情况层面,产业资本代表“A+H”上市公司金风科技持有蓝箭航天8.3028%股份,同时金风控股持股1.7934%,金风系合计持股10.0962%;Pre-A轮投资方丝路航通投资持股8.9471%;天使轮投资方创想天使,合计持股7.879%。

来源:天眼查
已下线100台液氧甲烷发动机,可重复使用火箭下半年首飞
作为全国首家取得全部准入资质、唯一基于自研液体发动机实现成功入轨的民营运载火箭企业,蓝箭航天致力于构建以中大型液氧甲烷运载火箭为中心的“研发、制造、试验、发射”全产业链条,且已具备全产业链条交付能力。
同时,蓝箭航天已建立涵盖设计、生产、装配、测试在内的完整发动机产业链,仅发动机(动力系统)累计相关发明101项,其中已经授权发明专利71项,天鹊系列核心技术荣获2024年国家科技进步二等奖。
蓝箭航天发展里程碑事件显示:2018年,朱雀一号运载火箭发射,成为国内首家走通民商火箭发射链路的企业;2019年,国内首台大推力液氧甲烷发动机——天鹊80吨液氧甲烷发动机全系统试车成功;2021年,蓝箭嘉兴火箭智能制造基地建成,成为国内最早自建液体火箭总装工厂的民商航天企业;2022年,朱雀二号遥一火箭首飞,成为国内最早进行液体火箭发射的民商航天企业;2023年,朱雀二号遥二火箭成功发射,成为全球首枚入轨的液氧甲烷火箭……
4月15日,蓝箭航天第100台天鹊系列液氧甲烷火箭发动机(涵盖天鹊、天鹊A、天鹊B三大系列),在浙江湖州动力制造基地正式下线,标志着我国民营商业航天在火箭动力系统领域成功实现了从“单台突破”到“批量制造”的跨越,迈入“三位数时代”,开启规模化应用新阶段。
据介绍,蓝箭航天最新一代TQ-12B发动机已完成550秒地面试验,验证了多次起动、深度节流等其作为朱雀三号一级主动力的关键性能,展现出更强推力与更高推重比。截至目前,天鹊系列大推力发动机已在湖州热试中心完成累计6.8万秒的热试验证,性能稳定、推力可靠。
根据蓝箭航天规划,其自主研制的朱雀三号可重复使用运载火箭计划于今年下半年首飞,采用“9+1”共十台发动机配置,一子级具备重复使用能力。
作为一款具备一级重复使用能力的大型液氧甲烷火箭,朱雀三号起飞重量约570吨,全箭长度约66米。今年6月20日,朱雀三号已完成一子级动力试车,这是我国迄今规模最大、自动化水平最高的九机并联地面热试车试验。
商业化层面,4月25日,在第二届“一带一路”国际合作高峰论坛“数字丝绸之路”分论坛现场,蓝箭航天与英国Open Cosmos公司、意大利D-Orbit公司签署合同,将在立方星发射、在轨交付等方面进行合作,合同累计金额过亿元。
