界面新闻记者 |
界面新闻编辑 | 谢欣
近几日,一种被称作“高潮针”的医美产品忽然在小红书和微博等社媒平台走红,社交平台流传多地女性预约开打“高潮针”,介绍中多称“该项目预约爆满”。
4月25日,界面新闻记者在小红书搜索到大量关于“高潮针”的推广笔记,营造出一种产品炙手可热的氛围。但是4月27日,关于该产品的笔记基本已经被清空。
所谓“高潮针”是在医美和私密护理领域兴起的一种注射项目,商家宣传的点在于,该项目通过高浓度血小板血浆治疗技术,提取自体生长因子、细胞因子,促进神经末梢修复、血运循环、阴道褶皱再生,从而提高女性的性高潮功能。
“高潮针”可以理解为高浓度血小板血浆治疗技术(PRP,Platelet-Rich Plasma)在医美领域的再包装。这种技术的原理是通过提取患者自体全血经过梯度离心、分离得到的血小板浓缩物,利用其中的多种生长因子,如血小板源性生长因子(PDGF)、转化生长因子-β(TGF-β)等,来有效促进组织的修复和再生。
不过,在营销话术之外更值得警惕的是,该产品实际上所获批的使用范围,与上述宣传严重不符,存在着打“擦边球”行为。

如目前市场上知名度最高的“高潮针”为广州远想生物科技股份有限公司(下称“远想生物”)旗下品牌丽芙莎。该产品官方定价为一针9800元起;三个疗程费用19800元起。该产品在宣传时强调其拥有国家药监局的批文,来为其安全性和合规性背书。
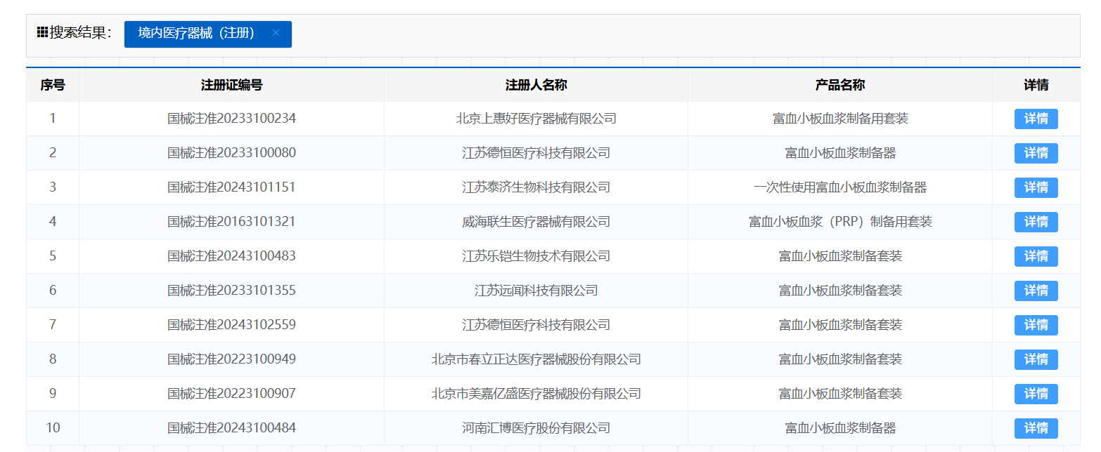
但界面新闻记者在国家药监局官网查询可以发现,该产品获批的适用范围为:
产品用于从人体自体血样中制备自体富血小板血浆(PRP),制备的自体富血小板血浆可在临床医生的指导下,用于骨折手术的辅助治疗(包括可与骨修复材料混合植入骨缺失部位),制备产物不能用于丽芙莎 静脉注射。
除了产品的宣传用途与获批用途完全不符外,还应指出的是,该产品所属管理类别为被严格监管的第三类医疗器械。
在医疗器械分类管理体系中,第三类医疗器械风险等级最高,是指植入人体,用于支持、维持生命,对人体具有潜在危险,对其安全性、有效性必须严格控制的医疗器械。《医疗器械监督管理条例》规定,第三类医疗器械实行严格的产品注册制度,只有获得医疗器械注册证的产品,才被允许在市场上销售和使用,且必须在规定的适应症范围内开展诊疗活动。
另外,在国家药监局官网查询可以发现,另不少其他厂商也有类似产品获批,但是获批适用范围均为骨科辅助。也就是说,除了骨科之外的用途均为超适应症使用。超适应症使用风险重重,因为缺乏充分科学验证,其对身体长期的影响尚不明确,有可能引发未知的组织病变或其他严重的健康问题。
医美业内人士对界面新闻记者直言,这种产品就是“智商税”,前几年市场上已经在推广这个产品,但是一直不温不火,今年突然火爆起来。
受到“高潮针”炒作影响,甚至还带动了A股相关概念股股价上涨。4月25日至27日,天原股份、德美化工、芭薇股份等概念股股价涨超9%,天原股份、德美化工盘中股价一度涨停。
其中,天原股份、德美化工均通过参股佛山德盛天林股权投资合伙企业,间接持有远想生物股权,远想生物旗下拥有丽芙莎品牌,推出“高潮针”产品。芭薇股份未直接生产“高潮针”,但其通过为远想生物提供化妆品研发和生产服务,间接参与了相关产业链。
远想生物是一家专注再生医美的公司,该公司创立于2008年。据自媒体医美部落文章,该公司旗下4大核心品牌分别是:”伊肤泉、瑞恩诗(瑞典进口)、凝光E.R.T和丽芙莎。不过,在该公司官网的产品介绍一栏,仅介绍了前三款产品,并未将丽芙莎列在其中。
实际上,早年也发生过“高潮针”炒作事件,背后公司同样为远想生物。2022年10月,山东省民营整形美容协会官方公众号发布名为《"高潮针"的超范围宣传和使用预警》的文章,明确提到一款“高潮针”存在超范围使用。该产品注册人名称为韩国瑞维医疗有限公司REV-MEDInc.,产品名为富血小板血浆制备装置PRPKit,产品适应证为通过离心方式,从自体血血样中制备自体富血小板血浆。
值得注意的是,文章中提及宣传商标“高潮针”为远想生物注册,但是当时商标未审批通过。经查询,目前远想生物的商标注册仍未审批通过。
山东省民营整形美容协会当时曾提醒,超适用范围,但未说明情况则涉嫌欺诈,根据《消费者权益保护法》第五十五条,应三倍赔偿。若患者受到伤害,根据《民法典》第一千二百一十八条,由医疗机构承担赔偿责任。
