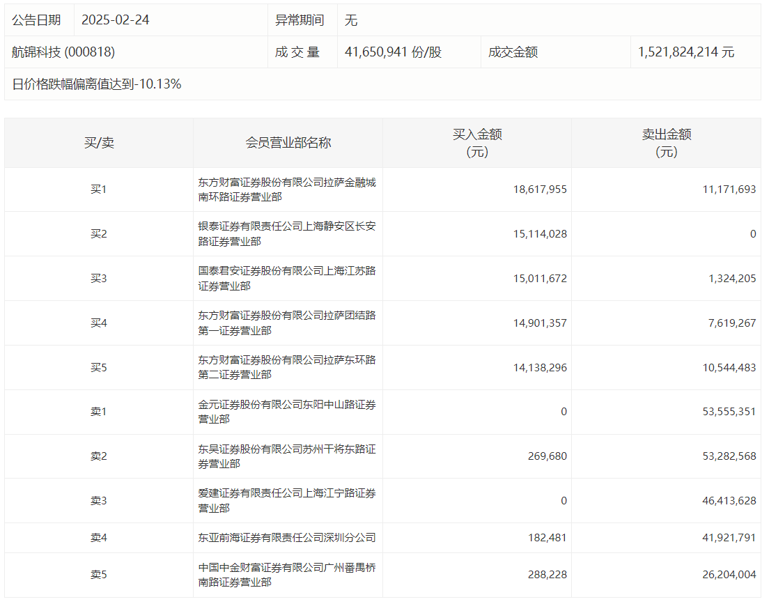
航锦科技2月24日跌停,龙虎榜数据显示,上榜营业部席位全天成交3.31亿元,占当日总成交金额比例为21.72%。其中,买入金额为7852.37万元,卖出金额为2.52亿元,合计净卖出1.74亿元。
具体来看,知名游资现身龙虎榜,章盟主(国泰君安证券股份有限公司上海江苏路证券营业部)净买入1368.75万元。此外,金元证券东阳中山路证券营业部、东吴证券苏州干将东路证券营业部分别卖出5355.54万元、5328.26万元;东方财富证券拉萨金融城南环路证券营业部、银泰证券上海静安区长安路证券营业部分别买入1861.80万元、1511.40万元。

