界面新闻记者 |
近日,国家税务总局丽水经济技术开发区税务局披露的2025年第1期欠税公告显示,知名量化私募白鹭资管拖欠2023年度企业所得税122.5万元,限缴日期为2024年5月31日。
根据国家税务总局2018年6月修订后的《欠税公告办法(试行)》,办法所称欠税是指纳税人超过税收法律、行政法规规定的期限或者纳税人超过税务机关依照税收法律、行政法规规定确定的纳税期限(以下简称税款缴纳期限)未缴纳的税款。
白鹭资管成立于2015年12月,次年1月在中基协完成登记备案。公开信息显示,公司是一家专注于二级市场、进行量化投资与交易的对冲基金公司,在Alpha量化选股、CTA、期权等多方面均具备研发和迭代能力。
在成立的最初几年里白鹭资管一路稳步扩张,公司的管理规模在2018年达到19亿元,随后两年陆续突破38亿元和60亿元,2022年5月突破百亿规模大关。在此期间该公司还曾主动宣布,基于保障投资者利益的考虑及公司于多策略领域持续深耕的战略规划,决定于2021年7月15日起暂时停止接受CTA单策略系列产品的新增资金。
可惜的是,仅仅在百亿私募阵营停留了一年多以后,白鹭资管的管理规模逐步回落,公开资料显示,2023年9月公司的管理规模已经回落至50-100亿元区间,截至目前其最新的管理规模仅剩20-50亿元。

旗下部分产品近年来的业绩表现不及预期或是导致白鹭资管规模滑落的重要原因之一。
以2018年12月成立的“白鹭量化CTA一号”为例,数据显示,该产品的累计净值在2022年7月中旬达到2.0874以后便开始逐步回撤,至2024年3月初一度回落至1.539,随后其净值又有一定程度上的修复,不过截至今年2月7日产品最新累计净值为1.7692,距离两年多以前的峰值依然有一定的距离。
白鹭资管旗下的“白鹭桃花岛500指数增强16号”产品的历史净值峰值目前也还停留在2022年8月。公司旗下2023年6月成立的“白鹭指数增强一号A期B类 ”、“白鹭进取多策略一号A期B类”等产品截至今年1月中旬都处于亏损状态。
此外,2024年年初在微盘股暴跌的背景下,不少量化私募产品集中出现了一轮净值大回撤。同年3月白鹭资管公告称旗下产品“白鹭群贤二号量化多策略”净值触及止损线。对于这一情况,公司当时回应表示,春节前夕,部分量化产品净值出现了回撤,加上群贤二号产品预警线、止损线设置较高(止损线原为0.88元),极端行情中触及了止损。
然而,白鹭资管在2023年11月中旬曾明确表示,公司在微盘股方面采取比较谨慎的态度,和微盘股的相关性只有10%左右。同时,公司也会将微盘股的持仓占比控制在5%以内。综合来看,公司对微盘股的暴露是非常低的。
仅仅三个多月以后,公司旗下就有产品在微盘股暴跌的背景下净值触及止损线,这也让很多投资者颇为意外。
在产品业绩表现不乐观的情况下,白鹭资管的新产品发行也逐步趋于停滞。Wind数据显示,自2023年8月以来一直到今年2月14日,白鹭资管一共仅备案过2只产品,备案时间分别为2023年12月以及今年1月,2024年公司整整一年都没有备案产品。
根据为wind数据,白鹭资管旗下一共备案过281只私募产品,其中163只产品已经提前清算,占比58.01%,1只产品为正常清算。公司旗下仍在运行的117只产品中有38只截至2024年第4季度更新的存续规模已经不足1000万元。
中基协披露的信息则显示,白鹭资管还存在长期处于清算状态基金,即存在提交清算开始后超过6个月未完成清算的私募基金。
另一方面,白鹭资管是典型的公司实际控制人和公司策略领头人不一致的私募之一。
公开资料显示,该公司的实际控制人为章寅,核心策略领头人则分别是张晨樱和杜旭。其中,担任公司投资总监的张晨樱曾在纽约花旗集团股票研究部从事美股研究分析工作,也曾就职于上海鸣石私募从事证券定价研究、股权溢价研究、投资策略研究等;担任公司衍生品部总经理、CTA策略领头人的杜旭则曾担任英国某自营交易公司资深交易员,也曾就职于上海淘利资产。
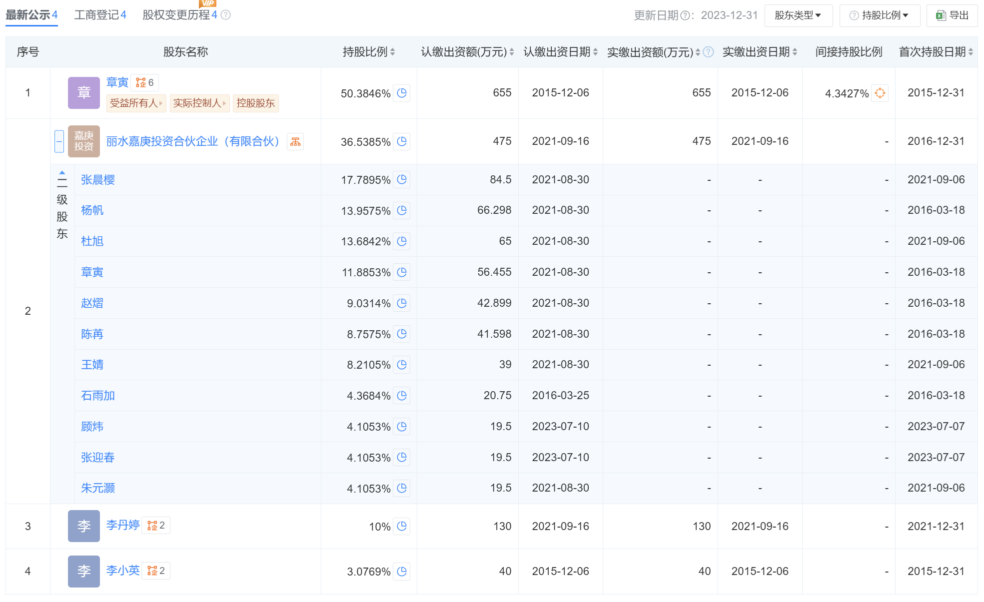
天眼查APP数据显示,截至目前,章寅、李丹婷、李小英三位自然人股东分别直接持有白鹭资管50.38%、10%和3.08%的股权,丽水嘉庚投资合伙企业(有限合伙)(以下简称“嘉庚投资”)持有公司另外36.54%的股权。嘉庚投资目前共有11位自然人股东,其中有4位股东持股比例超过10%,分别为张晨樱、杨帆、杜旭和章寅。
通过股权穿透,章寅累计持有白鹭资管大约54.73%的股份,张晨樱、杜旭则间接持有公司大约6.5%和5%的股份。
界面新闻注意到,白鹭资管2022年2月在官微发布的年度回望及展望一文中曾提及,公司在2021年增加了30多位投研人员,全面布局各类投研方向,当时公司总人数一共85人,其中投研及IT人员一共60人。中基协数据显示,目前白鹭资管拥有全职员工39人,其中35人取得基金从业资格。这一定程度上说明公司近年来或有较大比例的减员。
实际上,2023年3月市场就曾一度传出白鹭资管核心人员离职的消息,当时白鹭资管相关负责人曾回应表示,2022年以来有个别投研同事离职,主要涉及一些细分方向的研发。所有代码归属公司,由投资总监统一管理整合,白鹭实盘未受任何影响,所有产品均平稳运行至今。
天眼查APP数据显示,作为白鹭资管股东之一的嘉庚投资曾在2022年12月发生一次股东变更,公司合伙协议也同步进行了调整,一位名为姚沙的成员至此退出公司股东之列,此前姚沙曾在2021年9月新进成为该公司股东之一,不过持股比例并未披露。
另外,需要注意的是,根据天眼查APP数据,2016年至2017年白鹭资管的参保人数从3人大幅增加至51人,随后在2018年进一步增加至58人,2019年至2020年公司的参保人数却从52人大幅下降至仅为1人,并且截至2023年底依然仅为2人。
数据来源:天眼查App
