界面新闻记者|马悦然
时隔六个月,备受业内关注的通威股份(600438.SH)并购润阳股份一事最终告吹。
2月14日晚,通威股份发布公告称,将终止向江苏润阳新能源科技股份有限公司(下称润阳股份)意向性增资,这意味着其将终止对润阳股份的收购。
这距离去年8月13日收购消息宣布之日时,已过去半年。彼时,通威股份宣布50亿元收购全球第五大电池厂润阳股份,引起行业“大地震”。业内人士因此纷纷猜测,行业兼并重组大幕是否就此拉开。
通威股份在最新公告中表示,自增资意向协议签署后,其组织业务团队以及各中介机构积极展开对润阳股份深入的审计、评估、法律和业务尽职调查,交易各方也持续以有利于润阳股份及相关方长期可持续发展为目标,进行了多轮详细、全面地沟通磋商,但截至目前仍有部分商务条款未能达成一致,最终经协商一致,决定终止意向性增资事项,增资意向协议亦同时解除。
一业内人士对界面新闻记者称,通威终止收购润阳,或是出于全行业亏损背景下的“止血”考虑,终止大额资本开支、静待行业回春或是其审慎思考后的最终选择。

通威股份和润阳股份双方仍保持合作的可能。
润阳股份主营业务以光伏电池的研发、生产和销售,同时涉足工业硅、多晶硅、硅片、组件及光伏电站业务,目前已通过内蒙古润阳悦达新能源科技有限公司和宁夏润阳硅材料科技有限公司(下称项目公司)形成多晶硅产能超13 万吨。
通威股份为全球多晶硅龙头企业。基于双方业务背景,公告表示,双方拟探讨项目公司多晶硅业务的经营合作:由通威股份提供专业技术及管理支持等方式,协助项目公司进行经营管理提升,优化项目公司多晶硅业务产业竞争力。
“具体合作事项尚在初步探讨中,存在不确定性。”通威股份称。
公告显示,前期签订的增资意向协议仅为交易各方达成的初步意向。通威股份称,在本次交易中尚未向其他交易方支付任何款项,增资意向协议解除后,协议各方仍需继续遵守保密条款约定,但交易各方均无需对本次交易的终止承担赔偿及法律责任。
按照去年披露的原收购计划,通威股份与江苏悦达集团有限公司(下称悦达集团)等各方签订增资意向协议。该协议签订后,悦达集团将对润阳股份进行现金增资10亿元。
在通威股份成对润阳股份完成尽调等工作并达成正式增资具体方案后,将以自有或自筹资金向润阳股份现金增资,同时现金收购悦达集团前述取得的润阳股份股权,合计取得润阳股份不低于51%的股权。
该交易预估金额不超过50亿元,如顺利落地,润阳股份将成为通威股份控股子公司。
但行业寒冬一直在持续,通威股份等硅产业链龙头本身已经“亏麻了”。今年1月,通威股份发布业绩预告,预估其去年净亏损额达70亿-75亿元。
润阳股份原是光伏电池板块的“佼佼者”,估值一度高达400亿元。但其IPO经历并不顺利,IPO注册批文在历时12个月后失效,历时两年多的上市进程最终宣告失败。
去年公告之初,通威股份对于此次收购的考虑,主要关乎完善产业链布局以及拓展海外市场两部分。
润阳股份拥有上游工业硅到终端光伏电站的完善产业布局,以及在美国、泰国、越南等海外区域拥有产能及市场积累。
通威股份认为,润阳股份的海外产能能够满足海外市场溯源要求,交易有利于补充其海外产能布局,拓宽海外高溢价市场的销售渠道。
此后,该收购进展缓慢,且润阳股份的负面信息不断。
去年11月,润阳泰国四期组件厂临时停工,该公司也持续在专利问题上和天合光能(688599.SH)“纠缠不清”。
与此同时,通威股份在收购问题上的口径也在悄然发生变化。去年11月12日,通威股份在对于润阳股份部分产能停产相关事宜的回复公告中称,不排除原交易方案可能存在调整或终止的风险;磋商过程中,交易各方也同步在积极探讨其他整合方案。
实际上,自从通威股份宣布收购润阳股份后,业内一直有质疑。去年,多位业内人士曾对界面新闻记者表示,该收购大概率不能成行。
一位不要具名的业内人士对界面新闻分析称,通威股份自身产能已经非常大,其想收购润阳股份,最看中的可能是后者的海外市场。但目前海外市场已不如当初,东南亚、美国等市场政策不确定性较大、贸易壁垒较强。这笔交易更像是盐城市政府和通威股份、润阳股份做的某种置换,即先解决润阳股份前期的资金问题。
去年9月底,润阳股份注册资本由3.6亿元增至4.5亿元,董事长由陶龙忠变更为张乃文,张乃文目前担任江苏悦达集团董事长。悦达集团实控人为盐城市人民政府。
这意味着,国资不仅深度参与到润阳股份的成长之中,且在此轮行业下行周期中,还扮演着救场的角色。
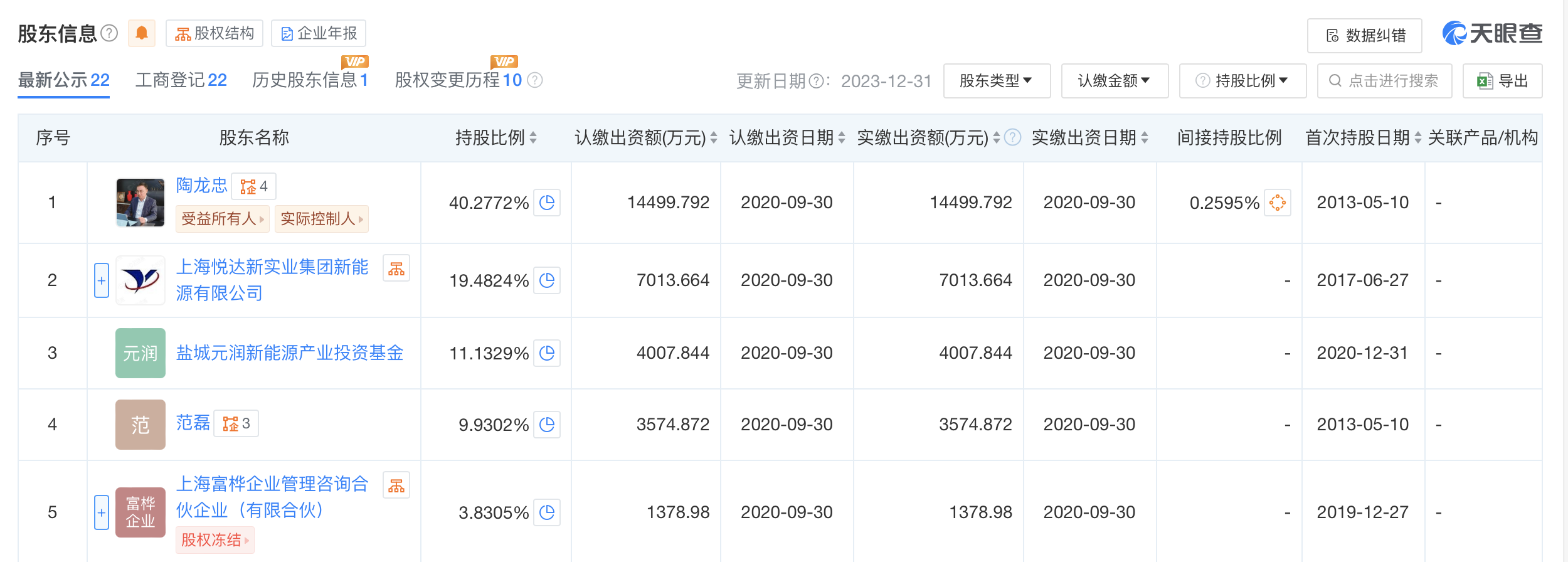
截至目前,天眼查APP显示,润阳股份的最大股东为陶龙忠,持股比例约40.3%,其为该公司创始人;第二大股东为上海悦达新实业集团新能源有限公司,持股比例约19.5%,该公司为悦达集团全资子公司。
去年以来,协会、政府等层面多次倡导光伏行业兼并重组,但目前企业层面落地的实例较少。在供需失衡、产业链亏损的背景下,鲜有企业愿意收购更多产能且能拿出大笔投资成本。
除通威股份外,去年宁德时代还被曝出将收购“光伏黑马”一道新能,但后续宁德时代(300750.SZ)董事长曾毓群向界面新闻回应称,从未考虑收购光伏企业。此后,行业再无更多兼并重组消息放出,出现更多是国资在为濒临破产企业拖底。
