界面新闻记者 |
界面新闻编辑 | 牙韩翔
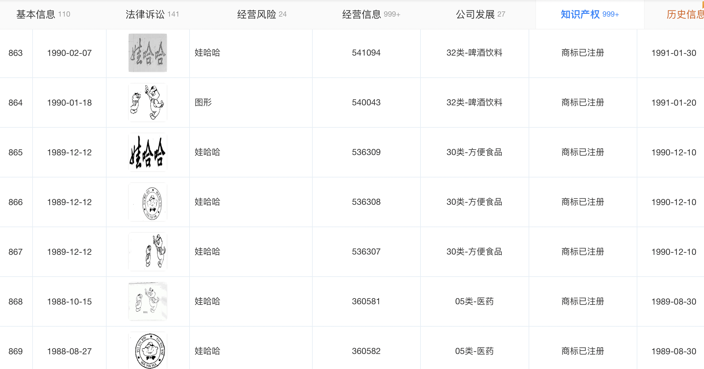
2月11日,界面新闻查询国家知识产权局商标局官网发现,杭州娃哈哈集团有限公司正在对“娃哈哈”商标进行转让,目前“申请收文”环节已结束,日期为2025年1月21日,但商标受让主体未显示。
随后,娃哈哈通过官方微博发布声明称,目前,“娃哈哈”系列商标共计387件正在国家知识产权局申请由杭州娃哈哈集团有限公司(下称“集团公司”)转让至杭州娃哈哈食品有限公司(下称“食品公司”)。
2月13日,界面新闻从一位接近娃哈哈的人士处获悉,该商标转移申请主要目的在于集团内部提升合规化经营。而完成商标转让登记备案是提升合规化经营的一部分,其他如员工劳动合同转移等举措也持续展开。
据悉,宗馥莉出任娃哈哈董事长和总经理之后,其采用现代化企业管理的方式进行了一系列组织架构和管理规章制度的调整,并对娃哈哈发展历程中的遗留问题进行梳理,提高整体运转效率。
而商标是其中颇为关键的一部分。
娃哈哈的声明也提及了娃哈哈系列商标转移的历史因素。
声明称,“娃哈哈”系列商标初始登记在集团公司名下,食品公司成立时,娃哈哈集团曾以“娃哈哈”系列商标作为出资,注入食品公司,获得其39%股权。这一商标出资经过评估并获得当时主管部门的同意,“娃哈哈”系列商标也作为实物出资项下的无形资产列入,同时部分商标以资产转让方式由食品公司向集团公司购买。
据此,食品公司获得“娃哈哈”系列商标所有权,集团公司取得食品公司39%的股权。
当时,双方按规定向主管机关提交了商标转让申请,但因集团公司与外资公司之间的历史纠纷,未完成商标转让的登记备案,并非因其他法律、行政法规所规定的禁止转让事由。而“娃哈哈”系列商标登记在集团公司名下期间,食品公司作为商标实际权利人长期自用,并持续授权集团公司及其关联方使用“娃哈哈”系列商标。
现在,娃哈哈集团公司则要完成商标转让登记备案。
此事引发舆论关注的重点在于,如今娃哈哈的商标价值较当年有了巨大的变化,此次转移是否会造成国有资产流失?其次,为何在这么长时间内都没有完成这个商标转移登记的环节?
对此,上述接近娃哈哈的人士向界面新闻表示,集团公司在1996年2月通过“娃哈哈”系列商标作为出资注入食品公司,获得其39%股权时,享有作为食品公司的股东权利。集团公司也已完成向食品公司履行出资义务,而食品公司获得“娃哈哈”系列商标所有权。
而此次外界所谓的“转移”,事实上是商标转让登记备案的动作,不涉及商标资产价值评价。这一商标出资的评估早在集团公司出资注入食品公司时就已完成。
此外,在注入食品公司时,双方已经按规定向主管机关提交了商标转让申请,但直到娃哈哈与达能公司出现纠纷时,商标转移登记仍然未落地完成。
随后,娃哈哈的商标所有权陷入了更复杂的关系之中。

1996年,娃哈哈集团与法国达能公司达成合作,达能出资4500万美元加5000万人民币商标转让款,占合资公司51%股份,娃哈哈集团占有49%的股份,达能从合资公司里分得利润。成立合资公司后双方签署了《商标转让协议》,然而该协议因不符合《企业商标管理若干规定》而被原国家工商总局商标局两次驳回。
1999年,双方签订了《商标使用许可合同》,将商标许可给合资公司在一定期限内使用“娃哈哈”商标,并终止了《商标转让协议》。
随着娃哈哈与达能的合作在2006年出现裂痕,一份所谓的“阴阳合同”被曝光,引发了双方对于商标权属的激烈争议。
双方由此展开了长达数年的“达娃之争”。
2007年12月,达能公司提起国际仲裁要求履行转让协议,而娃哈哈集团则通过杭州仲裁委员会确认《商标转让协议》已于1999年12月终止。杭州仲裁委员会于2007年12月作出了裁决,明确支持了娃哈哈集团的观点,确认《商标转让协议》已于1999年终止,“娃哈哈”商标归属娃哈哈集团。仲裁裁定商标所有权仍归娃哈哈集团所有。
基于这份判决,有公众认为与2025年2月12日娃哈哈发布的声明有所出入。
在声明中娃哈哈表示商标所有权应当属于食品公司,只是未完成转移登记,但判决书中则表明商标归属娃哈哈集团。
对此,娃哈哈方面进一步回应称,杭州仲裁委员会在2007年12月出具的《裁决书》仅从《商标转让协议》层面判断双方就该《商标转让协议》的权利义务是否终止,并未基于食品公司各股东之间就合资事项达成的约定及食品公司章程的规定,对娃哈哈集团关于食品公司的出资等义务是否终止进行判断。
该《裁决书》并不具有否定食品公司各股东达成的出资约定和消除娃哈哈集团出资义务的效力。因此,不应当因存在客观阻碍“娃哈哈”系列商标办理商标转让手续的障碍而否认集团公司的出资行为以及食品公司获得“娃哈哈”系列商标所有权的事实。
通俗而言,当时的判决是在“娃哈哈”和“合资公司”之间的纠纷中,将商标所有权划归为娃哈哈方面,但不影响最初娃哈哈集团公司和食品公司的股权交易约定。
事实上,这些错综复杂的历史遗留问题一直存在,且事关商标这一颇为重要的资产。上述接近娃哈哈的人士透露,在宗馥莉全面接管娃哈哈之后,开始将这些历史问题梳理清晰,提升整体合规性。

商标转移登记只是其中一部分,此外变化也包括了员工劳动合同的转签。
上述人士透露,娃哈哈员工劳动合同转签的原因也同样是提升合规性,因为部分员工当初签署的劳动合同与实际工作区域不相符,而为了确保社保、纳税和分公司总人力成本核算等与实际相符,将员工劳动合同进行转移。转移后员工的工龄、薪资和五险一金等情况不会发生改变。
但这些内部措施也因外部因素被放大。
例如有传闻称娃哈哈要求员工转签合同至宏胜集团,宗馥莉上任之后进行“去娃哈哈化”改革,甚至有员工因为不同意转签合同而年终奖有所折损等情况。
但接近娃哈哈的人士透露,员工转签合同并非都转至宏胜,而是根据他们的实际工作地进行转移。此外,年终奖的发放与转签合同无直接关系,而是根据员工年度绩效考核发放。
在宗馥莉接替她父亲成为娃哈哈的领导人物之后,这家公司的一举一动都受到外界巨大的关注。
这一年她的继承之路如同一场硬战。从宗馥莉上任后的第一份成绩单来看,娃哈哈的业绩重回700亿元高峰区间。但除了需要梳理公司组织架构、管理制度、产品矩阵、生产线升级和渠道策略之外,她还面临着其所倡导的现代化管理方式与娃哈哈发展历程中传统思维的冲突。这也是继承道路上绕不开的挑战。