界面新闻记者 |
作为山东能源集团旗下新三板上市公司,丰源轮胎(872663.NQ)正式开启北交所上市之旅。不过,由于公司第二大国资股东所持股份被悉数冻结,这也给公司接下来的IPO蒙上了一层阴影。
山东能源集团再造一个IPO
11月28日晚间,丰源轮胎发布公告称,公司于11月26日与申万宏源证券承销保荐有限责任公司签订了关于公司向不特定合格投资者公开发行股票并在北交所上市的《辅导协议》,并于当日向山东证监局报送了IPO辅导备案文件。这意味着,丰源轮胎将正式向北交所上市发起冲刺。
公开资料显示,丰源轮胎成立于2007年5月,总部位于山东枣庄,系由山东能源枣矿集团、峄城区国有资产经营有限公司、丰源集团三方共同管理的大型现代化轮胎研发与制造企业,2018年4月在新三板挂牌上市。
据悉,公司总体规划规模为年产2000万条半钢子午线轮胎,概算总投资为20亿元,目前一期工程建设规模为年产1000万条半钢子午线轮胎,2023年产能利用率为91.28%。

丰源轮胎半年报披露称,“公司拥有行业专业设计技术及研发团队,建成省级企业研发中心和国家认可实验室,与青岛科技大学、华南理工、吉林大学等高校开展科研和人才项目合作。公司生产的高性能、差异化的绿色安全轮胎,获得市场广泛认可。客户类型主要为国内轮胎经销商、国际贸易代理商、国际轮胎经销商、汽车整机厂、轮胎零售商等”。
从丰源轮胎的股东构成来看,公司共有三名法人股东:枣庄矿业集团有限责任公司(下称“枣矿集团”)持股60.50%,山东峄州国有资产管理运营集团有限公司(下称“ 峄州国资 ”)持股25.58%, 山东丰源集团股份有限公司(下称“丰源集团”)持股13.92%。其中,丰源集团系二股东峄州国资控制的公司。
具体来看,丰源轮胎的控股股东枣矿集团系山东能源集团权属企业。天眼查APP显示,山东能源集团持股86.3095%,鲁信创投(600783.SH)的控股股东山东省鲁信投资控股集团有限公司持股13.6905%。
作为“山东第一省属国企”,山东能源集团旗下境内外上市公司共12家,2023年集团总资产突破1万亿元,营业收入8520亿元,2024年位列世界500强第75位。无论是收入、利润,还是上缴税金,均位居山东省属企业之首。
据界面新闻梳理,山东能源集团境内上市公司包括兖矿能源(600188.SH)、山东玻纤(605006.SH)、新风光(688663.SH)、中泰证券(600918.SH)、云鼎科技(000409.SZ)等。此外,集团旗下还拥有新三板挂牌企业5家,除即将IPO的丰源轮胎外,还包括齐鲁云商(873433.NQ)、国拓科技(872810.NQ)、泰星股份(873321.NQ)、探创科技(874441.NQ)。
若丰源轮胎此番能够顺利登陆北交所,山东能源集团旗下将再增一家上市公司。
国资二股东股权遭冻结
然而,相比背靠的山东能源集团这棵大树,丰源轮胎的第二大国资股东却有些“拉胯”。
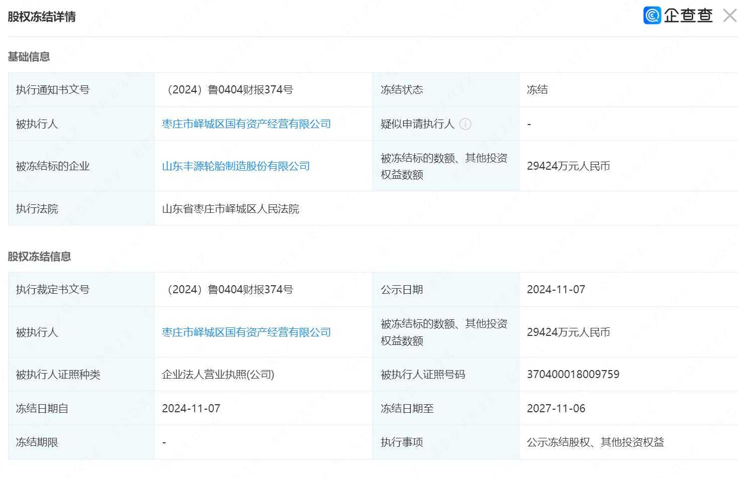
界面新闻注意到,峄州国资系枣庄市峄城区财政局全资控股的投资运营平台,今年以来,该公司持有的丰源轮胎超25%股权已接连三次遭到司法冻结。
企查查APP显示,11月7日,峄州国资所持丰源轮胎2.94亿股股份被当地法院全部冻结,这也是峄州国资持有的丰源轮胎股权在今年内的第三次冻结,而上两次司法冻结分别发生在今年4月和7月。
值得一提的是,尽管公司第二大股东所持股权被全部冻结,但丰源轮胎后知后觉,并先后两次发布致歉公告。
4月23日,丰源轮胎披露称,公司股东峄州国资因股权转让纠纷事宜未能及时履行法院判决;根据山东省枣庄市峄城区人民法院民事裁定书,对峄州国资所持公司全部股份执行司法冻结,冻结期限为2024年4月3日起至2027年4月2日止。
与此同时,丰源轮胎发表声明称,“由于公司股东未及时告知股份冻结情况导致未能及时披露。此项信息在公司近期自查工作过程中被发现,并立刻开展了对该项信息详细的核实工作”,“公司对未能在第一时间披露给投资者带来的不便深表歉意”。
然而,上述剧情又在今年7月份重演。
7月24日,丰源轮胎再次披露称,峄州国资所持公司全部2.94亿股股份被司法冻结,冻结期限为2024年7月19日起至2027年7月18日止。公司再次澄清,此项信息系在公司自查工作过程中所发现,由于公司股东未及时告知股份冻结情况导致未能及时披露。公司也不得不再次向投资者致歉,并称应增加自查频率,规范披露工作。
不仅如此,工商资料显示,峄州国资持有的枣庄弘熙投资管理有限公司、丰源集团、山东峄州资产管理有限公司三家公司股权自今年4月份以来也先后被法院冻结。
由于金融借款合同纠纷,峄州国资多次被金融机构告上法庭,其中包括民生银行临沂分行、光大银行济南分行、北京银行济南分行、华夏银行济宁分行、渤海银行济南分行等。
而从终本案件来看,峄州国资被执行标的总金额达2.92亿元,未履行金额为2.92亿元,未履行比例为100%。为此,峄州国资及法人徐海还曾被法院一度出具限制消费令。
据业内人士对界面新闻分析,从峄州国资的情况来看,公司或面临一定的流动性压力。尽管第二大股东所持股权被冻结未对公司生产经营造成影响,但对于丰源轮胎下一步IPO或增添不确定性。
丰源轮胎公告中称,公司公开发行股票并在北交所上市的申请存在无法通过北交所发行上市审核或中国证监会注册的风险,公司存在因公开发行失败而无法在北交所上市的风险。
从丰源轮胎的业绩来看,公司去年刚刚实现扭亏。今年上半年,得益于轮胎市场持续景气,公司调整销售结构销量增加,丰源轮胎实现净利润1.17亿元,较去年同期增长201.40%。
