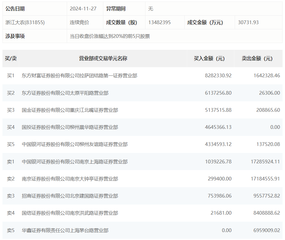
浙江大农今日涨停,龙虎榜数据显示,上榜营业部席位全天成交9206.25万元,占当日总成交金额比例为29.96%。其中,买入金额为3065.14万元,卖出金额为6141.12万元,合计净卖出3075.98万元。
具体来看,知名游资现身龙虎榜,东方财富证券拉萨团结路第一证券营业部、东方证券太原平阳路营业部分别买入828.23万元、613.73万元;中国银河证券南京上海路证券营业部、小鳄鱼(南京证券南京大钟亭证券营业部)分别卖出1728.59万元、1718.46万元。

浙江大农今日涨停,龙虎榜数据显示,上榜营业部席位全天成交9206.25万元,占当日总成交金额比例为29.96%。其中,买入金额为3065.14万元,卖出金额为6141.12万元,合计净卖出3075.98万元。
具体来看,知名游资现身龙虎榜,东方财富证券拉萨团结路第一证券营业部、东方证券太原平阳路营业部分别买入828.23万元、613.73万元;中国银河证券南京上海路证券营业部、小鳄鱼(南京证券南京大钟亭证券营业部)分别卖出1728.59万元、1718.46万元。

广告等商务合作,请点击这里
