龙虎榜丨酷特智能今日跌5.52%,三机构净买入1.04亿元

龙虎榜丨酷特智能今日跌5.52%,三机构净买入1.04亿元

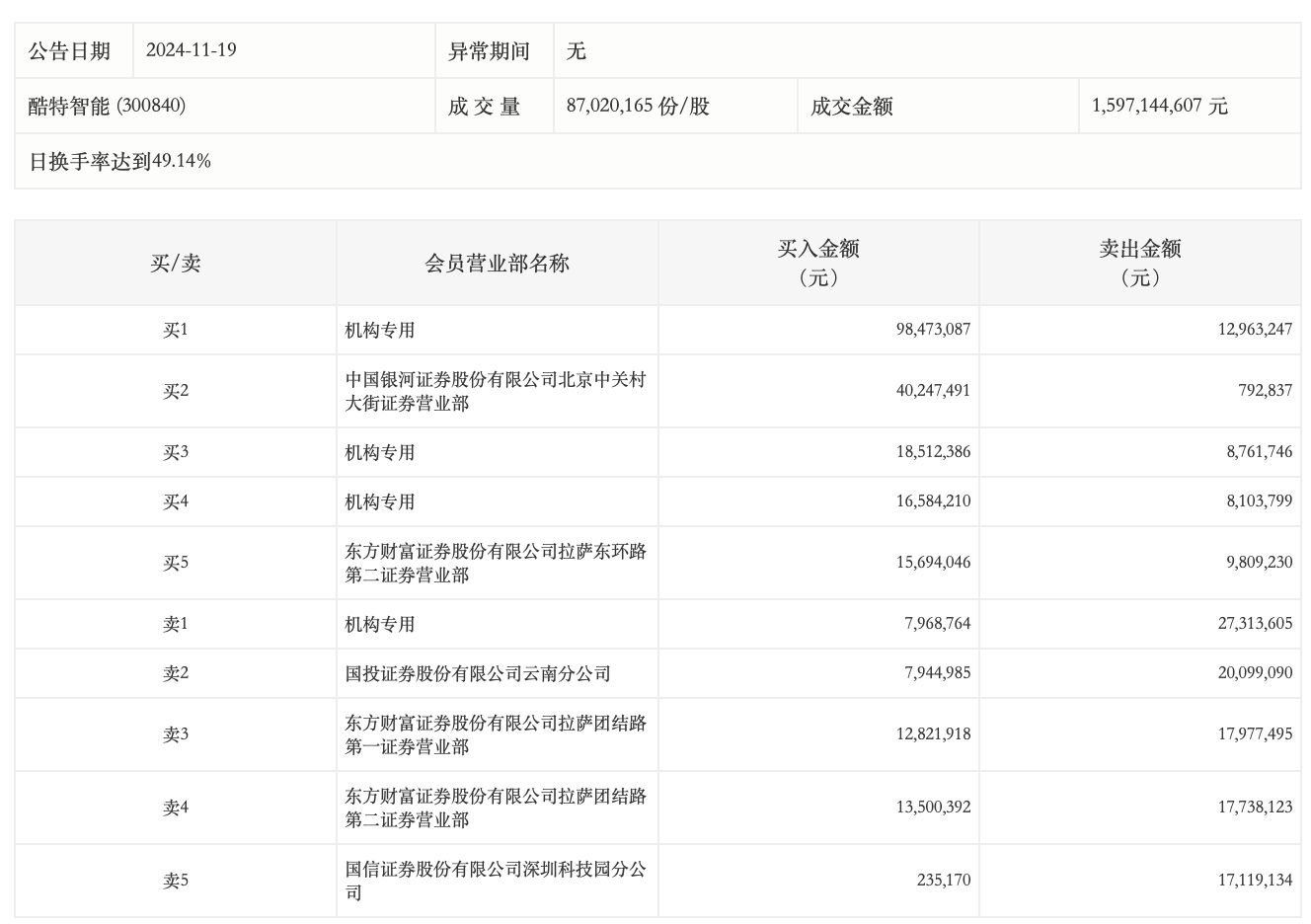
11月19日,酷特智能今日跌5.52%,成交额15.97亿元,换手率50.83%,盘后龙虎榜数据显示,三机构专用席位净买入1.04亿元,一机构专用席位净卖出1934.48万元。

 

    广告等商务合作,请点击这里

    未经正式授权严禁转载本文,侵权必究。

    打开界面新闻APP,查看原文
    界面新闻
    打开界面新闻,查看更多专业报道

    热门评论

    打开APP,查看全部评论,抢神评席位

    热门推荐

      下载界面APP 订阅更多品牌栏目
        界面新闻
        界面新闻
        只服务于独立思考的人群
        打开