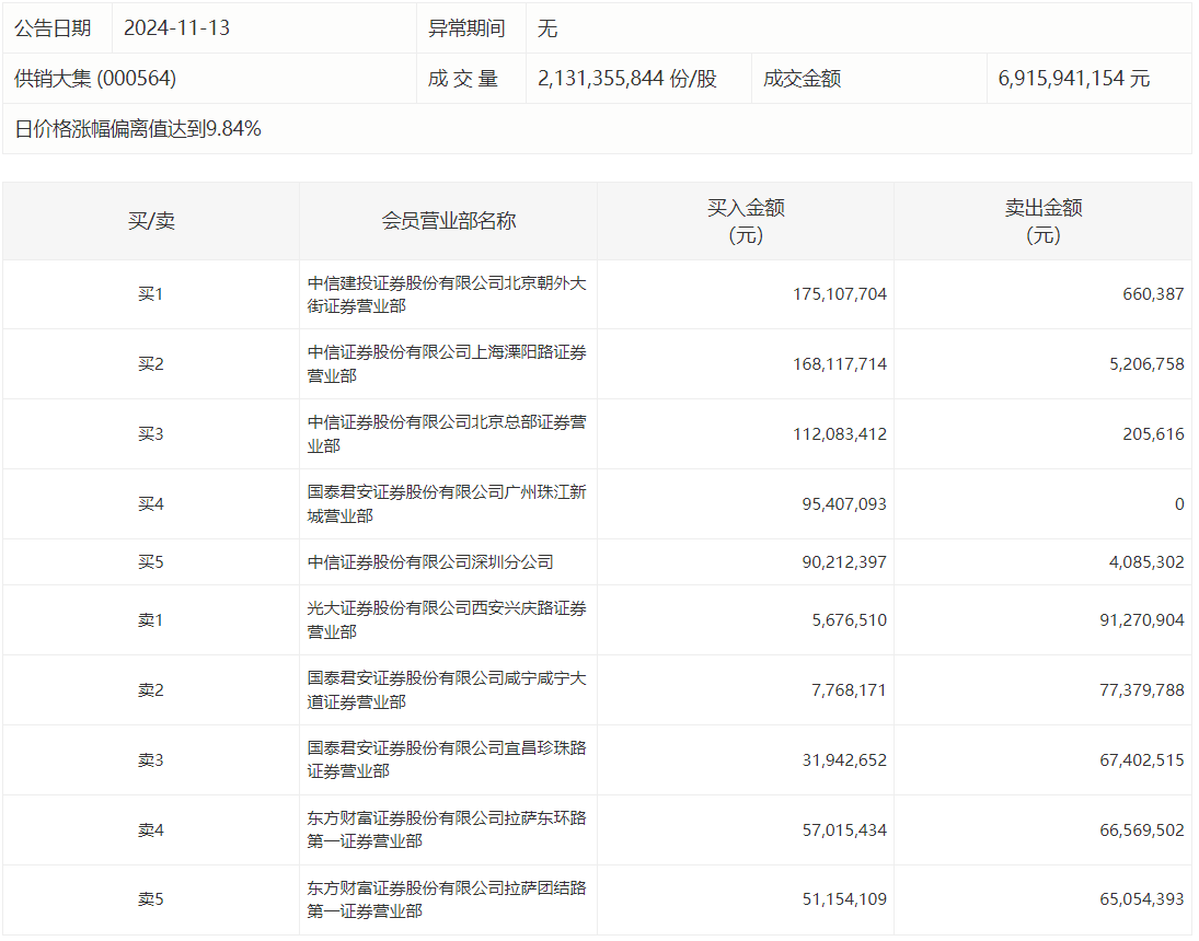
供销大集今日涨停,龙虎榜数据显示,上榜营业部席位全天成交11.72亿元,占当日总成交金额比例为16.95%。其中,买入金额为7.94亿元,卖出金额为3.78亿元,合计净买入4.17亿元。
具体来看,知名游资现身龙虎榜,中信建投证券北京朝外大街证券营业部、孙哥(中信证券上海溧阳路证券营业部)分别买入1.75亿元、1.68亿元;光大证券西安兴庆路证券营业部、国泰君安证券咸宁咸宁大道证券营业部分别卖出9127.09万元、7737.98万元。

供销大集今日涨停,龙虎榜数据显示,上榜营业部席位全天成交11.72亿元,占当日总成交金额比例为16.95%。其中,买入金额为7.94亿元,卖出金额为3.78亿元,合计净买入4.17亿元。
具体来看,知名游资现身龙虎榜,中信建投证券北京朝外大街证券营业部、孙哥(中信证券上海溧阳路证券营业部)分别买入1.75亿元、1.68亿元;光大证券西安兴庆路证券营业部、国泰君安证券咸宁咸宁大道证券营业部分别卖出9127.09万元、7737.98万元。

广告等商务合作,请点击这里
