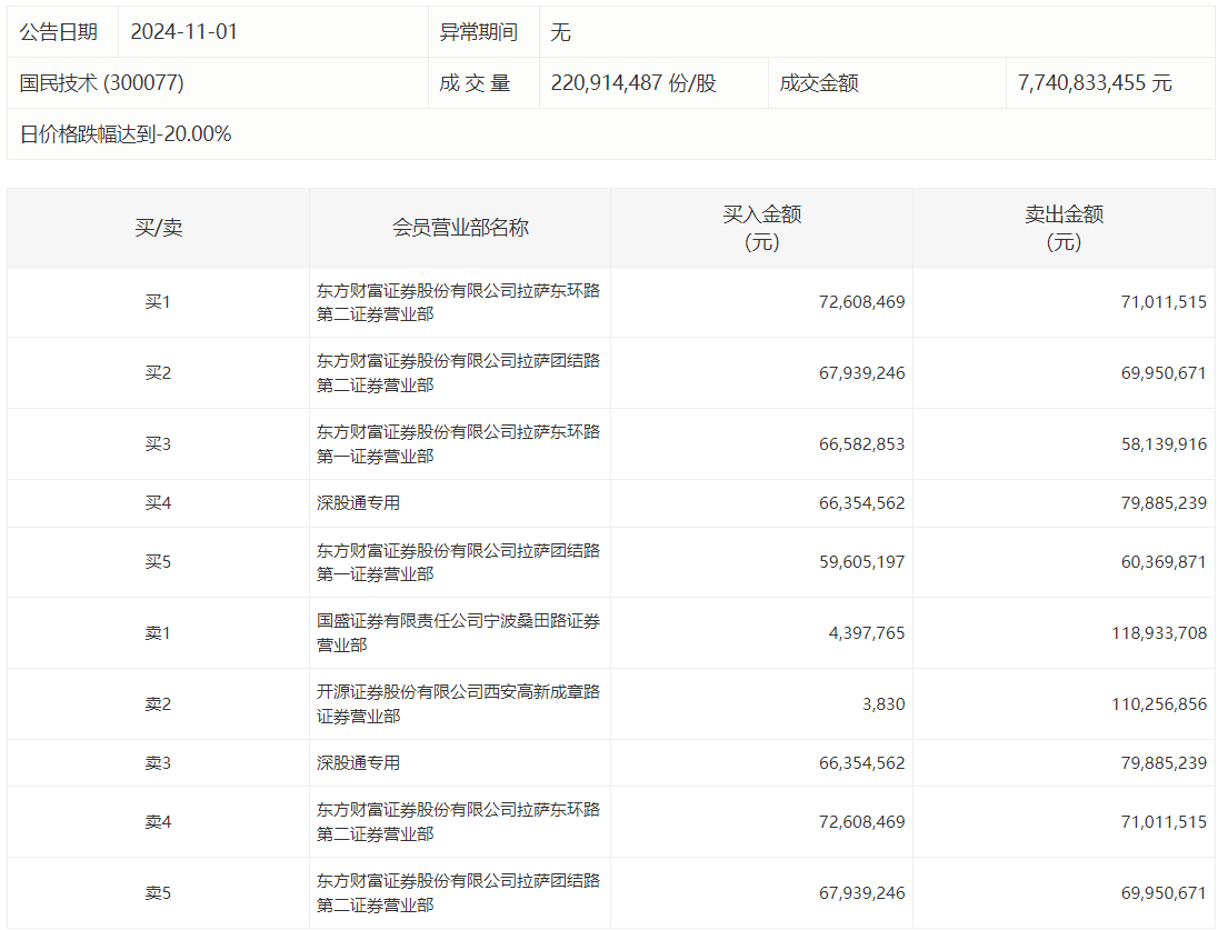
国民技术今日跌停,龙虎榜数据显示,上榜营业部席位全天成交9.06亿元,占当日总成交金额比例为11.7%。其中,买入金额为3.37亿元,卖出金额为5.69亿元,合计净卖出2.31亿元。
具体来看,知名游资现身龙虎榜,宁波桑田路(国盛证券宁波桑田路证券营业部)、开源证券西安高新成章路证券营业部分别卖出1.19亿元、1.10亿元;东方财富证券拉萨东环路第二证券营业部、东方财富证券拉萨团结路第二证券营业部分别买入7260.85万元、6793.92万元。

国民技术今日跌停,龙虎榜数据显示,上榜营业部席位全天成交9.06亿元,占当日总成交金额比例为11.7%。其中,买入金额为3.37亿元,卖出金额为5.69亿元,合计净卖出2.31亿元。
具体来看,知名游资现身龙虎榜,宁波桑田路(国盛证券宁波桑田路证券营业部)、开源证券西安高新成章路证券营业部分别卖出1.19亿元、1.10亿元;东方财富证券拉萨东环路第二证券营业部、东方财富证券拉萨团结路第二证券营业部分别买入7260.85万元、6793.92万元。

广告等商务合作,请点击这里
