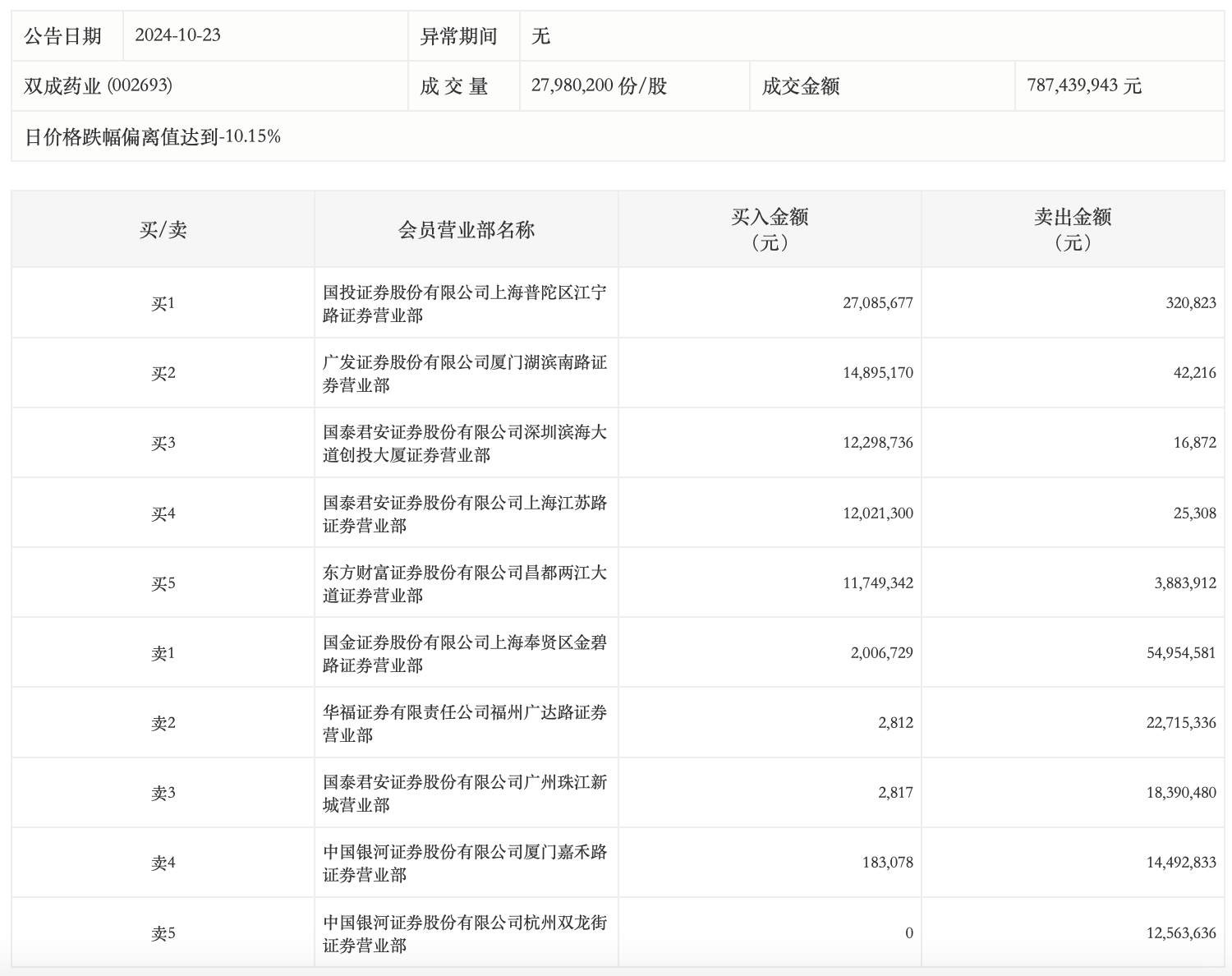
10月23日,双成药业今日跌停,龙虎榜数据显示,上榜营业部席位全天成交2.08亿元,占当日总成交金额比例为26.37%。其中,买入金额为8024.57万元,卖出金额为1.27亿元,合计净卖出4716.03万元。
具体来看,知名游资现身龙虎榜,章盟主(国泰君安证券股份有限公司上海江苏路证券营业部)净买入1199.60万元。此外,国金证券上海奉贤区金碧路证券营业部、华福证券福州广达路证券营业部分别卖出5495.46万元、2271.53万元;国投证券上海普陀区江宁路证券营业部、广发证券厦门湖滨南路证券营业部分别买入2708.57万元、1489.52万元。

