据证监会官网公告显示,国产量子传感器及仪器领先企业——国仪量子技术(合肥) 股份有限公司(下文简称“国仪量子”),于安徽证监局进行首次公开发行股票并上市辅导备案登记,辅导机构为华泰联合证券有限责任公司。
备案信息显示,国仪量子成立于2016年12月26日,注册资本2928.74万元,法定代表人贺羽,控股股东为合肥司坤股权投资合伙企业(有限合伙),持股比例为 27.20%。
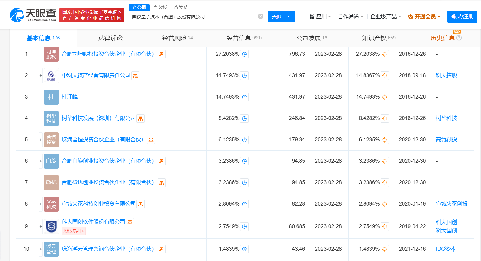
天眼查股权穿透图显示,截至目前,合肥司坤股权投资合伙企业(有限合伙)、中科大资产经营有限责任公司,中国科学院院士杜江峰,分别为国仪量子前三大股东,直接持有的该公司股份分别为27.2038%、14.7493%、14.7493%。
今年6月份,《中国独角兽企业研究报告2024》显示,2023年中国独角兽企业共有375家,国仪量子进入榜单,排名303,估值达10.2亿美元(约合71.51亿元人民币),是中国为数不多的传感器独角兽企业之一。
国仪量子历经多轮融资,参与融资的机构众多。
2018年3月,国仪量子完成天使轮,由树华科技参投;

2018年9月完成的A轮融资,投资方为科大讯飞、科讯创投、科大国创、科大控股。
该公司于2021年1月完成的B轮融资规模达数亿元,由高瓴创投领投,同创伟业、基石资本、招商证券跟投。有公开报道显示,这也是高瓴资本首次布局量子技术赛道。
2021年12月,国仪量子完成数亿元的C轮融资。投资方包括国风投基金、中科院资本、IDG资本、合肥产投、松禾资本、前海母基金等,讯飞创投、科大国创、高瓴创投、同创伟业、博时创新、火花创投等老股东也参与了该轮融资。
