记者|赵阳戈
证监会一份题为《始终坚持“长牙带刺”,一以贯之严监严管》的2024年上半年证监会行政执法情况综述,将欺诈IPO的华道生物拟为典型。该公司IPO报告期间,在财务数据上虚假记载,于2019年至2021年以虚开发票的方式虚假销售,同时伪造销售回款,最终公司及相关责任人员被罚款1150万元。
现场督导即撤回
8月16日,证监会发布2024年上半年行政执法情况综述,在坚持“申报即担责”,严惩欺诈发行,坚决阻断发行上市“带病闯关”方面,证监会将华道生物作为典型,对于涉嫌重大违法违规行为的发行人,即使撤回发行上市申请,坚持一查到底,华道生物未获注册但发行申报材料存在虚假记载,公司及相关责任人员被罚款1150万元。
公开信息显示,2021年12月21日华道生物获得受理,也是2021年12月21日首次披露申报稿,2022年1月17日进入问询环节,两轮审核问询期间,华道生物于2022年3月30日更新了说明书,将报告期更新为2019年至2021年。2022年8月22日,深交所启动了对华道生物首次公开发行股票并在创业板上市的保荐业务现场督导工作。而后不久2022年9月30日,华道生物撤回申请文件。
“带病闯关”这种侥幸的把戏,在“申报即担责”面前是不灵的。最终监管层完成立案调查,华道生物的虚假行为也浮出水面,华道生物自然也成了欺诈发行的典型。

据说明书介绍,华道生物主营从事医药中间体、农药中间体和新材料等精细化学品,是国内主要的苯磺酰氯、二苯砜、N-丁基苯磺酰胺生产商之一。其中,苯磺酰氯通过雅本化学(300261.SZ)和华谊集团(600623.SH)旗下产品进入农药巨头富美实(FMC)旗下全球第一大杀虫剂“康宽”的供应链体系;二苯砜作为替代双酚A的热敏纸显色材料进入了韩国韩松(HANSOL)和日本王子(OJI)等热敏纸厂商的供应链体系;增塑剂类产品N-丁基苯磺酰胺也通过拥有欧盟REACH认证的金忠化工进入赢创德固赛(Evonik Degussa)和阿科玛(Arkema)长碳链尼龙类产品的供应链体系。此外,公司产品3-异色满酮也通过华谊集团(600623.SH)进入了科迪华(Corteva) 杀菌剂啶氧菌酯的供应链体系。
虚假!董事长等悉数被罚
不过,一场华丽下,却有虚假的存在。
根据证监会对华道生物及其责任人员的行政处罚决定书,华道生物在2019年至2021年存在虚假记载。2019年,华道生物虚开发票给没有业务往来的木材经营部、木材加工厂等个体户或企业,并通过华道生物控制的关联方(苏州天健食品添加剂有限公司、苏州伊迈特生物试剂有限公司、苏州伊兰吉诺企业管理中心(有限合伙)、苏州英倍名食企业管理中心(有限合伙)、江苏英伦倍健有限公司、苏州倍健名食投资中心(有限合伙),以下简称关联方)及其他公司和个人银行账户取现,再以客户销售回款的名义存现给华道生物。2020年中介机构尽职调查期间,为配合中介机构有关客户走访的需求,将前述虚开发票的对象变更为7名个人,同时红字冲销并重开发票。2021年个人客户访谈不顺利后,华道生物再次将前述虚开发票的对象变更为河南鑫瑞达新材料有限公司、姚为柱、昆山市常青化工有限公司,并再次红字冲销、重开发票。经查,华道生物通过前述方式虚增2019年销售收入2559.65万元,占披露的当年销售收入比例为10.87%,虚增利润1215.17万元,占披露的当年利润总额比例为28.31%。
2020年至2021年,华道生物通过向湖北迪美科技有限公司、吉林省达之明经贸有限公司、江苏福特宏晔化工有限公司、金溪县云祥药业有限公司、辽宁天一农药化工有限责任公司、内蒙古世杰化工有限责任公司、内蒙古众合化工仓储有限公司、寿光诺盟化工有限公司、长春市新傲实业有限公司、宁夏顺邦达化工有限公司、镇江创力化工有限公司共11家客户虚开发票,并通过华道生物控制的关联方及其他公司和个人银行账户制造销售回款方式,虚增2020年销售收入2637.61万元,占披露的当年销售收入的7.63%,虚增利润总额1061.21万元,占披露的当年利润总额的15.45%;虚增2021年销售收入2876.11万元,占披露的当年销售收入的8.37%,虚增利润总额1500.14万元,占披露的当年利润总额的20.54%。
华道生物董事长、总经理刘明荣知悉并同意华道生物2019年至2021年虚增销售收入和利润的行为,是直接负责的主管人员。
董事周培良负责组织、实施华道生物财务造假:2019年提议通过财务造假的方式虚增利润,并安排人员具体实施;2020年和2021年联系客户配合虚增收入并安排资金划转等相关事宜,是直接负责的主管人员。
财务总监金利忠参与谋划、实施华道生物的财务造假行为,是直接负责的主管人员。
董秘宗冬青负责华道生物信息披露工作,无证据证明其已勤勉尽责,是其他直接责任人员。
陈荍虽未在华道生物中担任董事、监事和高级管理人员职责,但其作为刘明荣外甥女,是华道生物IPO协调人,帮助刘明荣接洽投资者和中介机构等人员,在华道生物财务造假中,陈荍根据周培良指示,控制使用华道生物体外银行账户给客户指定账户转账以完成虚假销售资金回款,在华道生物财务造假中承担重要角色,是其他直接责任人员。
最终,证监会决定:
- 一、对华道生物处以300万元的罚款;
- 二、对刘明荣处以250万元的罚款;
- 三、对周培良、金利忠分别处以200万元的罚款;
- 四、对宗冬青、陈荍分别处以100万元的罚款。
董秘转型失利
从上述描述来看,董事长、总经理刘明荣,董事周培良,财务总监金利忠,陈荍是明确公司的虚假行为,但董秘宗冬青负责的是华道生物的信息披露工作,无证据证明其已勤勉尽责。实际上当事人宗冬青及其代理人在听证及陈述申辩材料中提出:未直接参与、不具有主观过错、在财务造假中所起的作用较小,请求对其不予处罚或减轻处罚。而针对宗冬青的申辩意见,当事人不具有不予处罚、减轻处罚的情节,证监会综合当事人违法行为的事实、性质、情节与社会危害程度作出行政处罚,量罚并无不当。
可见,董秘确算系极具挑战的职业。
资料显示,宗冬青曾受让过刘明荣的持股,持股50万股。宗冬青1974年11月出生,中国国籍,无境外永久居留权,本科学历,中级经济师。1994年7月至1996年10月任上海能源化工总公司外事秘书;1996年10月至2000年1月任上海百利加防腐工程有限公司总经理秘书; 2000年1月至2002年6月任上海通用电气广电有限公司副总经理秘书;2002年6月至2005年9月任通用电气(中国)有限公司采购专员;2005年10月至2017年7月任上海广电电气(集团)股份有限公司董事会办公室主任兼证券事务代表;2017年8月至2019年5月任上海禾之轩电子商务有限公司副总经理。2019年6月任职于华道生物。
从广电电气(601616.SH)的证代转型为IPO公司的董秘,看似机遇怎奈却是坑。
突击入股的资方怎么办?
公开资料显示,华道生物IPO之前,有资本入局。
2018年8月,汇启锦通受让周培良100万股,转让价格13.5元/股,转让价款合计1350万元。
2018年12月和2020年7月,常熟国发受让周培良200万股,转让价格8元/股,转让价款合计1600万元。
2020年7月,华道生物启动增资,新增1817.5万元注册资本由金浦投资、苏州同来、汇启锦通、白雪电器认缴。
2020年10月,中金启辰、新希望投资、中化高新、南京创熠完成对公司增资11460万元。
在说明书中,华道生物提到,历史上涉及对赌协议的包括汇启锦通、常熟国发、金浦投资、吴建亚、新希望投资、中化高新、南京创熠及中金启辰,虽说IPO时解除了相关特殊条款,但华道生物现在涉及欺诈发行,资本恐怕也会讨说法。
界面新闻注意到,这许多机构中,还有国企。常熟国发是常熟市发展投资有限公司全资子公司,常熟市发展投资有限公司由常熟市国有资本投资运营集团有限公司100%持股。入坑的还有新希望投资,其背后是刘永好的新希望集团。中化高新的背后是另一家兴发集团(600141.SH),持有30%的中化高新。南京创熠的背后也有国有资本的身影。
“资本是投资行为,关键看投资合同约定有无这个条款”,上海申浩律所陈世君律师如此表示。
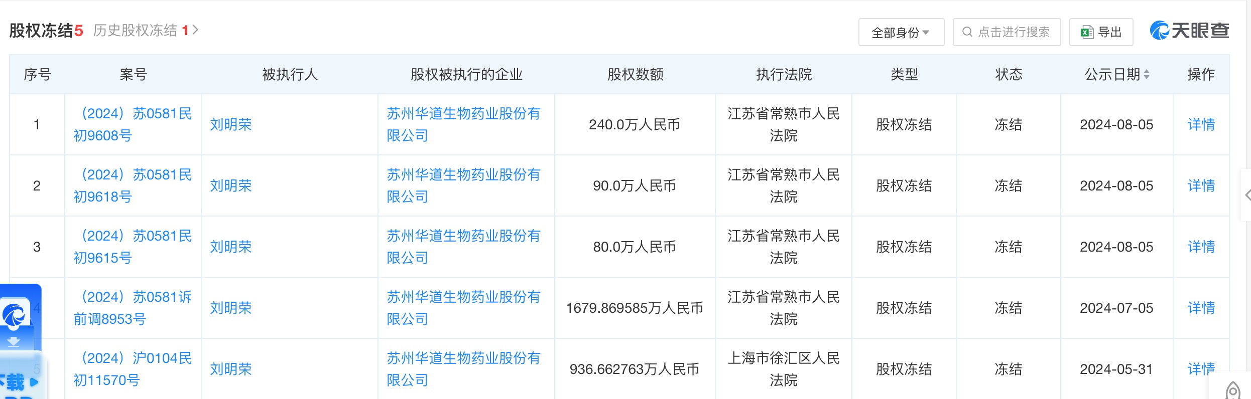
界面新闻从天眼查看到,华道生物近来已是麻烦四起。
2024年5月来,华道生物董事长、总经理刘明荣的持股已多次被冻结。最近公示时间是2024年8月5日。
2024年8月19日,华道生物成为被执行人,执行法院建湖县人民法院,执行标的522.9万元,原告为建湖县东昇农村小额贷款有限公司,被执行人除了公司外还有刘某,曹某。
立案的信息有两条。
