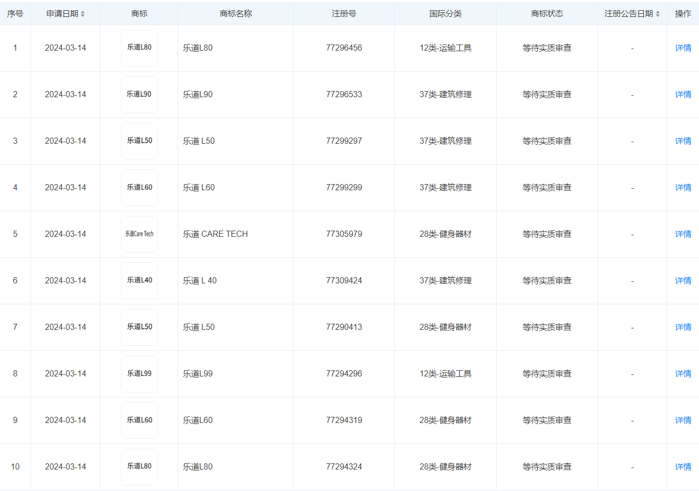
4月8日消息,天眼查知识产权信息显示,近日,蔚来汽车科技(安徽)有限公司申请注册“乐道CareTech”“乐道L10”至“乐道L90”,以及“乐道L66”“乐道L77”“乐道L88”“乐道L99”商标,国际分类为运输工具、建筑修理、健身器材等,当前商标状态均为等待实质审查。

4月8日消息,天眼查知识产权信息显示,近日,蔚来汽车科技(安徽)有限公司申请注册“乐道CareTech”“乐道L10”至“乐道L90”,以及“乐道L66”“乐道L77”“乐道L88”“乐道L99”商标,国际分类为运输工具、建筑修理、健身器材等,当前商标状态均为等待实质审查。

广告等商务合作,请点击这里
