界面新闻记者 |
近来,A股周期资源板块持续爆发,有色金属概念股反复活跃,铜和小金属方向领涨。截至4月3日收盘,晓程科技(300139.SZ)20CM涨停,闽发铝业(002578.SZ)、白银有色(601212.SH)、北方铜业(000737.SZ)等10只概念个股涨停。
其中,北方铜业已4天3板,于3月29日、4月2日、4月3日收获3个涨停板。至此,界面新闻根据东方财富Choice数据统计,3月13日至4月3日,该股票价格区间累计涨幅为93.72%,换手率242.16%,成交额142亿元,股价从每股5.52元升至10.79元。
期间,北方铜业公司股票交易数次触及涨幅异常波动情形。

行情走高,资金却对北方铜业的态度出现分化。4月3日,北方铜业成交额20.62亿元,其中主力资金流入9.96亿元、流出11.27亿元,主力资金净流出1.31亿元。目前,3月13日至4月3日,北方铜业仍获主力资金净流入937.17万元。

知名游资频繁登上北方铜业的龙虎榜。4月3日,北方铜业龙虎榜数据显示,机构合计净买入4478.06万元,其中深股通专用账户买入3961.31万元并卖出3675.98万元,招商证券广州华穗路证券营业部买入6018.89万元。

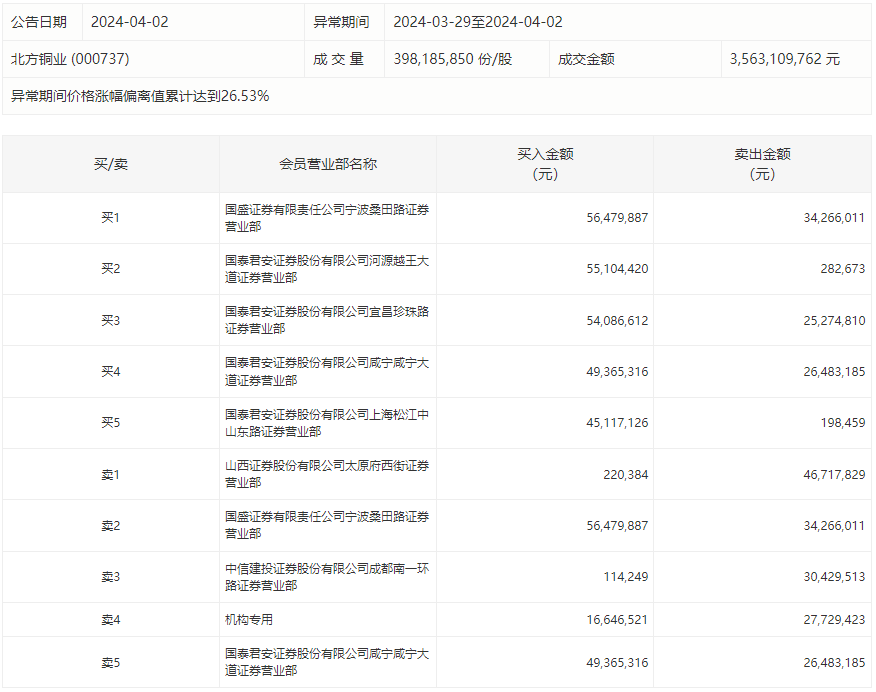
3月29日至4月2日,北方铜业异常期间价格涨幅偏离值累计达26.53%。龙虎榜数据显示,知名游资宁波桑田路(国盛证券有限责任公司宁波桑田路证券营业部)买入5647.99万元并卖出3426.6万元。

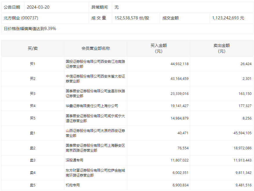
3月20日,北方铜业龙虎榜数据显示,机构合计净卖出258.07万元,其中,深股通专用账户买入1180.7万元并卖出1191.34万元;知名游资方新侠(中信证券西安朱雀大街证券营业部)4316.45万元并卖出2301元。

北方铜业行情拉升背后,是近期有色金属行业大热。近期在铜精矿产量紧张、冶炼厂减产预期等影响下,铜价呈现大幅上涨,中国现货市场3月14日起已突破7万元/吨,达7.2万元/吨;期货市场LME铜3月15日突破9000美元/吨,达9074美元/吨。
国金证券于4月3日发布研报认为,铜冶炼供给减少预期进一步演绎,助推铜价上涨;2024年全球铜矿供给增长受限,头部矿企供应扰动加剧。德邦证券研报称,2024年全球货币环境由紧向松转变、国内经济逐步修复,有色金属板块有望迎来超额收益。
北方铜业股价飙升,也惹得监管层关注。4月3日,深交所对北方铜业下发关注函,要求公司说明公司基本面是否发生变化,近期股价涨幅与公司基本面是否匹配,结合同行业上市公司估值、市盈率、股价变动幅度等,就公司近期股价大幅波动进行充分的风险提示,并核查是否存在应披露而未披露的重大信息。
同时,关注函要求北方铜业核查公司控股股东、实际控制人、持股5%以上股东、董事、监事、高级管理人员及其直系亲属近一个月买卖公司股票的情况及是否存在涉嫌内幕交易的情形,未来六个月是否存在减持计划,并报备交易明细和自查报告。
4月2日、3月17日,北方铜业均发布异动公告称,公司近期经营情况及内外部经营环境未发生重大变化;公司除在证监会指定信息披露媒体上已公开披露的信息外,不存在关于本公司的应披露而未披露的重大事项。公司控股股东和实际控制人均不存在关于本公司的应披露而未披露的重大事项,或其他处于筹划阶段的重大事项。
北方铜业是华北地区最大的采选冶铜联合企业,主营铜金属的开采、选矿、冶炼及销售等,主要产品为阴极铜、金锭、银锭,副产品为硫酸、海绵金、海绵钯等,公司的业务覆盖铜业务主要产业链。公司采选能力为900万吨/年,为我国地下非煤开采规模最大的现代化矿山之一。截至2022年末,铜矿峪矿保有铜矿石资源量22,461.56万吨,铜金属136.25万吨。截至目前,公司拥有自有矿山一座(铜矿峪矿)以及冶炼厂两个(垣曲冶炼厂、侯马北铜)。
2023前三季度,该公司实现营收69.77亿元,同比下滑14.1%;归母净利润5.20亿元,同比降低7.18%。分季度看,2023年第三季度实现单季度营收24.4亿元,同比增长4.69%,环比增长25.3%;实现单季度归母净利润2.02亿元,同比增长447%,环比增长77.2%。
目前,该公司负债压力增加。截至2023年9月30日,北方铜业资产负债率增至61.79%,总负债增至77.44亿元,其中流动负债22.33亿元,期间货币资金收缩至10.04亿元。
3月1日,北方铜业向特定对象发行股票申请获得证监会同意注册批复。按照计划,该公司拟向不超过35名特定投资者非公开发行股票数量不超过531,736,850股,预计募资额不超10亿元,将用于北铜新材年产5万吨高性能压延铜带箔和200万平方米覆铜板项目中的压延铜带箔生产线建设及补充流动资金。
北方铜业透露,本次募投建设项目投产后将新增铜带产能4万吨/年和压延铜箔产能9428.60吨/年。公司目前募投项目产品主要处于小规模试样阶段、小批量试生产阶段。截至募集说明书出具日,公司募投建设项目之铜箔产品已经签署21.29吨(170.19万元)的销售订单、105吨(1192.31万元)意向协议,铜带产品已经签署5300吨(36413.26万元)意向协议。
