一年一度的“3·15国际消费者权益日”在即,在这一天最引人瞩目的,莫过于央视3·15晚会。作为商业与消费领域的“春晚”,3·15晚会不仅起到了监督市场、品牌、企业的作用,更为消费者对“识别风险”和“防坑防骗防诈”等核心利益层面,做出了重要且不可替代的警示作用。
时过一年,去年那些被晚会曝光的企业,如今是怎样的状况了呢?

责令整改、吊销执照:守护“舌尖上的安全”
只要往大米里滴几滴香精,原产地安徽的普通大米就可以摇身一变为“泰国茉莉香米”,一年卖出1000多吨。2023年的央视3·15晚会,曝光了假泰国香米的生产内幕。其中,寿县永良粮油食品有限公司、安徽香王粮油食品科技有限公司等被点名。

天眼查行政处罚信息显示,2023年4月13日,寿县永良粮油食品有限公司因虚假宣传被淮南市市场监督管理局罚款200万元。处罚事由显示,当事人为了获得市场竞争优势,提高大米销量,将寿县稻谷生产的大米宣称“二代泰国香米”,且以普通大米价格进行销售吸引消费者,使消费者将购买的寿县产大米与泰国产大米混淆,误认为购买的是泰国大米。抽查检查信息显示,寿县市场监督管理局分别在2023年4月、7月对寿县永良粮油食品有限公司进行2次抽查检查,结果均为“责令整改”。

无独有偶,被曝光的安徽合肥市香王粮油食品科技有限公司受到了更严厉的处罚。天眼查经营风险信息显示,2023年8月,肥东县市场监督管理局对安徽合肥市香王粮油食品科技有限公司做出“罚款、吊销营业执照;吊销食品生产许可证”的行政处罚。因为添加香精,伪造“泰国香米”,一方面涉及超范围、超限量使用食品添加剂,另一方面涉及生产销售以假充真的产品,其情节相较于上述公司更为恶劣。


公司注销、罚款上百万:不良商家自食其果
2023年的3·15晚会为不少消费者敲响了防诈反诈的警钟,被不良商家盯上的消费者中,不乏爱美人士、老年人群及网上购物者。随着晚会曝光,如今这些商家纷纷落入“法网”,受到了应有的惩罚。

据报道,在医美领域,有些宣扬美白、去皱、减肥等各类功效的针剂甚至连化妆品备案都没有,堂而皇之地出现在医美机构、化妆品展会上,最终打到了消费者的脸上。这些“三无产品”不仅没有美容效果,反而会导致毁容。在天眼查App上可以看到,被3·15晚会点名的广州暨肽因子医疗生物科技有限公司已于2024年2月19日注销。天眼风险信息显示,该公司存在1条注销备案信息,清算登记机关为广州市白云区市场监督管理局。
老人群体更成为落入消费陷阱的“重灾区”。3·15晚会曝光了互联网上的苦情戏直播局中局,编故事、找演员、配道具,有的主播打着调解家庭矛盾纠纷的旗号,实际则是为了骗取老年消费者们的信任,骗老人们购买产品。此外,晚会还曝光了一些药贩子的免费套路:他们通过免费给老人寄“评书机”,诱导老人收听其中存储的一些药品广告,让老人们深信不疑。在电商平台仅为490元的药品,通过评书机购买价格是电商平台的3倍还多。
天眼查App显示,被晚会点名的兰山区和和网络文化传播工作室公司已于2023年04月04日注销。行政处罚信息显示,深圳市湘桂发科技有限公司分别于2023年10月19日、2023年11月29日因产品(商品)质量违法行为,被深圳市市场监督管理局龙岗监管局处以罚款、没收违法所得的处罚。深圳市琪艾美电子有限公司则因“广告违法行为”,被深圳市市场监督管理局罚款总计112.764万元,并没收违法所得。

值得一提的是,一台手机就可以操纵2万水军,诱导跟风下单的报道也让不少消费者十分震惊。天眼查App显示,延安亚润进网络科技有限公司已于2023年12月20日被注销。天眼风险信息显示,嘉兴宇禾文化传媒有限公司因“合同纠纷”被起诉,案件由嘉兴市南湖区人民法院审理,2023年12月7日被列为被执行人,执行标的136963元。
其它被曝光企业:有的走上被告席,有的被列入 “严重违法失信名单”
在基建层面,使翻新绝缘子流向多地电力工程从而牟利的河北庆荣电力器材有限公司,天眼查法律诉讼信息显示,该公司因合同纠纷案件被福建省送变电工程有限公司起诉,案件于2023年06月05日审理。
建设高标准农田方面,在水泥管上做手脚、偷工减料的滨海县李五水泥制品厂已于2023年08月29日被吊销,天眼风险信息显示,该公司存在1条严重违法信息。2023年11月3日,因“出具虚假或者严重失实的检验、检测、认证、认可结论,严重危害质量安全”,被滨海县市场监督管理局列入严重违法失信企业名单。
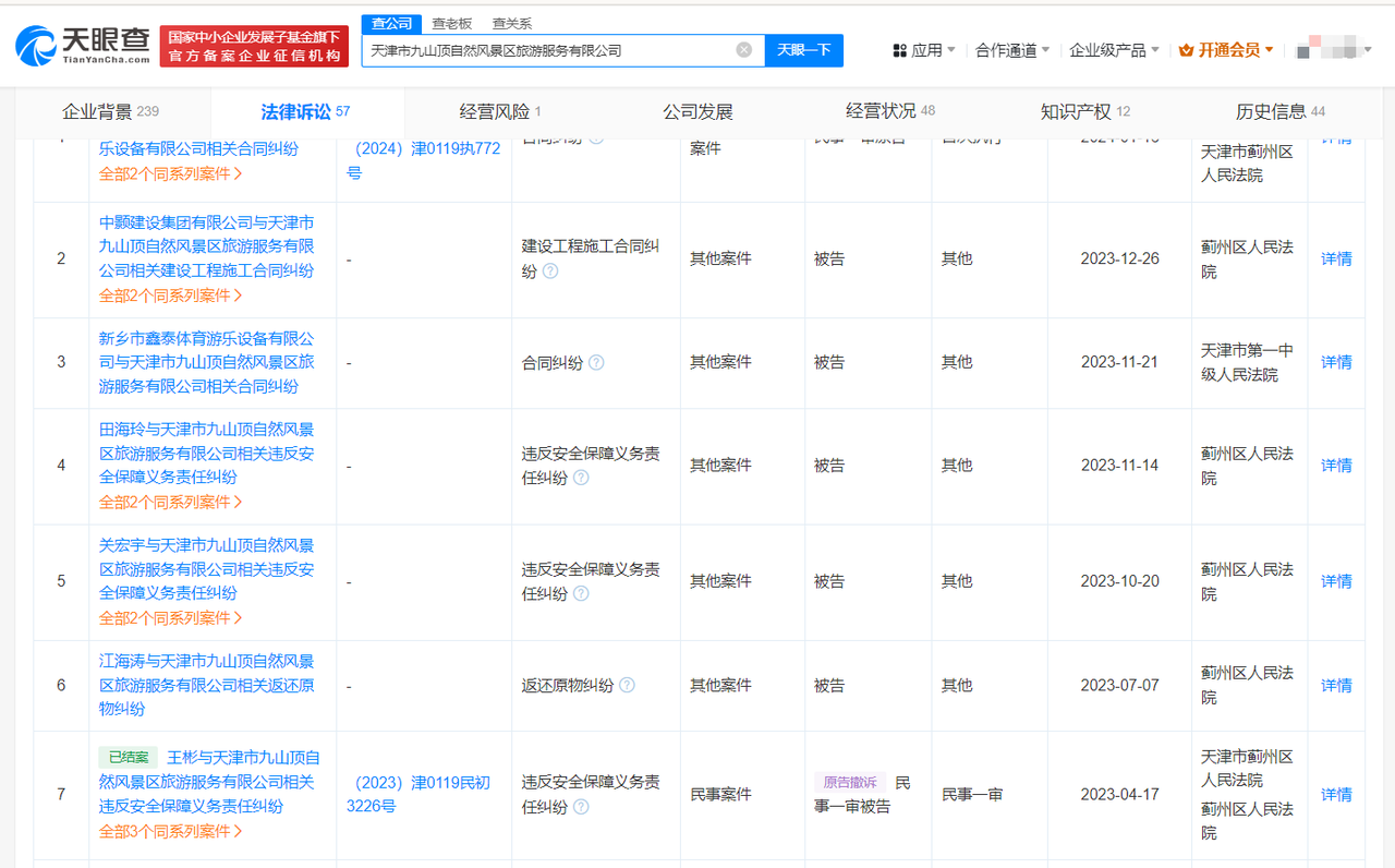
此外,因景区安全带风险隐患而被曝光的天津市九山顶自然风景区,天眼查法律诉讼信息显示,2023年以来,相关公司多次因“违反安全保障义务责任”成为司法案件被告。

今年的3·15晚会即将如约而至,不出意外,又一批侵犯消费者权益的违规事件以及违法商家将被曝光。一年又一年的3·15晚会不断警醒着广大消费者,不应只为这一日打击不法商家而喝彩,更应该时刻增强权益保护意识,保障自身的财产安全甚至生命健康不受侵害。
业内人士表示,在数字化时代,信息技术和大数据手段成为看清真相的新方式。基于公开数据,天眼查构建了中国商业世界的数字孪生。数亿个商业实体和它们之间的几百亿条关系链,每时每刻都在变化,帮助普罗大众排除干扰、厘清信息、公平看清消费世界。在产品功能层面,天眼查拥有财产线索、天眼风险、深度风险、关联企业、司法案件、企业查询、信用查询、知识产权查询等近百项增值服务,实现了从洞察风险到预警风险的全方位把控。
自2014年创立以来,天眼查持续保持高速增长,行业渗透率超过77%,月活跃用户数高达3500万,累计用户数超6亿,“天眼一下”已成为商业查询领域的超级符号。经过多年深耕,平台共收录全国3.4亿、全球6.4亿社会实体,1000多种商查信息维度实时更新,为消费者识别不良商家、规避消费风险、保护合法权益保驾护航。
