界面新闻记者 |
吉林省纪委监委消息,近日,吉林省委第十二巡视组向吉林省信托有限责任公司(下称:吉林信托)党委反馈了巡视情况,吉林信托党委书记邢中成主持向领导班子反馈会议并作表态讲话。
这意味着,邢中成已任吉林信托党委书记。
公开信息显示,邢中成,1976年生人,在职研究生学历,中共党员。曾任吉林银行辽源分行党委书记、行长。吉林银行副行长、党委委员。2024年1月27日,吉林省管干部任职前公示公告(2024年第1号)曾披露,邢中成拟任省管企业正职。
作为吉林省唯一一家信托机构,吉林信托前身为吉林省经济开发公司,成立于1985年,2002年3月1日经人民银行总行批准获得重新登记,更名为吉林省信托投资有限责任公司;2009年2月18日,经中国银监会批复,更名为吉林省信托有限责任公司。
去年6月份,吉林信托获国家金融监督管理总局吉林监管局核准,同意其增加注册资本和调整股权结构。

批复显示,吉林监管局同意吉林信托注册资本从15.97亿元人民币(含1815万美元)增至31.5亿元人民币(含1815万美元)。同意吉林省高速公路集团有限公司(下称:吉林省高速公路集团)投资入股吉林信托。
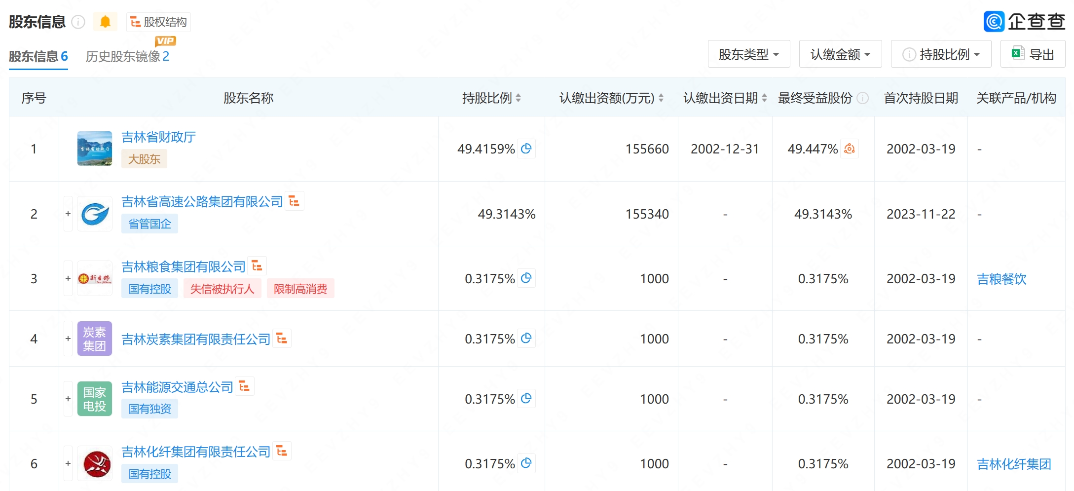
企查查披露,截至目前,吉林信托共计股东6位,吉林省财政厅和吉林省高速公路集团分别持有吉林信托股权49.4159%和49.3143%,分列第一和第二大股东之位。
其中,吉林省高速公路集团由吉林省国资委100%全资持股。
此外,吉林粮食集团有限公司、吉林炭素集团有限责任公司、吉林能源交通总公司、吉林化纤集团有限责任公司分别持股0.3175%。
另据2月27日吉林信托发布的《2022年度企业负责人薪酬信息披露表》显示,目前,吉林信托董事长张洪东、总经理刘成的任职时间均已于2024年1月到期。
二者分别于2021年1月和2022年6月开始履职。其中,张洪东同时担任党委书记,刘成任党委副书记。
邢中成此次上任吉林信托党委书记后,是否将进一步担任董事长职务?吉林信托目前是否已有新的总经理人选?
对此,界面新闻记者致电吉林信托,但截至发稿,未获回复。
