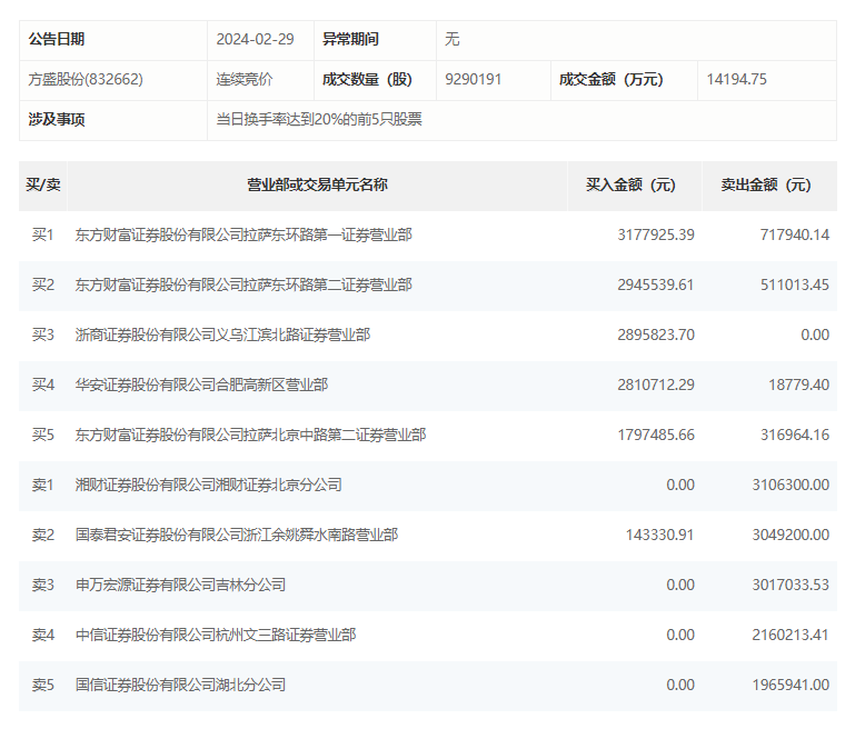
2月29日,方盛股份今日涨15.83%,龙虎榜数据显示,上榜营业部席位全天成交2863.42万元,占当日总成交金额比例为20.17%。其中,买入金额为1377.08万元,卖出金额为1486.34万元,合计净卖出109.26万元。
具体来看,东方财富证券拉萨东环路第一证券营业部、东方财富证券拉萨东环路第二证券营业部分别买入317.79万元、294.55万元;湘财证券湘财证券北京分公司、国泰君安证券浙江余姚舜水南路营业部分别卖出310.63万元、304.92万元。

2月29日,方盛股份今日涨15.83%,龙虎榜数据显示,上榜营业部席位全天成交2863.42万元,占当日总成交金额比例为20.17%。其中,买入金额为1377.08万元,卖出金额为1486.34万元,合计净卖出109.26万元。
具体来看,东方财富证券拉萨东环路第一证券营业部、东方财富证券拉萨东环路第二证券营业部分别买入317.79万元、294.55万元;湘财证券湘财证券北京分公司、国泰君安证券浙江余姚舜水南路营业部分别卖出310.63万元、304.92万元。

广告等商务合作,请点击这里
