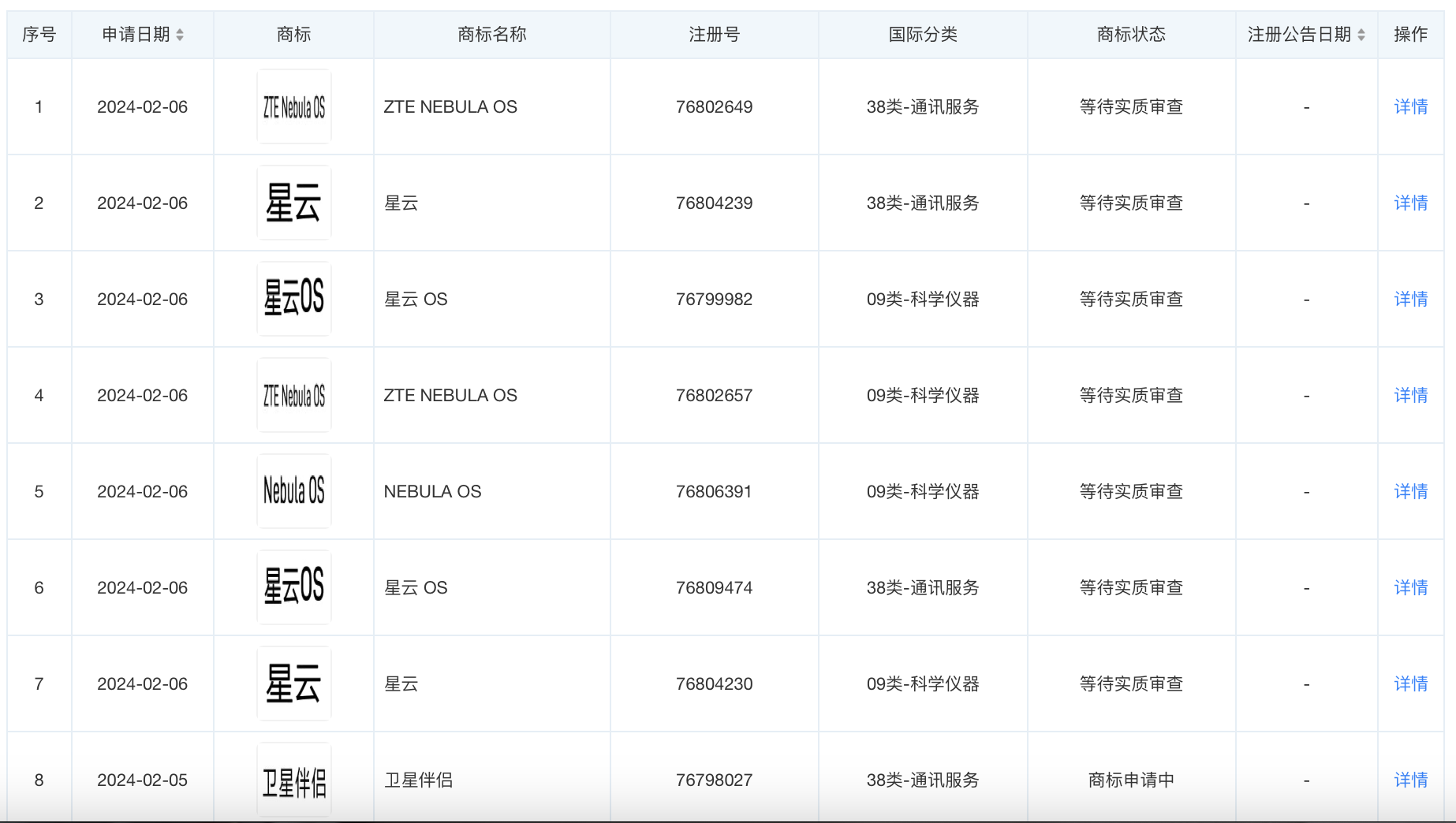
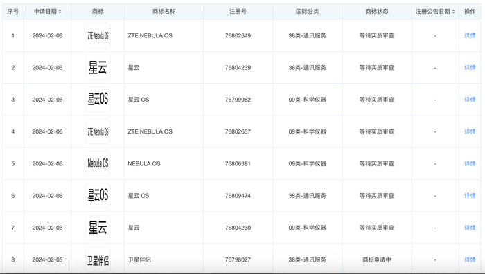
天眼查知识产权信息显示,近日,中兴通讯申请注册多枚“星云”“星云OS”“ZTE NEBULA OS”商标,国际分类为科学仪器、通讯服务。此外,该公司还申请了“卫星通”“卫星伴侣”“卫星宝”等商标。目前,上述商标状态均为等待实质审查或申请中。

天眼查知识产权信息显示,近日,中兴通讯申请注册多枚“星云”“星云OS”“ZTE NEBULA OS”商标,国际分类为科学仪器、通讯服务。此外,该公司还申请了“卫星通”“卫星伴侣”“卫星宝”等商标。目前,上述商标状态均为等待实质审查或申请中。

广告等商务合作,请点击这里
