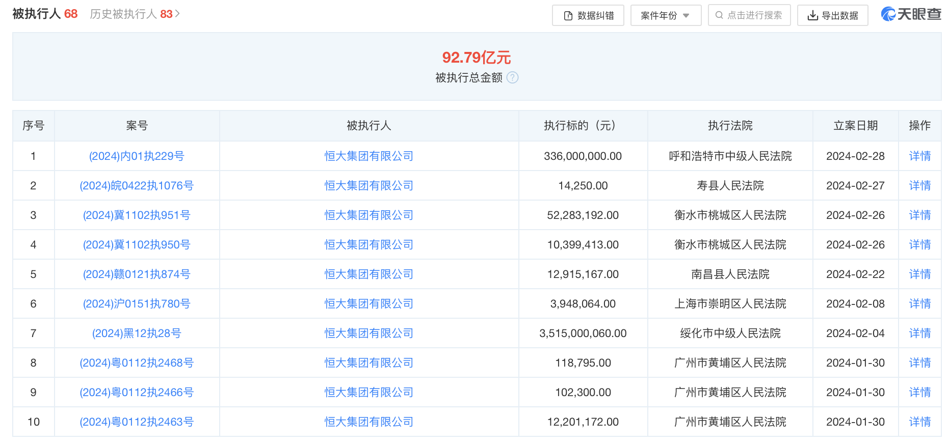
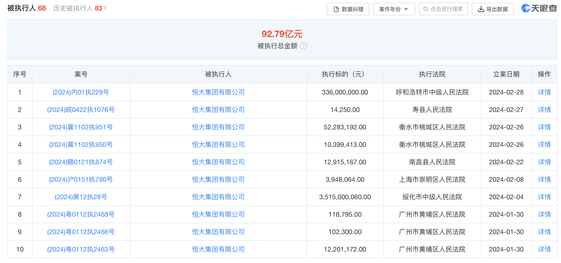
天眼查法律诉讼信息显示,2月28日,恒大集团有限公司以及恒大旗下内蒙古恒鑫旅游开发有限公司、儋州中润旅游开发有限公司、内蒙古恒大旅游开发有限公司新增一则被执行人信息,执行标的3.3亿余元,涉及金融借款合同纠纷案件,执行法院为呼和浩特市中级人民法院。风险信息显示,恒大集团有限公司现存60余条被执行人信息,被执行总金额超92亿元,此外该公司还存在多条限制消费令、失信被执行人(老赖)和终本案件信息。

天眼查法律诉讼信息显示,2月28日,恒大集团有限公司以及恒大旗下内蒙古恒鑫旅游开发有限公司、儋州中润旅游开发有限公司、内蒙古恒大旅游开发有限公司新增一则被执行人信息,执行标的3.3亿余元,涉及金融借款合同纠纷案件,执行法院为呼和浩特市中级人民法院。风险信息显示,恒大集团有限公司现存60余条被执行人信息,被执行总金额超92亿元,此外该公司还存在多条限制消费令、失信被执行人(老赖)和终本案件信息。

广告等商务合作,请点击这里
