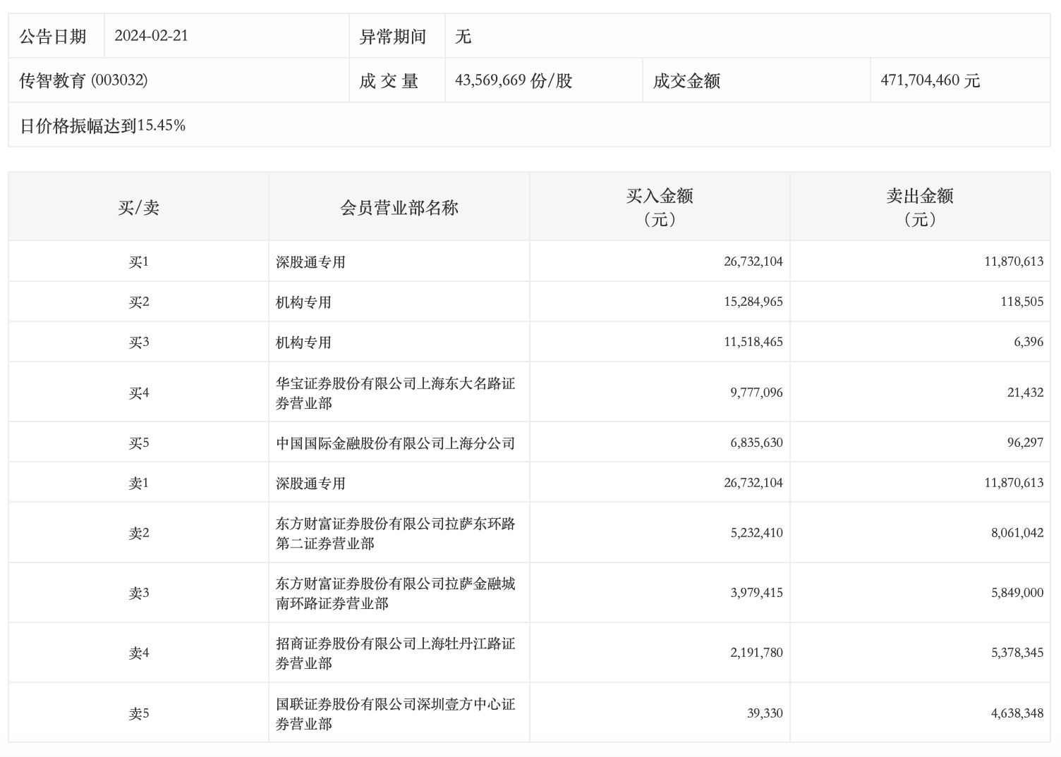
2月21日,传智教育今日涨停,龙虎榜数据显示,上榜营业部席位全天成交1.18亿元,占当日总成交金额比例为24.94%。其中,买入金额为8159.12万元,卖出金额为3604.0万元,合计净买入4555.12万元。
具体来看,机构买入2680.34万元,卖出12.49万元,合计净买入2667.85万元。此外,深股通专用、华宝证券上海东大名路证券营业部分别买入2673.21万元、977.71万元;深股通专用、东方财富证券拉萨东环路第二证券营业部分别卖出1187.06万元、806.10万元。

2月21日,传智教育今日涨停,龙虎榜数据显示,上榜营业部席位全天成交1.18亿元,占当日总成交金额比例为24.94%。其中,买入金额为8159.12万元,卖出金额为3604.0万元,合计净买入4555.12万元。
具体来看,机构买入2680.34万元,卖出12.49万元,合计净买入2667.85万元。此外,深股通专用、华宝证券上海东大名路证券营业部分别买入2673.21万元、977.71万元;深股通专用、东方财富证券拉萨东环路第二证券营业部分别卖出1187.06万元、806.10万元。

广告等商务合作,请点击这里
