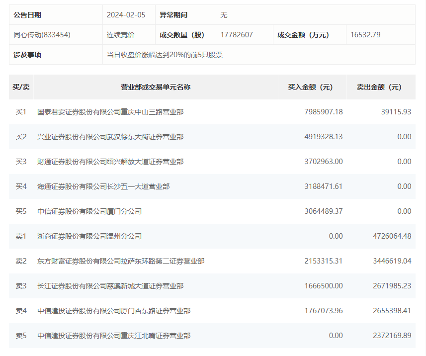
2月5日,同心传动今日涨停,全天换手率达29.64%,振幅达39.88%。龙虎榜数据显示,营业部席位合计净买入1253.67万元。其中,国泰君安证券重庆中山三路营业部、兴业证券武汉徐东大街证券营业部分别买入798.59万元、491.93万元;浙商证券温州分公司、东方财富证券拉萨东环路第二证券营业部分别卖出472.61万元、344.66万元。

2月5日,同心传动今日涨停,全天换手率达29.64%,振幅达39.88%。龙虎榜数据显示,营业部席位合计净买入1253.67万元。其中,国泰君安证券重庆中山三路营业部、兴业证券武汉徐东大街证券营业部分别买入798.59万元、491.93万元;浙商证券温州分公司、东方财富证券拉萨东环路第二证券营业部分别卖出472.61万元、344.66万元。

广告等商务合作,请点击这里
