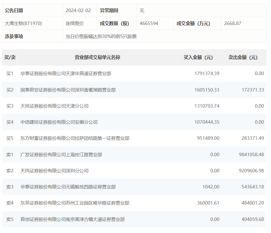
大禹生物2月2日跌11.36%,全天换手率达8.85%,振幅达23.33%。龙虎榜数据显示,营业部席位合计净卖出1384.87万元。其中,广发证券上海控江路营业部、天风证券深圳分公司分别卖出984.11万元、920.96万元;华泰证券天津华昌道证券营业部、国泰君安证券深圳香蜜湖路营业部分别买入179.14万元、160.52万元。

大禹生物2月2日跌11.36%,全天换手率达8.85%,振幅达23.33%。龙虎榜数据显示,营业部席位合计净卖出1384.87万元。其中,广发证券上海控江路营业部、天风证券深圳分公司分别卖出984.11万元、920.96万元;华泰证券天津华昌道证券营业部、国泰君安证券深圳香蜜湖路营业部分别买入179.14万元、160.52万元。

广告等商务合作,请点击这里
