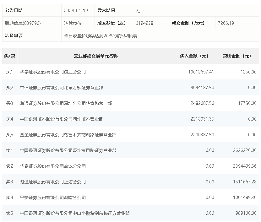
1月19日,联迪信息今日涨停,全天换手率达17.43%,振幅达28.59%。龙虎榜数据显示,营业部席位合计净买入1241.55万元。其中,华泰证券镇江分公司、中信证券北京万柳证券营业部分别买入1001.27万元、404.42万元;中国银河证券郑州东风路证券营业部、华泰证券盐城分公司分别卖出262.62万元、239.44万元。

1月19日,联迪信息今日涨停,全天换手率达17.43%,振幅达28.59%。龙虎榜数据显示,营业部席位合计净买入1241.55万元。其中,华泰证券镇江分公司、中信证券北京万柳证券营业部分别买入1001.27万元、404.42万元;中国银河证券郑州东风路证券营业部、华泰证券盐城分公司分别卖出262.62万元、239.44万元。

广告等商务合作,请点击这里
