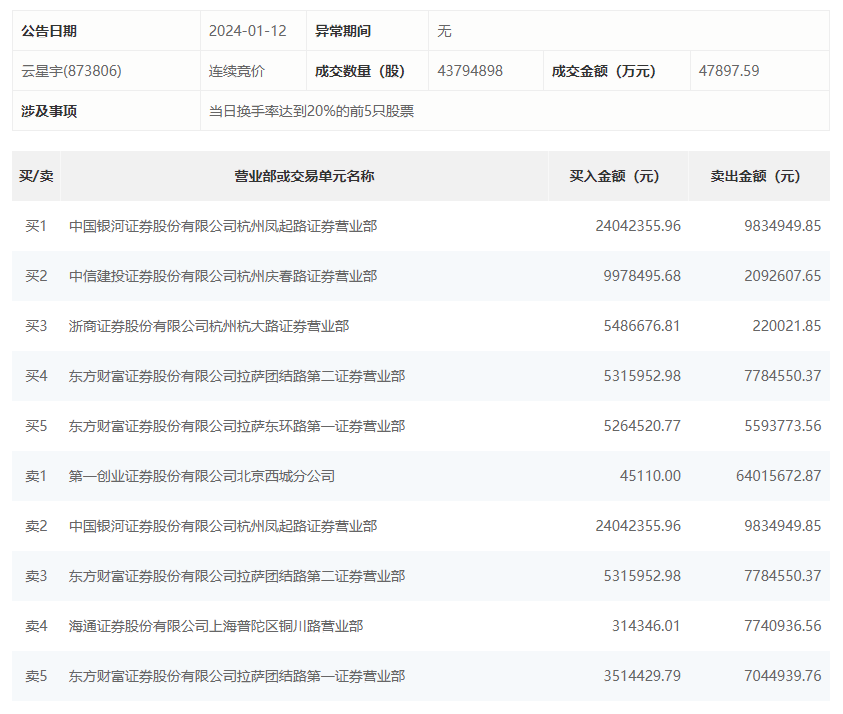
1月12日,云星宇今日跌15.41%,全天换手率达57.67%,振幅达10.46%。龙虎榜数据显示,营业部席位合计净卖出5036.56万元。其中,第一创业证券北京西城分公司、中国银河证券杭州凤起路证券营业部分别卖出6401.57万元、983.49万元;中国银河证券杭州凤起路证券营业部、中信建投证券杭州庆春路证券营业部分别买入2404.24万元、997.85万元。

1月12日,云星宇今日跌15.41%,全天换手率达57.67%,振幅达10.46%。龙虎榜数据显示,营业部席位合计净卖出5036.56万元。其中,第一创业证券北京西城分公司、中国银河证券杭州凤起路证券营业部分别卖出6401.57万元、983.49万元;中国银河证券杭州凤起路证券营业部、中信建投证券杭州庆春路证券营业部分别买入2404.24万元、997.85万元。

广告等商务合作,请点击这里
