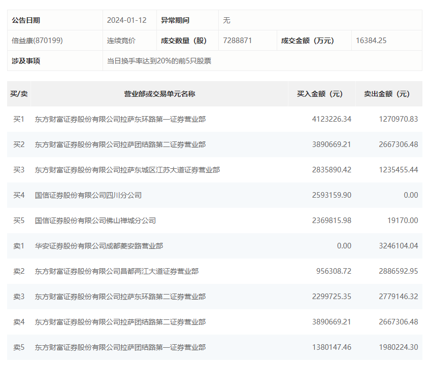
1月12日,倍益康今日跌18.05%,全天换手率达42.8%,振幅达17.24%。龙虎榜数据显示,营业部席位合计净买入436.4万元。其中,华安证券成都菱安路营业部、东方财富证券昌都两江大道证券营业部分别卖出324.61万元、288.66万元;东方财富证券拉萨东环路第一证券营业部、东方财富证券拉萨团结路第二证券营业部分别买入412.32万元、389.07万元。

1月12日,倍益康今日跌18.05%,全天换手率达42.8%,振幅达17.24%。龙虎榜数据显示,营业部席位合计净买入436.4万元。其中,华安证券成都菱安路营业部、东方财富证券昌都两江大道证券营业部分别卖出324.61万元、288.66万元;东方财富证券拉萨东环路第一证券营业部、东方财富证券拉萨团结路第二证券营业部分别买入412.32万元、389.07万元。

广告等商务合作,请点击这里
