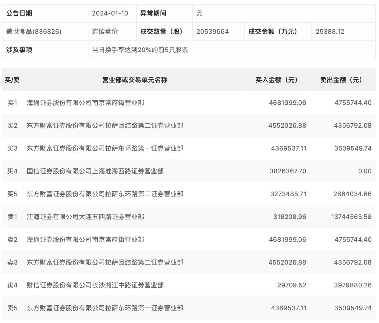
1月10日,盖世食品今日涨13.09%,全天换手率达40.37%,振幅达25.46%。龙虎榜数据显示,营业部席位合计净卖出1216.12万元。其中,海通证券南京常府街营业部、东方财富证券拉萨团结路第二证券营业部分别买入468.20万元、455.20万元;江海证券有限公司大连五四路证券营业部、海通证券南京常府街营业部分别卖出1374.46万元、475.57万元。

1月10日,盖世食品今日涨13.09%,全天换手率达40.37%,振幅达25.46%。龙虎榜数据显示,营业部席位合计净卖出1216.12万元。其中,海通证券南京常府街营业部、东方财富证券拉萨团结路第二证券营业部分别买入468.20万元、455.20万元;江海证券有限公司大连五四路证券营业部、海通证券南京常府街营业部分别卖出1374.46万元、475.57万元。

广告等商务合作,请点击这里
