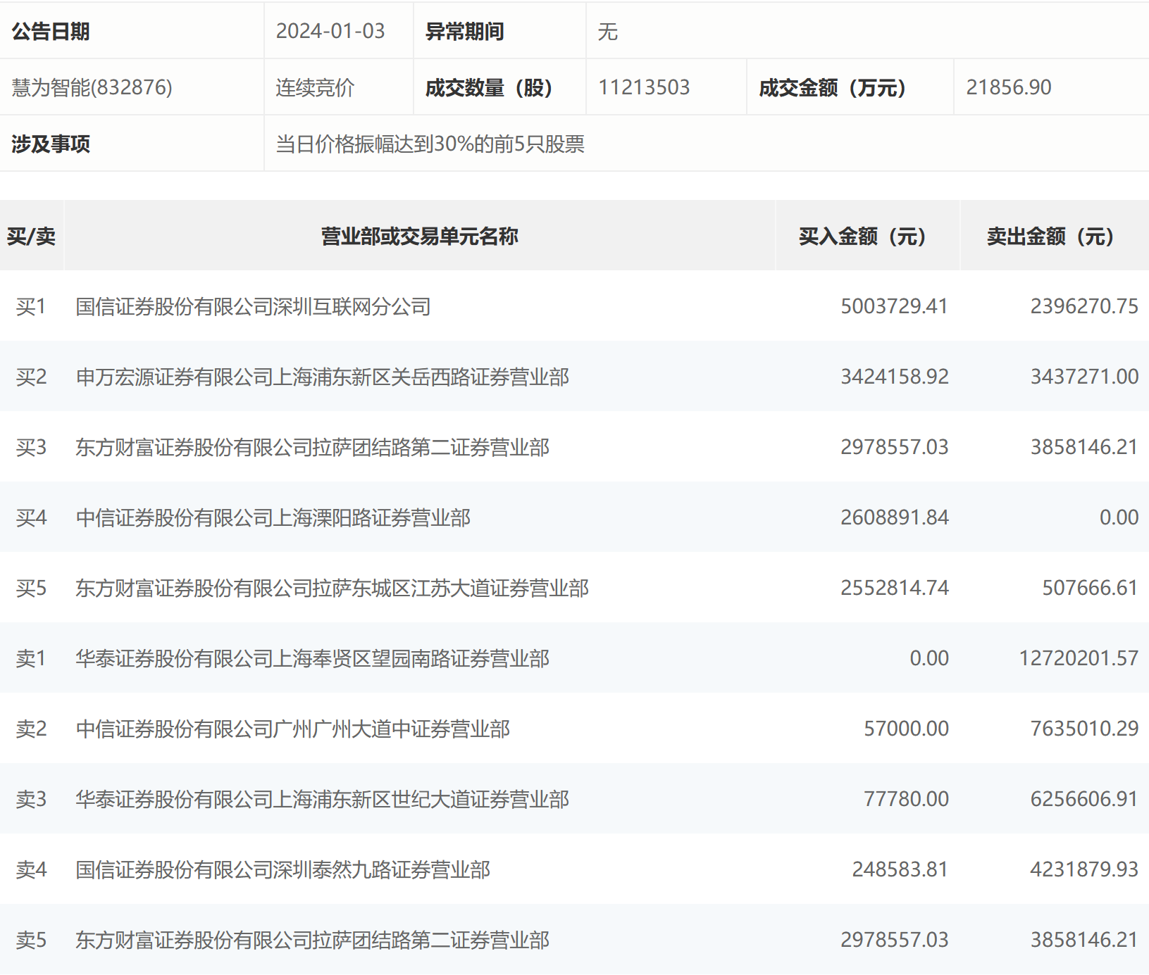
1月3日,慧为智能今日涨8.1%,龙虎榜数据显示,上榜营业部席位全天成交5799.46万元,占当日总成交金额比例为26.53%。其中,买入金额为1695.15万元,卖出金额为4104.31万元,合计净卖出2409.15万元。
具体来看,知名游资现身龙虎榜,孙哥(中信证券股份有限公司上海溧阳路证券营业部)净买入260.89万元。此外,国信证券深圳互联网分公司、申万宏源证券有限公司上海浦东新区关岳西路证券营业部分别买入500.37万元、342.42万元;华泰证券上海奉贤区望园南路证券营业部、中信证券广州广州大道中证券营业部分别卖出1272.02万元、763.50万元。

