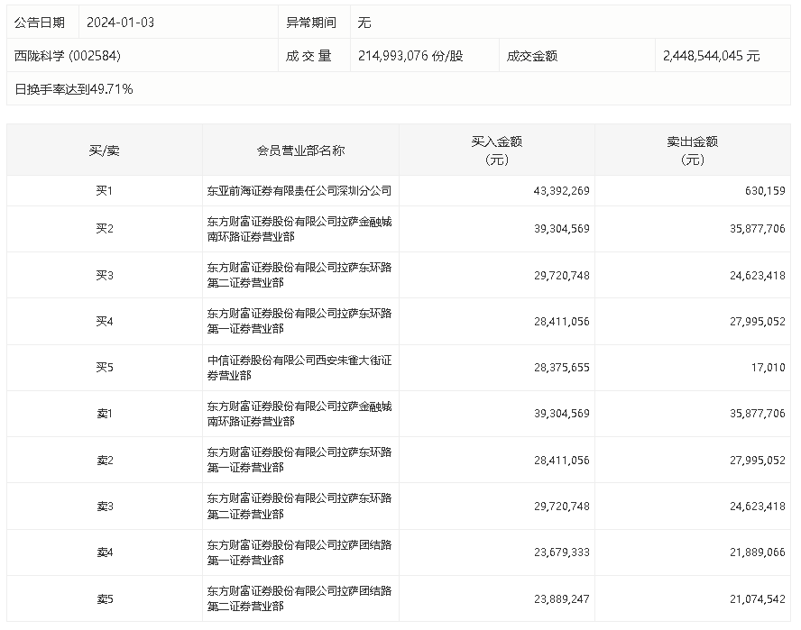
1月3日,西陇科学今日涨3.25%,龙虎榜数据显示,上榜营业部席位全天成交3.49亿元,占当日总成交金额比例为14.25%。其中,买入金额为2.17亿元,卖出金额为1.32亿元,合计净买入8466.59万元。
具体来看,知名游资现身龙虎榜,方新侠(中信证券股份有限公司西安朱雀大街证券营业部)净买入2835.86万元。此外,东亚前海证券深圳分公司、东方财富证券拉萨金融城南环路证券营业部分别买入4339.23万元、3930.46万元;东方财富证券拉萨金融城南环路证券营业部、东方财富证券拉萨东环路第一证券营业部分别卖出3587.77万元、2799.51万元。

