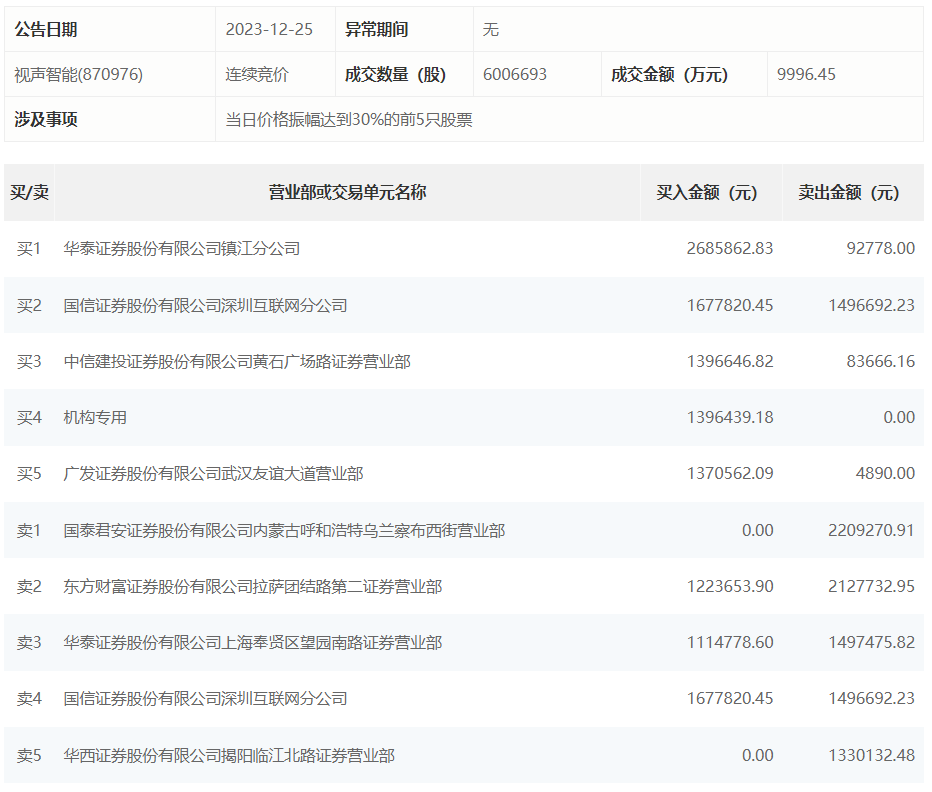
视声智能12月25日涨22.06%,全天换手率达37.84%,振幅达30.94%。龙虎榜数据显示,营业部席位合计净买入202.31万元。其中,机构合计净买入139.64万元。此外,华泰证券镇江分公司、国信证券深圳互联网分公司分别买入268.59万元、167.78万元;国泰君安证券内蒙古呼和浩特乌兰察布西街营业部、东方财富证券拉萨团结路第二证券营业部分别卖出220.93万元、212.77万元。

视声智能12月25日涨22.06%,全天换手率达37.84%,振幅达30.94%。龙虎榜数据显示,营业部席位合计净买入202.31万元。其中,机构合计净买入139.64万元。此外,华泰证券镇江分公司、国信证券深圳互联网分公司分别买入268.59万元、167.78万元;国泰君安证券内蒙古呼和浩特乌兰察布西街营业部、东方财富证券拉萨团结路第二证券营业部分别卖出220.93万元、212.77万元。

广告等商务合作,请点击这里
