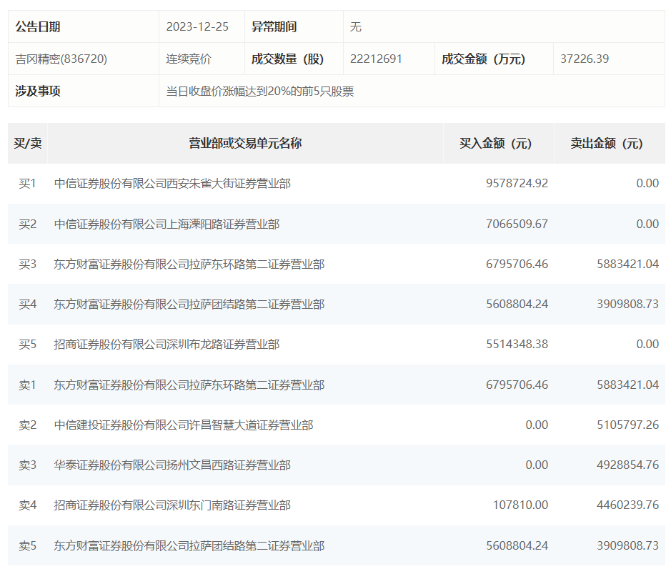
吉冈精密12月25日涨29.7%,龙虎榜数据显示,上榜营业部席位全天成交5896.0万元,占当日总成交金额比例为15.84%。其中,买入金额为3467.19万元,卖出金额为2428.81万元,合计净买入1038.38万元。
具体来看,知名游资现身龙虎榜,方新侠(中信证券西安朱雀大街证券营业部)、孙哥(中信证券上海溧阳路证券营业部)分别买入957.87万元、706.65万元;东方财富证券拉萨东环路第二证券营业部、中信建投证券许昌智慧大道证券营业部分别卖出588.34万元、510.58万元。

吉冈精密12月25日涨29.7%,龙虎榜数据显示,上榜营业部席位全天成交5896.0万元,占当日总成交金额比例为15.84%。其中,买入金额为3467.19万元,卖出金额为2428.81万元,合计净买入1038.38万元。
具体来看,知名游资现身龙虎榜,方新侠(中信证券西安朱雀大街证券营业部)、孙哥(中信证券上海溧阳路证券营业部)分别买入957.87万元、706.65万元;东方财富证券拉萨东环路第二证券营业部、中信建投证券许昌智慧大道证券营业部分别卖出588.34万元、510.58万元。

广告等商务合作,请点击这里
