12月21日,花溪科技今日跌16.82%,龙虎榜数据显示,上榜营业部席位全天成交5644.6万元,占当日总成交金额比例为26.28%。其中,买入金额为2198.95万元,卖出金额为3445.64万元,合计净卖出1246.69万元。
具体来看,知名游资现身龙虎榜,方新侠(中信证券西安朱雀大街证券营业部)、国泰君安证券重庆中山三路营业部分别卖出722.71万元、699.45万元;平安证券浙江分公司、平安证券广西分公司分别买入833.55万元、424.65万元。

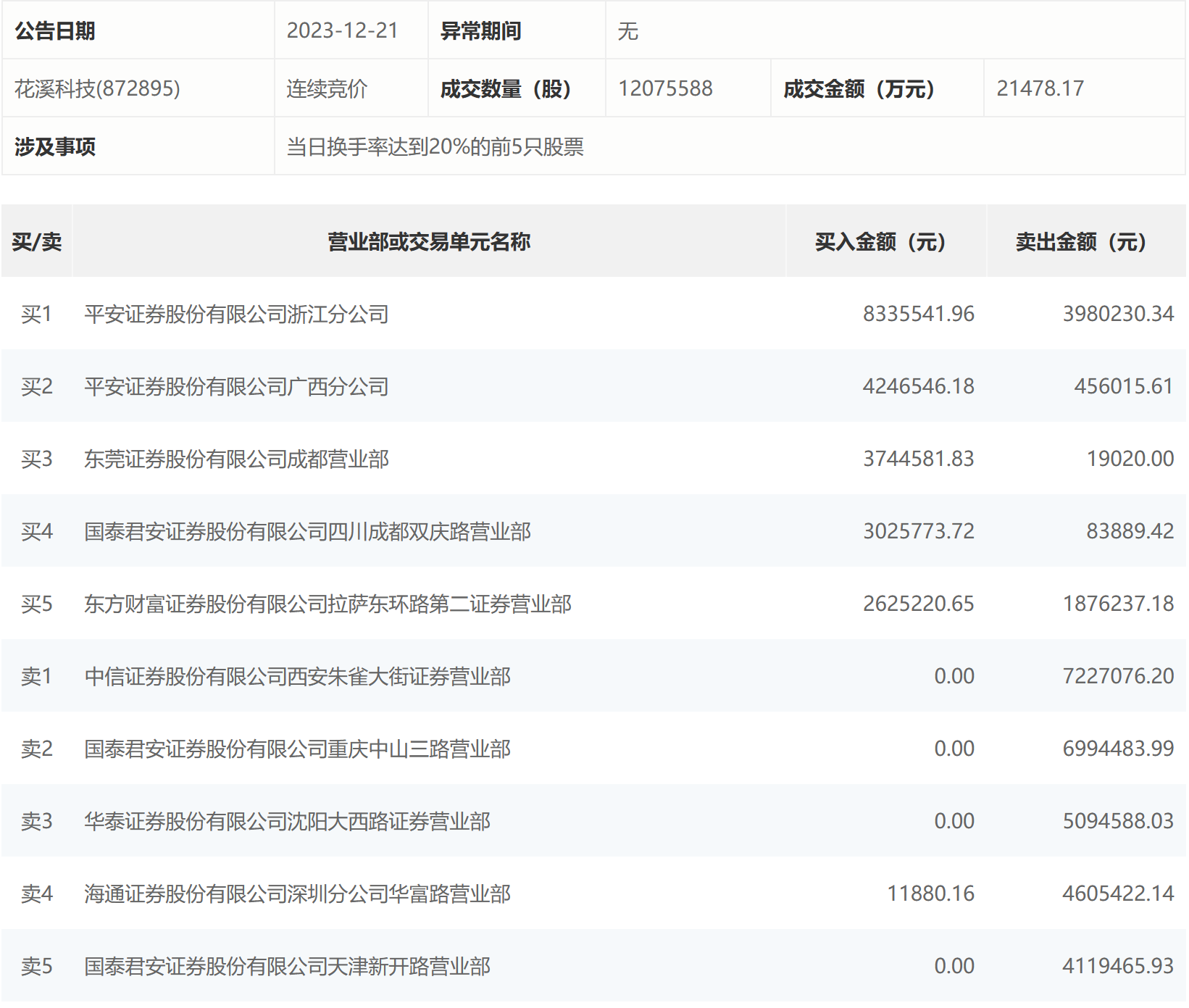
12月21日,花溪科技今日跌16.82%,龙虎榜数据显示,上榜营业部席位全天成交5644.6万元,占当日总成交金额比例为26.28%。其中,买入金额为2198.95万元,卖出金额为3445.64万元,合计净卖出1246.69万元。
具体来看,知名游资现身龙虎榜,方新侠(中信证券西安朱雀大街证券营业部)、国泰君安证券重庆中山三路营业部分别卖出722.71万元、699.45万元;平安证券浙江分公司、平安证券广西分公司分别买入833.55万元、424.65万元。

广告等商务合作,请点击这里
