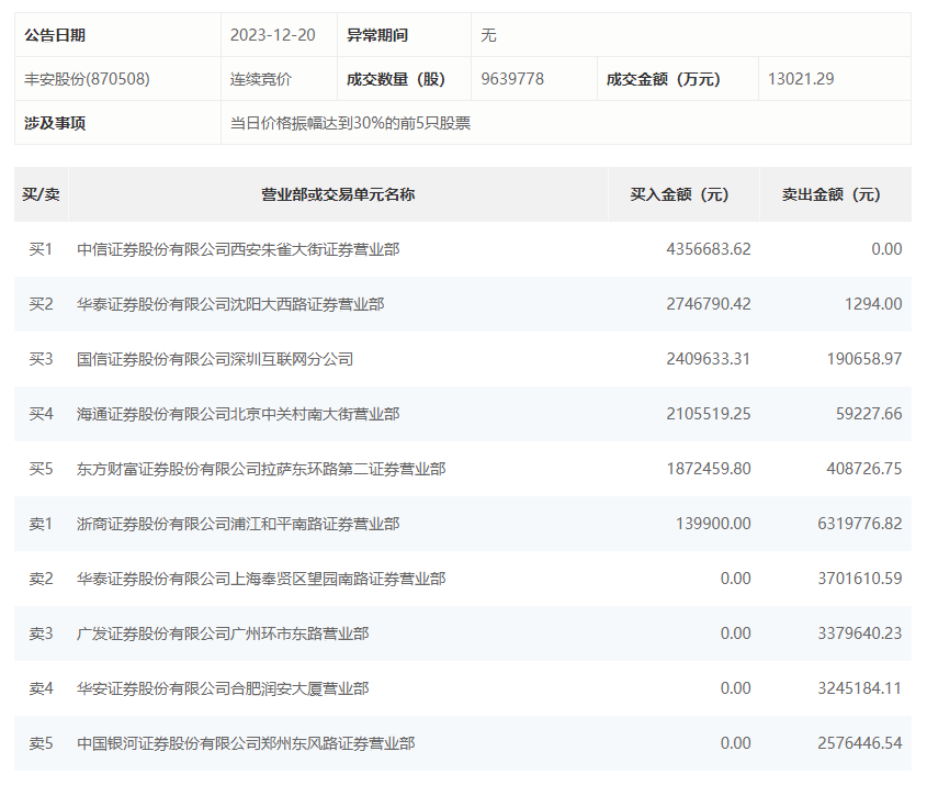
12月20日,丰安股份今日涨停,龙虎榜数据显示,上榜营业部席位全天成交3351.36万元,占当日总成交金额比例为25.74%。其中,买入金额为1363.1万元,卖出金额为1988.26万元,合计净卖出625.16万元。
具体来看,知名游资现身龙虎榜,方新侠(中信证券西安朱雀大街证券营业部)、华泰证券沈阳大西路证券营业部分别买入435.67万元、274.68万元;浙商证券浦江和平南路证券营业部、华泰证券上海奉贤区望园南路证券营业部分别卖出631.98万元、370.16万元。

12月20日,丰安股份今日涨停,龙虎榜数据显示,上榜营业部席位全天成交3351.36万元,占当日总成交金额比例为25.74%。其中,买入金额为1363.1万元,卖出金额为1988.26万元,合计净卖出625.16万元。
具体来看,知名游资现身龙虎榜,方新侠(中信证券西安朱雀大街证券营业部)、华泰证券沈阳大西路证券营业部分别买入435.67万元、274.68万元;浙商证券浦江和平南路证券营业部、华泰证券上海奉贤区望园南路证券营业部分别卖出631.98万元、370.16万元。

广告等商务合作,请点击这里
