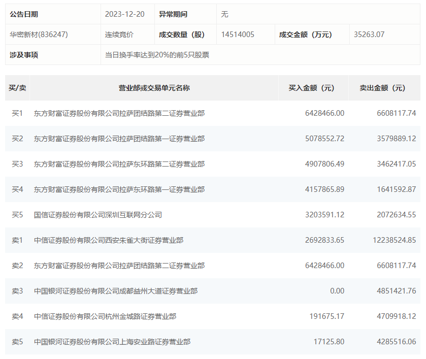
12月20日,华密新材今日涨17.19%,龙虎榜数据显示,上榜营业部席位全天成交7012.79万元,占当日总成交金额比例为19.89%。其中,买入金额为2667.79万元,卖出金额为4345.0万元,合计净卖出1677.21万元。
具体来看,知名游资现身龙虎榜,东方财富证券拉萨团结路第二证券营业部、东方财富证券拉萨团结路第一证券营业部分别买入642.85万元、507.86万元;方新侠(中信证券西安朱雀大街证券营业部)、东方财富证券拉萨团结路第二证券营业部分别卖出1223.85万元、660.81万元。

