界面新闻记者 |
浙商证券拟从5家公司手中受让国都证券约19%股权。
12月8日晚间,浙商证券股份有限公司发布关于签订《国都证券股份有限公司股份转让框架协议》的公告。
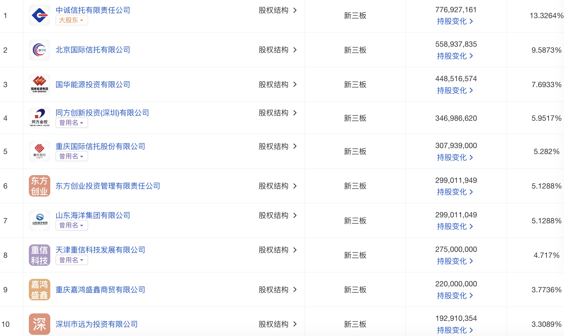
公告显示,浙商证券分别与重庆国际信托股份有限公司、天津重信科技发展有限公司、重庆嘉鸿盛鑫商贸有限公司、深圳市远为投资有限公司、深圳中峻投资有限公司于12月8日签署《国都证券股份有限公司股份转让框架协议》,公司拟以现金方式受让上述5家公司分别持有的目标公司5.2820%、4.7170%、3.7736%、3.3089%、2.0639%股份,最终受让比例等交易方案以正式签署的最终交易文件为准。
浙商证券表示,本次签署的框架协议为意向协议,本次交易尚处于初步筹划阶段,交易方案仍需进一步论证和协商。
“这次尝试跨区域合作,主要是希望更好地发挥公司现有业务优势与国都证券业务协同效应,共同提升服务实体经济发展的能力。”浙商证券有关负责人表示。

相关负责人进一步表示,浙商证券聚焦于服务中小企业,在长三角地区形成了较好的发展基础,并致力于大力发展北交所业务,如果与国都证券进行深度合作,可以通过发挥双方各自优势,更好地联结长三角、京津冀区域各项资源,更好地服务以中小企业为核心的实体经济,以实际行动助力北交所高质量发展,持续提升公司服务实体经济、服务国家战略、服务科技创新的能力。
浙商证券系浙江省属国有上市券商,其实控人为浙江省交通投资集团有限公司。11月9日,在被控股股东浙江省交通投资集团有限公司提名为总裁人选5个月后,钱文海正式担任浙商证券总裁,浙商证券10名高管全部就位。
最新业绩方面,10月30日晚间,浙商证券披露三季报。前三季度,公司实现营业收入126.22亿元,同比增长8.96%;实现归属于上市公司股东的净利润13.30亿元,同比增长15.05%。第三季度,浙商证券实现营业收入41.66亿元,同比增长1.11%;实现归属于上市公司股东的净利润4.19亿元,同比下降2.31%。
值得关注的是,国都证券6名股东均于今年1月被北京监管局处罚。
罚单显示,重庆嘉鸿盛鑫商贸有限公司隐瞒与重庆国际信托股份有限公司的一致行动人关系,东方创业投资管理有限责任公司、上海北盛企业发展有限公司、北京国瑞金泉投资有限公司、深圳市华融泰资产管理有限公司通过股票质押违规向重庆信托让渡表决权,且重庆信托不仅未如实说明,还利用对国都证券经营管理的影响,进行不当关联交易获利。
值得注意的是,6名被罚的股东中,国都证券第五大股东重庆信托、第六大股东东方创投、第九大股东嘉鸿商贸合计持股比例达14.1844%,持股比例超过了大股东中诚信托的13.3264%。
在今年11月3日的证监会新闻发布会上,相关负责人表示,将支持头部证券公司通过业务创新、集团化经营、并购重组等方式做优做强,打造一流的投资银行,推动证券公司投行、投资、投研协同联动,不断提升服务实体经济、服务注册制改革能力,助力构建为实体企业提供多元化接力式金融服务体系。
在证监会支持头部券商做优做强的政策导向下,券商并购重组掀起热议,中信证券与中信建投、国金证券与国联证券等券商曾先后传出并购传闻。11月13日早间,中国银河、中金公司一同发布并购重组澄清公告;此外,投资者频繁在互动平台向存在合并预期的券商追问进展,中信证券、招商证券、国金证券等多家券商回应传闻,表示不存在应披露而未披露的信息。
今年3月,民生证券34.71亿股股权拍卖案最终落槌,无锡市国联发展(集团)有限公司以约91.05亿人民币的价格竞拍成功。被拍卖的民生证券股份约占总股本的30.30%,民生证券亦告别“泛海系”迎来新任大股东。
