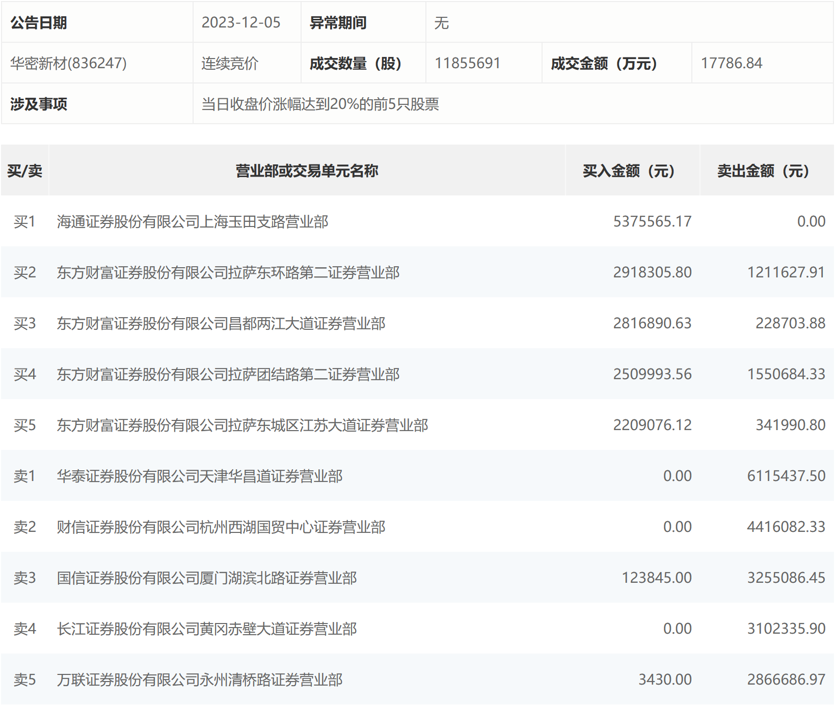
12月5日,华密新材今日涨29.96%,全天换手率达50.87%,振幅达30.04%。龙虎榜数据显示,营业部席位合计净卖出713.15万元。其中,海通证券上海玉田支路营业部、东方财富证券拉萨东环路第二证券营业部分别买入537.56万元、291.83万元;华泰证券天津华昌道证券营业部、财信证券杭州西湖国贸中心证券营业部分别卖出611.54万元、441.61万元。

12月5日,华密新材今日涨29.96%,全天换手率达50.87%,振幅达30.04%。龙虎榜数据显示,营业部席位合计净卖出713.15万元。其中,海通证券上海玉田支路营业部、东方财富证券拉萨东环路第二证券营业部分别买入537.56万元、291.83万元;华泰证券天津华昌道证券营业部、财信证券杭州西湖国贸中心证券营业部分别卖出611.54万元、441.61万元。

广告等商务合作,请点击这里
