文 | 独角金融 郑理
投资机构和创业者,就像男女谈恋爱一样,往往都有一个美丽的开始,但却不一定会有皆大欢喜的结局。相反,因“理想太丰满、现实太骨感”导致“翻车”,双方甚至对簿公堂,打破了“夫妻过日子”共担风险,共享果实的美好愿景。
曾经的投资人,宁可投错,不能错过,多数投资人愿意拿真金白银为创业者的风险埋单。现在的情况是,个别VC(即“风险投资”)变成了刚性兑付的收益保障,既要周期短,又要无风险,还要有保障。在市场环境恰逢转折之际,很少有投资机构选择做时间的朋友,帮助创业者走出泥潭。
1、投资人与创业者的恩怨纠葛
创业者和投资人,两个互惠互利的的利益共同体,前者支持后者顺利发展,从而实现良好的退出回报,不过,这种期望在今年有些“奢侈”。
无论创业者、投资机构还是律师均表示,今年投资机构起诉创业者,要求对方履行回购协议的案例,相较往年确实多了不少。

此前就有多位创业者表示,自己被曾经的投资人起诉了。其中,有的已经被宣判,负债几百、几千万;有的还在起诉中,被要求按照复利15%(年)回购;有的已经私下协商,沟通回购方案。
“我这半年,告了3、4个被投企业了。”在近期的一次聊天中,来自某知名VC的张洁(化名)无奈地向《每日经济新闻》表示,今年协议到期无法达到盈利目标,被投资人按协议要求回购、还不起债成老赖的情况特别多,有些还是之前的明星公司。
但与投资机构签署的回购、对赌协议最终把身家搭进去的创业者不在少数,比如,锤子科技(北京)股份有限公司(下称“锤子科技”)罗永浩、蓝城兄弟创始人马保力(网名耿乐)被踢出局……
耿乐2011年创办蓝城兄弟,并在2020年带领公司在纳斯达克上市,值一度逼近13亿美元。仅仅两年后,蓝城兄弟匆匆退市。
2022年8月,因业绩亏损及宏观环境影响,蓝城兄弟股价跌至1.54美元/股,宣布完成私有化交割,从纳斯达克退市。
当股价不及“对赌”预期,业绩持续亏损,触发对赌条款,一些投资机构要求耿乐按照事先约定的价格回购股权。
耿乐为了筹资还钱,选择出售和质押公司股份。2022年8月22日,耿乐发文宣布,正式辞任公司董事长、CEO。就这样,他离开了自己亲手创办的公司。
上市前,耿乐签的一份英文资料,股价如果低于投资人的投资成本,耿乐需要回购,而这份资料最终为耿乐出局埋下了雷。
耿乐对“铅笔道”表示,在上市的时候,有一些对赌协议或者一些抽屉条款,相对来说是比较普遍的,但如果当时意识到了这个东西是比较严重的,会把个人身家都搭进去的话,当初也就不会签那个东西。
再往前追溯,成功立下“真还传”人设的罗永浩,就是其中典型的一例。
根据罗永浩发布的微博内容显示,在锤子科技生死存亡之际,一家机构逼迫他个人签署强制回购股份的协议。这份投资协议要求罗永浩必须按照一定的价格去回购这家投资机构的股份。
也就是说,一旦锤子科技破产清算,罗永浩承担无限连带责任,还得还钱。而不签这个协议,下一轮融资就黄了。
这场纷争的关键词,回购,是投资人退出机制的一种。 投资人在给公司投钱时,通常会在投资协议里设定一个条件或目标,一般是在一定时期内完成上市或者业绩达标,如果被投公司没有达到设定的条件或目标,或者被投公司或创始人出现了重大违规违约行为,被投公司或创始人按照一定价格,回购投资人此前出钱购买的公司股权,或在破产清算后投资者拿回剩余资产,实现退出。
触发投资协议的回购条款,回购价格通常为投资本金+回购利息。比如,约定5年上市,如果没成,可以按投资利率的5%-10%左右回购公司的股权或最近一轮融资后的企业估值进行回购,也有个别投资案例会高于这个利率。
在一些条款中,如果公司没有能力回购,公司的创始人将承担连带回购义务。
2021年4月中旬,当罗永浩成为被执行人后发微博称“也许是史上能量最正、心态最阳光的创业失败者和顽固还债者”。
罗永浩的欠下6亿靠直播还债的故事经典流传,他曾表示自己带着老婆去签字,足见资本无情。
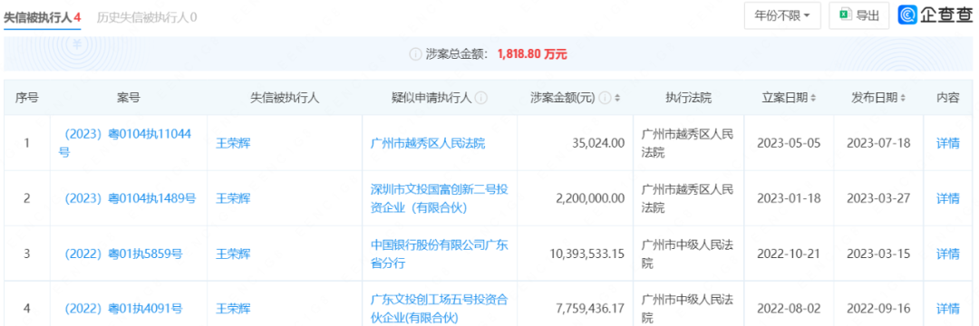
距离托育机构广州纽诺教育科技有限公司(下称“纽诺教育”)向媒体表示破产,已经有一年的时间。“创业者,该死吗?”纽诺教育创始人王荣辉发出的这句直击灵魂的提问,引起了外界众多网友的围观。11月6日 ,王荣辉发表《创业者,该死吗》一文,讲述自己创业失败后背负千万回购债务。不仅如此,她还被执行了限高,医保卡也被投资机构申请执行划扣和冻结;甚至该机构还申请拘留,不过法院并未同意执行。在王荣辉看来,世界上没有一本万利的好事,“你们投资成为纽诺的股东,不知道身为股东的责任吗?和公司共进退,而不是在公司风雨飘摇的时候整死创业者!”
回顾王荣辉的创业史,为了创业,2009年她卖掉一套房子,纽诺教育正是在此背景下诞生。2011年,王荣辉又卖掉一套房,开始继续拓展第二家、第三家早教机构。
2014年,王荣辉还进军在线教育领域,将育儿课程卖到全网第一。项目越做越大的同时 ,王荣 辉开始受到资本的关注。公开信息显示,2017年至2019年期间,纽诺教育先后获得过4轮融资,投资方包括广东文投创工场、安赐资本、毅聪资本等。
然而,幸运之神却没有再次眷顾王荣辉。2020年,突如其来的疫情让王荣辉的事业陷入了至暗时刻,王荣辉和其几十家直营的保育园等来了长达半年的关园停课。
在接下来的时间里,王荣辉和纽诺教育,因托育服务合同纠纷等案由,与退费家长、前高管、合作方发生官司纠纷,2022年11月,王荣辉曾向“红星资本局”表示,纽诺教育正在向法院申请破产。
就这样,王荣辉的12载托育机构梦碎。 根据企查查信息,王荣辉4次被列为失信被执行人,总计涉案金额1818.8万元,其中3次与“文投系”有关,涉案金额约996万元。据王荣辉透露,“文投系”有4只基金投资了纽诺教育。其中,冻结她本人微信、支付宝、医保卡、申请拘留的投资方,都来自“文投国富”。

图源:企查查
王荣辉在上述文章中指出,“在公司遭受疫情打击,面临资金风险时,我已竭尽所能,倾尽所有,做了一切我可以做的努力,把全部身家都搭进去了,既没转移资产,也没私藏余粮,投资机构把所有的责任赖在我身上,搞得我身败名裂,走投无路,意义是什么?”回望投资人与创业者这对鸳鸯,曾经恋爱谈得多甜蜜,现在“离婚”就有多惨烈。
2、投资机构“喊冤”:对赌、回购本意不是逼死创业者
2013年-2015年,在互联网行业爆发的那些年,会做“流量和用户增长”的公司,被投资机构纷纷抛出橄榄枝;2016年-2018年,投资机构的投资策略重点放在,会做“收入增长”的才是好公司;2019年,投资人的视角更倾向于“会做利润增长”的公司。
时至今日,一级投资人都在忙什么?根据“LION投行圈”报道,很多机构已经不对外投资了,都在忙着项目退出,帮项目找资方、忙着转让老股退出或者找S基金接盘,忙着投后管理。
数据,说明一切。根据清科创业旗下清科研究中心数据,2023年前三季度,中国股权投资市场新募基金数量略有 回落 ,募资规模仍保持下降趋势。股权投资市场共计5344只基金完成新一轮募集,数量同比下滑2.1%;募资规模1.35万亿元,同比下降20.2%。
有投资者表示,主要原因是7、8年前,在国内掀起了一波创业高潮,有大量基金投资了多种赛道,现在有一批基金到了退出期,而投资的项目不可能都赚钱,所以今年起回购的情况就会增多。
据了解, 投资一个项目少则几十万,多则千万级别。一般情况下,投资机构与创业者在投前签署回购协议,属于“必选项”。 作为投资方,投出去的资金,目的是希望对方合理利用资金,而回购协议的存在意义,除了激励创业者,还包括促进创业者推动项目发展、以及对创业者的约束。有业内人士表示,不同投资机构与创业者签署的回购协议利息可能有所不同,当基金到期,投资人需要本金+利息回购。也有项目不会与创业者签回购协议,但这种情况相对较少。 如果项目失败被投资者起诉,一切都按照法律来。 而双方最终对簿公堂,站在投资人角度,也有不同的看法。
回到“起诉回购”本身,一名投资人向“三言财经”表示,GP(普通合伙人)也不愿意采用起诉回购的方式退出,但GP为要出资方LP(有限合伙人)负责,而通过法律手段起诉是“最体面”的退出方式。所以,“不应把失败的创业者成老赖的锅完全扣给投资机构。一个项目投资资金越大,起诉的成本就越高”。
张洁认为,这两年创投市场整体情况不好,被投资机构起诉的公司可能越来越多。
一位沪上VC合伙人认为,创业者不能一点都不承担创业失败的风险与成本。项目投坏了,机构肯定要承担损失,但不能全让投资人买单,否则市场就无法循环。
对于创业者失败被“逼成”老赖,投资人则持有不同观点。
“失败的创业者,在被投资机构起诉时,往往还背负着很多其他债务。比如拖欠供应商货款之类,即使投资机构不起诉,他们也会因此成为‘老赖’。这位投资人对“三言财经”表示。
很多投资者对媒体表示,投资周期一般10年,但3年疫情,加上眼下退出的情况,可能资金退出至少要13年、15年。而上一波投出去的资金没有收回来,下一个周期就很难开启。
面对投资机构对创业者“翻脸”,要求创业者掏钱回购,创业者该如何应对?
北京一家曾经拿过投资、现在也面临投资机构要求回购的老板表示,首先,业绩不及预期能否要求股东回购,以及回购能否成功,还是要看之前的投资协议的具体条款约定,而触发回购的条款可能很多,比如业绩不及预期,或者管理团队重大工作失误等。
他还表示,风险投资的初始逻辑,是风险共担利益共享,但在落地执行层面,可能会因为投资协议条款的具体约定,出现投资人将一些风险转移给创始人或者企业的情况,比如回购条款、对赌条款等,即便最终通过司法对簿公堂,法院也还是基于法律和投资协议进行判定,所以,还是要回归到投资协议如何签订上。
一位投资人在社交平台晒出的融资协议,也可谓是花样百出。这则融资协议约定,在未经报备且未得到本轮投资方书面同意的情况下,若企业实际控制人参加潜水、滑雪、跳伞、攀岩、探险、赛马、赛车、搏击、跑酷、蹦极、其他极限运动等高风险运动的,投资方有权发出书面的份额赎回通知,即要求公司实际控制人回购投资方持有的全部或部分公司股权。
一位企业创始人感慨,这意味着企业创始人若签订这份融资协议,上述活动就不能再参与了。
3、“白天”不懂“夜”的黑
在极具时尚和经济活力的上海,也是资金雄厚LP的聚集地,而上海的LP出手同样在谨慎放缓。
据执中数据不完全统计,2023年前9月,上海披露出资LP共计566家,同比下降16%,出资事件682起,同比下降24%;投资基金461只,同比下降27%;覆盖投资机构249家,同比下降33%。
创业公司因无法完成对赌、被投资人告上法庭的情况不在少数。发生这一现象的根源是什么?对赌,是一种估值调整机制,是指投资方与融资方在达成股权性融资协议时,为解决交易双方对目标公司未来发展的不确定性、信息不对称以及代理成本而设计的包含了金钱补 偿、股权补偿等对目标公司估值进行调整的交易安排。
深圳北山常成基金投研院执行院长 王兆江表示,创业者被投资机构告上法庭,这一现象的根源是,投资机构希望把投资风险概率降到最低的动机使然。 当然,也有恶意对赌,比如意图打压创业者公司的估值,达到低收购股权的目的。双方法庭相见,主要取决于创业公司和投资机构在协议签订前的充分沟通与协商,创业公司须充分认识实现业绩的能力、风险等因素,而投资公司也需要作同样考量。一般情况下,双方会约定“里程碑事件”作为回购或者业绩补偿的触发条件。而投融资双方的分歧往往来源于事前约定的“里程碑事件”无法达成。
北京周泰律师事务所实习律师王通分析称,“里程碑事件”包括但不限于经营性营业指标,如扣非净利润、净利润、营业额;非经营性业绩指标,比如某种产品的市场占有率、产量、新技术研发时间、IPO等。法院在审理过程中一般会尊重双方约定。
在涉及目标公司作为回购主体时,为平衡投资人、融资人以及标的公司债权人三方利益,《九民纪要》在肯定对赌协议效力的前提下,在履行层面加入了减资、分红等法定程序的规制。在充分尊重商事主体缔约意愿的前提下,通过履行规制保证了合同的履行不损害第三方利益。
香颂资本沈萌称,创业公司作出难以企及的业绩承诺仅仅是为了让自己的估值更高、稀释的股权更少,因此理应为此付出应有的代价。投资机构处于信息不对称的弱势方,基于对创业公司的信任,采用其作出的业绩承诺作为估值基础,那么如果无法完成,投资机构有权采取措施保护自己的利益。而双方如果能够本着彼此合作共赢的立场,而非将自己一方的利益凌驾于对方之上,那么就会尽可能避免任何可能引发利益冲突的结果。
4、没签对赌也逼创业者回购?
也有创业者与投资机构没有签对赌协议,但受市场环境影响导致创业公司业绩不佳,投资机构要求创业者掏钱回购股份。
当投资机构的资金进入公司,后来让创业者个人拿钱回购的方式是否合理?
《民法典》第一百七十六条:“民事主体依照法律规定或者按照当事人约定,履行民事义务,承担民事责任。”如果投融资双方事前没有约定对赌条款或者其他涉及回购的条款,则不可以事后依据对赌条款或者其他条款要求回购。王通称,至于投资者是否可以要求返还投资款,则要结合具体情况和合同约定,看融资方是否有违反其他合同义务。沈萌认为,回购是一项义务,而非一种责任,除非投资协议规定了在某些条件下进行回购,否则创业公司不必履行相关承诺。如果投资机构强行要求回购,那么法律也不会支持其立场。但创业公司在签署投资协议前也应充分理解条款的含义,不要为了获得融资而对潜在风险盲目乐观。
“没有签对赌协议,投资机构要求企业回购股份,合情,但不合理,投资协议也有契约,需按协议执行”。 王兆江表示,不签订对赌协议,确实会存在创业公司缺乏经营绩效的约束,而导致投资失败,而签订对赌协议,则可能促使投机,压制创业企业的长期发展。商场如战场,很多创业者都遇到过失败。
查理.芒格在他99年的人生里,创业生涯穿越了多个经济周期,有的顺利踩中,有的遗憾踏空。因为未能与经济周期同频共振,他撞上了1973年的“黑天鹅”,那一年,查理.芒格51岁,但在54岁,还在重来。可怕的不是断臂求生,而是没有断臂求生的魄力,结局是满盘皆输。毕竟,只有活下去才有翻盘的机会。你身边是否有过被投资机构要求回购股份的朋友,结果如何?评论区聊聊吧。
