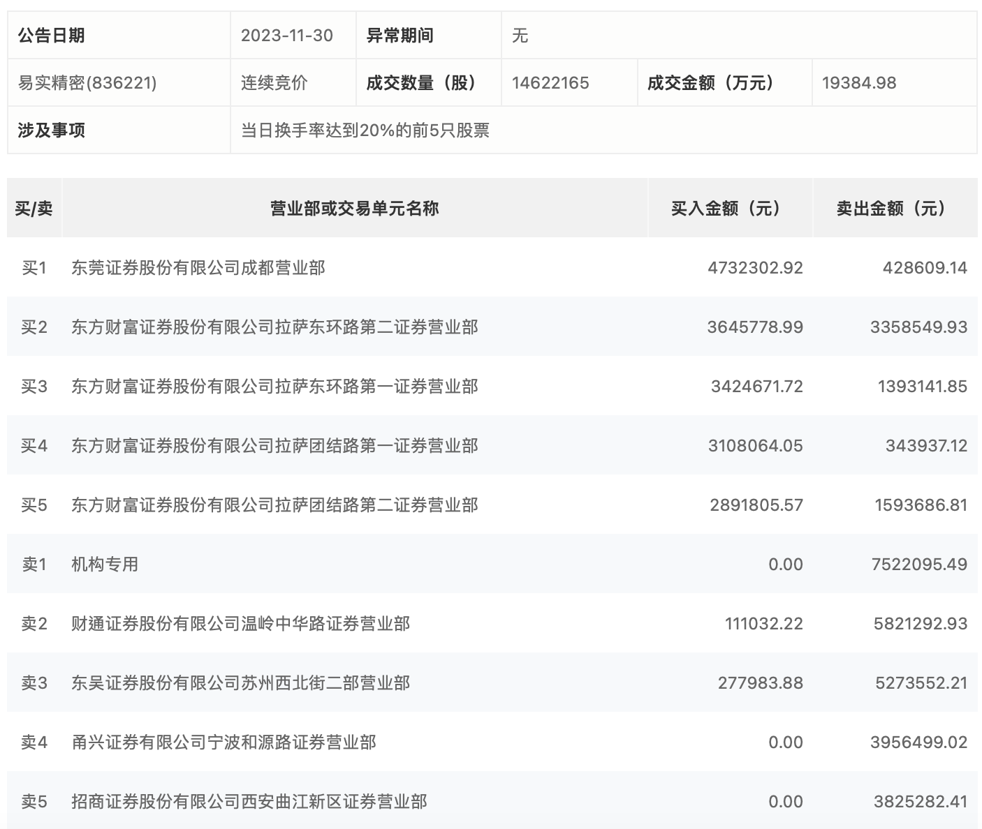
11月30日,易实精密今日跌21.92%,全天换手率达58.07%,振幅达14.1%。龙虎榜数据显示,营业部席位合计净卖出1532.5万元。其中,机构合计净卖出752.21万元。此外,财通证券温岭中华路证券营业部、东吴证券苏州西北街二部营业部分别卖出582.13万元、527.36万元;东莞证券成都营业部、东方财富证券拉萨东环路第二证券营业部分别买入473.23万元、364.58万元。

11月30日,易实精密今日跌21.92%,全天换手率达58.07%,振幅达14.1%。龙虎榜数据显示,营业部席位合计净卖出1532.5万元。其中,机构合计净卖出752.21万元。此外,财通证券温岭中华路证券营业部、东吴证券苏州西北街二部营业部分别卖出582.13万元、527.36万元;东莞证券成都营业部、东方财富证券拉萨东环路第二证券营业部分别买入473.23万元、364.58万元。

广告等商务合作,请点击这里
