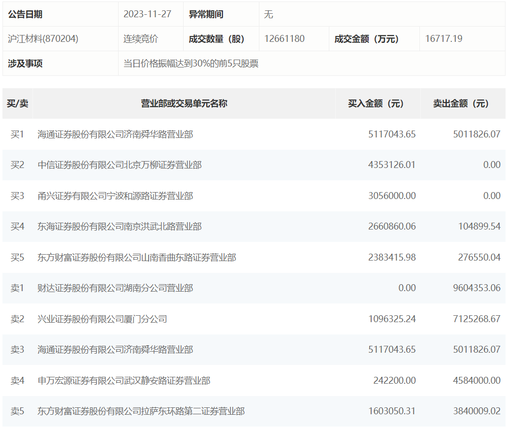
沪江材料11月27日涨29.93%,全天换手率达32.99%,振幅达35.46%。龙虎榜数据显示,营业部席位合计净卖出1003.49万元。其中,海通证券济南舜华路营业部、中信证券北京万柳证券营业部分别买入511.70万元、435.31万元;财达证券湖南分公司营业部、兴业证券厦门分公司分别卖出960.44万元、712.53万元。

沪江材料11月27日涨29.93%,全天换手率达32.99%,振幅达35.46%。龙虎榜数据显示,营业部席位合计净卖出1003.49万元。其中,海通证券济南舜华路营业部、中信证券北京万柳证券营业部分别买入511.70万元、435.31万元;财达证券湖南分公司营业部、兴业证券厦门分公司分别卖出960.44万元、712.53万元。

广告等商务合作,请点击这里
